background image

E1803D All-In-One Scanner Controller

XY2-100, XY2-200,

XY2-100E, XY2-200E,

XY3-100

SL2-100, NX-02, SDP optionally

Users Manual

© 2016-2026 by HALaser Systems GmbH

1

background image

Table of Contents

1  Copyright.........................................................................................................................................................................................................4
2  History..............................................................................................................................................................................................................7
3  Safety................................................................................................................................................................................................................9
4  Overview......................................................................................................................................................................................................10

4.1  Features..............................................................................................................................................................................................10

5  Position Within The System..................................................................................................................................................................11
6  Board And Connectors...........................................................................................................................................................................12

6.1  Ethernet..............................................................................................................................................................................................12

6.1.1  Ethernet Configuration With Windows 10...............................................................................................................13
6.1.2  Ethernet Configuration With Windows 11...............................................................................................................14
6.1.3  Ethernet Configuration With Linux..............................................................................................................................14

6.2  USB.......................................................................................................................................................................................................15
6.3  Power...................................................................................................................................................................................................15
6.4  User LEDs...........................................................................................................................................................................................17
6.5  microSD-Card..................................................................................................................................................................................18

6.5.1  Firmware Update.................................................................................................................................................................28

6.6  Scanner Signals................................................................................................................................................................................29
6.7  Laser Signals......................................................................................................................................................................................31
6.8  Digital Interface...............................................................................................................................................................................33

6.8.1  Marking On-The-Fly Signals............................................................................................................................................34
6.8.2  Opto-Configuration Jumpers..........................................................................................................................................36
6.8.3  Output State LEDs...............................................................................................................................................................36
6.8.4  Input State LEDs...................................................................................................................................................................36

6.9  Serial Interface.................................................................................................................................................................................37
6.10  Extension Connectors................................................................................................................................................................37

7  Stand-Alone Operation...........................................................................................................................................................................38

7.1  Create Stand-Alone Data with BeamConstruct................................................................................................................38
7.2  Stand-Alone Configuration Parameters................................................................................................................................39
7.3  Stand-Alone Control......................................................................................................................................................................41

8  Matrix Laser Dot Marking Mode........................................................................................................................................................43

8.1  Dot Mode Configuration Parameters....................................................................................................................................43
8.2  Dot Mode Hardware Interface.................................................................................................................................................44
8.3  Dot Mode Control..........................................................................................................................................................................45

9  Multi-IO Extension Board.....................................................................................................................................................................46

9.1  Board Connectors..........................................................................................................................................................................46
9.2  Multi-IO Interface..........................................................................................................................................................................46

10  Intelli-IO Extension Board..................................................................................................................................................................48

10.1  Board Connectors........................................................................................................................................................................48
10.2  Intelli-IO Interface in IO mode...............................................................................................................................................48
10.3  Intelli-IO Interface in motion mode.....................................................................................................................................49

11  NX-02 Extension Board.......................................................................................................................................................................50

11.1  Board Connectors........................................................................................................................................................................50
11.2  NX-02 Interface............................................................................................................................................................................50
11.3  Analogue Input Interface..........................................................................................................................................................51

12  SDP Extension Board............................................................................................................................................................................52

12.1  Board Connectors........................................................................................................................................................................52

13  E1803dock Extension Board.............................................................................................................................................................53

13.1  E1803dock MOPA.......................................................................................................................................................................53
13.2  E1803dock YLM...........................................................................................................................................................................56
13.3  E1803dock SPI..............................................................................................................................................................................59

13.3.1  Connector to laser............................................................................................................................................................61

13.4  E1803dock CO

2

/YAG.................................................................................................................................................................62

13.5  E1803dock NCC...........................................................................................................................................................................65

14  E1803base Mounting Kit....................................................................................................................................................................67
15  Quick Start into E1803D.....................................................................................................................................................................68
16  Command Interface...............................................................................................................................................................................69

16.1  General Commands.....................................................................................................................................................................69

2

background image

16.2  Stand-Alone Control Commands..........................................................................................................................................71
16.3  Hardware Commands................................................................................................................................................................78
16.4  Mark Control Commands.........................................................................................................................................................79

17  Supported CNC G-Code Commands..............................................................................................................................................87

17.1  General G-Code Characters....................................................................................................................................................87
17.2  Supported “G”-codes...................................................................................................................................................................88
17.3  Supported “M”-codes..................................................................................................................................................................89
17.4  Supported “T”-codes...................................................................................................................................................................91
17.5  Control Protocol...........................................................................................................................................................................91

18  Programming Interfaces......................................................................................................................................................................93

18.1  E1803D Easy Interface Functions........................................................................................................................................93

18.1.1  General functions..............................................................................................................................................................94
18.1.2  Laser and scanner related functions.......................................................................................................................100
18.1.3  Digital interface functions..........................................................................................................................................114
18.1.4  Serial interface functions............................................................................................................................................117
18.1.5  Intelli-IO extension functions (IO-mode).............................................................................................................119
18.1.6  Intelli-IO extension functions (motion mode).....................................................................................................119
18.1.7  Miscellaneous functions..............................................................................................................................................124
18.1.8  Writing of stand-alone data.......................................................................................................................................125

18.1.8.1  Example.............................................................................................................................................................128

18.1.9  Error Codes.......................................................................................................................................................................129

18.2  RTC4 Compatibility Functions.............................................................................................................................................129
18.3  USC1/2 Compatibility Functions (SCI interface).........................................................................................................133

APPENDIX A – Wiring between E1803D and specific laser types........................................................................................135

Wiring between E1803D and IPG YLP Series Type B, B1 and B2, GZTech YFPN series fiber laser..................135
Wiring between E1803D and JPT YDFLP series fiber laser (“MOPA”) or IPG YLP Series Type D fiber laser or 
Raycus RFL PMX/PQB Series fiber laser....................................................................................................................................136
Wiring between E1803D and IPG YLP Series Type E fiber laser......................................................................................137
Wiring between E1803D and IPG YLP Series Type G fiber laser.....................................................................................138
Wiring between E1803D and IPG YLR Series laser...............................................................................................................139
Wiring between E1803D and IPG YLM Series laser.............................................................................................................140
Wiring between E1803D and MaxPhotonics MFP fiber laser..........................................................................................141
Wiring between E1803D and SPI G4 Pulsed Fibre Laser / TRUMPF TruPulse nano series.................................142
Wiring between E1803D and Raycus fiber laser....................................................................................................................143
Wiring between E1803D and Raycus C500 Series laser.....................................................................................................144
Wiring between E1803 and DAVI D-Series RF CO

2

 Laser..................................................................................................145

Wiring between E1803 and Raycus RFL-C Series 24V Control CW Laser..................................................................146
Wiring between E1803D and GZTECH S355 series DPSS Laser....................................................................................147

APPENDIX B – XY2-100 / XY2-200 protocol description........................................................................................................148
APPENDIX C – XY3-100 protocol description...............................................................................................................................149
APPENDIX D – SL2-100 protocol description...............................................................................................................................150
APPENDIX E – RL3-100 protocol description................................................................................................................................151
APPENDIX F – IDC connector pin numbering................................................................................................................................152
APPENDIX G – Mechanical Dimensions...........................................................................................................................................153

3

background image

1 Copyright

This document is © by HALaser Systems GmbH.

E1803D boards, their hardware and design are copyright / trademark / legal trademark of HALaser Systems 
GmbH.

IPG and others are copyright / trademark / legal trademark of IPG Laser GmbH / IPG Photonics Corporation.

Scanlab, RTC4, RTC5, RTC6, SL2-100 and others are copyright / trademark / legal trademark of Scanlab AG.

SCAPS, USC1, USC2, USC3 and others are copyright / trademark / legal trademark of SCAPS GmbH.

Raylase, SP-ICE, RL3-100 and others are copyright / trademark / legal trademark of Raylase AG.

Rofin, Rofin-Sinar, Visual Laser Marker and others are copyright / trademark / legal trademark of Raylase AG.

Sunny, CSC-USB and others are copyright / trademark / legal trademark of Beijing Century Sunny Technology 
CO., LTD

CTI, Cambridge Technology, Novanta  and others are copyright / trademark / legal trademark of Novanta Inc.

Han’s, Han’s Laser and others are copyright / trademark / legal trademark of Han’s Laser Technology Industry 
Group Co., Ltd.

Newson, SDP, Serial Data Protocol and others are copyright / trademark / legal trademark of Newson NV

All other names / trademarks are copyright / trademark / legal trademark of their respective owners.

Portions of the E1803D firmware are based on lwIP 1.4.0 (or newer):

Copyright (c) 2001, 2002 Swedish Institute of Computer Science.
All rights reserved.
Redistribution and use in source and binary forms, with or without modification, are permitted provided that 
the following conditions are met:

1. Redistributions of source code must retain the above copyright notice, this list of conditions and the 

following disclaimer.

2. Redistributions in binary form must reproduce the above copyright notice, this list of conditions and 

the following disclaimer in the documentation and/or other materials provided with the distribution.

3. The name of the author may not be used to endorse or promote products derived from this software 

without specific prior written permission.

THIS SOFTWARE IS PROVIDED BY THE AUTHOR ``AS IS'' AND ANY EXPRESS OR IMPLIED WARRANTIES, 
INCLUDING, BUT NOT LIMITED TO, THE IMPLIED WARRANTIES OF MERCHANTABILITY AND FITNESS 
FOR A PARTICULAR PURPOSE ARE DISCLAIMED. IN NO EVENT SHALL THE AUTHOR BE LIABLE FOR ANY 
DIRECT, INDIRECT, INCIDENTAL, SPECIAL, EXEMPLARY, OR CONSEQUENTIAL DAMAGES (INCLUDING, 
BUT NOT LIMITED TO, PROCUREMENT
OF SUBSTITUTE GOODS OR SERVICES; LOSS OF USE, DATA, OR PROFITS; OR BUSINESS
INTERRUPTION) HOWEVER CAUSED AND ON ANY THEORY OF LIABILITY, WHETHER IN CONTRACT, 
STRICT LIABILITY, OR TORT (INCLUDING NEGLIGENCE OR OTHERWISE) ARISING IN ANY WAY OUT OF 

THE USE OF THIS SOFTWARE, EVEN IF ADVISED OF THE POSSIBILITY
OF SUCH DAMAGE.

Portions of the E1803D firmware are based on FatFS R0.10a (or newer):

4

background image

FatFs module is an open source software to implement FAT file system to small embedded systems. This is a 
free software and is opened for education,  research and commercial developments under license policy of 
following terms.

Copyright (C) 2014, ChaN, all right reserved.

The FatFs module is a free software and there is NO WARRANTY.

No restriction on use. You can use, modify and redistribute it for personal, non-profit or commercial 
product UNDER YOUR RESPONSIBILITY.

Redistributions of source code must retain the above copyright notice.

Portions of the E1803D firmware are based on StarterWare 2.0 (or newer):

Copyright (C) 2010 Texas Instruments Incorporated – http://www.ti.com/ 

Redistribution and use in source and binary forms, with or without
modification, are permitted provided that the following conditions are met:

Redistributions of source code must retain the above copyright notice, this list of conditions and the 
following disclaimer.

Redistributions in binary form must reproduce the above copyright notice, this list of conditions and 
the following disclaimer in the documentation and/or other materials provided with the distribution.

Neither the name of Texas Instruments Incorporated nor the names of its contributors may be used to 
endorse or promote products derived from this software without specific prior written permission.

THIS SOFTWARE IS PROVIDED BY THE COPYRIGHT HOLDERS AND CONTRIBUTORS "AS IS" AND ANY 
EXPRESS OR IMPLIED WARRANTIES, INCLUDING, BUT NOT LIMITED TO, THE IMPLIED WARRANTIES OF 
MERCHANTABILITY AND FITNESS FOR A PARTICULAR PURPOSE ARE DISCLAIMED. IN NO EVENT SHALL 
THE COPYRIGHT OWNER OR CONTRIBUTORS BE LIABLE FOR ANY DIRECT, INDIRECT, INCIDENTAL, 
SPECIAL, EXEMPLARY, OR CONSEQUENTIAL DAMAGES (INCLUDING, BUT NOT LIMITED TO, 
PROCUREMENT OF SUBSTITUTE GOODS OR SERVICES; LOSS OF USE, DATA, OR PROFITS; OR BUSINESS 
INTERRUPTION) HOWEVER CAUSED AND ON ANY THEORY OF LIABILITY, WHETHER IN CONTRACT, 
STRICT LIABILITY, OR TORT (INCLUDING NEGLIGENCE OR OTHERWISE) ARISING IN ANY WAY OUT OF 
THE USE OF THIS SOFTWARE, EVEN IF ADVISED OF THE POSSIBILITY OF SUCH DAMAGE.

Copyright (c) 2008-2010 Texas Instruments Incorporated. All rights reserved.

Software License Agreement

Texas Instruments (TI) is supplying this software for use solely and exclusively on TI's microcontroller products. 
The software is owned by TI and/or its suppliers, and is protected under applicable copyright laws. You may not 
combine this software with "viral" open-source software in order to form a larger program.

THIS SOFTWARE IS PROVIDED "AS IS" AND WITH ALL FAULTS. NO WARRANTIES, WHETHER EXPRESS, 
IMPLIED OR STATUTORY, INCLUDING, BUT NOT LIMITED TO, IMPLIED WARRANTIES OF 
MERCHANTABILITY AND FITNESS FOR A PARTICULAR PURPOSE APPLY TO THIS SOFTWARE. TI SHALL 
NOT, UNDER ANY CIRCUMSTANCES, BE LIABLE FOR SPECIAL, INCIDENTAL, OR CONSEQUENTIAL 
DAMAGES, FOR ANY REASON WHATSOEVER.

This is part of AM1808 Sitaraware USB Library and reused from revision 6288 of the Stellaris USB Library.

Portions of the E1803D firmware are based on libzint-backend 2.0 (or newer):

libzint - the open source barcode library, Copyright (C) 2008-2017 Robin Stuart <rstuart114@gmail.com>

Redistribution and use in source and binary forms, with or without modification, are permitted provided that 
the following conditions are met:

5

background image

1. Redistributions of source code must retain the above copyright notice, this list of conditions and the 

following disclaimer.

2. Redistributions in binary form must reproduce the above copyright notice, this list of conditions and 

the following disclaimer in the documentation and/or other materials provided with the distribution.

3. Neither the name of the project nor the names of its contributors may be used to endorse or promote 

products derived from this software without specific prior written permission.

THIS SOFTWARE IS PROVIDED BY THE COPYRIGHT HOLDERS AND CONTRIBUTORS "AS IS" AND ANY 
EXPRESS OR IMPLIED WARRANTIES, INCLUDING, BUT NOT LIMITED TO, THE IMPLIED WARRANTIES OF 
MERCHANTABILITY AND FITNESS FOR A PARTICULAR PURPOSE ARE DISCLAIMED.  IN NO EVENT SHALL 
THE COPYRIGHT OWNER OR CONTRIBUTORS BE LIABLE FOR ANY DIRECT, INDIRECT, INCIDENTAL, 
SPECIAL, EXEMPLARY, OR CONSEQUENTIAL DAMAGES (INCLUDING, BUT NOT LIMITED TO, 
PROCUREMENT OF SUBSTITUTE GOODS OR SERVICES; LOSS OF USE, DATA, OR PROFITS; OR BUSINESS 
INTERRUPTION) HOWEVER CAUSED AND ON ANY THEORY OF LIABILITY, WHETHER IN CONTRACT, 
STRICT LIABILITY, OR TORT (INCLUDING NEGLIGENCE OR OTHERWISE) ARISING IN ANY WAY OUT OF 
THE USE OF THIS SOFTWARE, EVEN IF ADVISED OF THE POSSIBILITY OF SUCH DAMAGE.

The Motion Extension firmware bases on motion5 version 1.1 or newer*:

Copyright (c) 2018 Oxygenic, (c) 2012-2016 Sungeun K. Jeon for Gnea Research LLC, Copyright (c) 2009-2011 
Simen Svale Skogsrud

motion5 is free software: you can redistribute it and/or modify it under the terms of the GNU General Public 
License as published by the Free Software Foundation, either version 3 of the License, or (at your option) any 
later version.
motion5 is distributed in the hope that it will be useful, but WITHOUT ANY WARRANTY; without even the 
implied warranty of MERCHANTABILITY or FITNESS FOR A PARTICULAR PURPOSE. See the GNU General 
Public License for more details.

*) GPL notice: the motion extension firmware is running separately and completely independent from the main 
controller firmware, they are neither linked nor compiled together with each other. The related motion5 
sources, as used on motion extension, can be found at https://sourceforge.net/p/axis5/code/ci/master/tree/

6

background image

2 History

Date

Changes in document

02/2026

Description of functions 

E180X_jump_abs_list()

 and 

E180X_mark_abs_list()

 added

12/2025

Description of cxcnc-mode control format added

09/2025

Wiring/configuration description for GZTECH DPSS UV laser added

06/2025

Wiring description for Raycus RFL-C Series 24V controlled CW lasers added

06/2025

Configuration parameter 

cxcnc

 added

06/2025

Command 

cxcnc

 added

06/2025

Added support for G2/G3 G-codes

05/2025

Description of configuration parameters errout and motout added

11/2024

Added PID control loop API function description

10/2024

Specification of SDP Extension Board added

08/2024

Description of pilot laser pin added

07/2024

Description of E1803dock NCC added

06/2024

Description of limitations of dynamic texts clarified

06/2024

Description of parameter “

iothres

” clarified

03/2024

Added parameter and command 

cswaf

03/2024

Description of function 

E180X_uart_write()

 updated

02/2024

Description of A/E-LED updated

10/2023

Configuration parameter 

u0stop

 added

10/2023

Voltage levels of RS232 interface specified more exact

10/2023

Windows 11 Ethernet configuration description added

07/2023

Reference to header files and programming examples added

03/2023

Behaviour of A/E LED clarified

03/2023

Numbering of pins of extension boards clarified

12/2022

Description of 

E180X_stop_execution()

 and 

cvers

 extended

12/2022

Missing description of flags 

E180X_PIXELMODE_

 added

11/2022

Added new function 

E180X_get_pos()

11/2022

Default values of G-Code parameters described

10/2022

Added new stand-alone commands 

cspof

cfror

 and 

cpuor

10/2022

Electrical behaviour of digital IOs clarified

10/2022

New confoguration parameter 

busid

 added

10/2022

Code for d-command “Set Position Offset” corrected

06/2022

New function 

E180X_motion_move_abs_async()

06/2022

New commands 

cslp8

cslgt

 and 

cslmo

 added

05/2022

Description of E1803dock MOPA version 1.2 added

02/2022

Tune-flag added to invert input logic of ExtStart input

02/2022

Tune-flag now also can read hex-values with 0x prefix

02/2022

Added tune-flags to invert LP8 and MO outputs

12/2021

New configuration parameter 

lasergate

11/2021

Configuration parameter 

u0bypass

 added

11/2021

Tune-flag 524288 added

10/2021

Description of 

E180X_set_xy_correction()

 corrected

10/2021

E1803dock pinout description clarified

08/2021

New parameters 

tunereadyout

 and 

tunemarkout

 added

07/2021

Inappropriate language and naming removed (“master”, “slave”, ...)

07/2021

Description of HALdrive mounting possibilities added

07/2021

Added description of 

ctlxy

 command

07/2021

Wiring of JPT/MOPA laser with pulse width serial interface clarified

07/2021

Description of CSV-support in stand-alone mode added

06/2021

Added wiring scheme when no dual power supply is used

04/2021

New “d”-commands 0x18 / delay and 0x19 / Latch added

04/2021

Description of new configuration parameter “eth=2” for Ethernet interface polling added

04/2021

Description of Ethernet configuration updated for Windows 10

7

background image

03/2021

Added function 

E180X_get_serial_number()

01/2021

Added description of new function 

E180X_motion_set_pulsewidth()

12/2020

Added commands “

cgmtx

” and “

csmtx

12/2020

Added new stand-alone function and configuration parameters “

iolatch

” and “

iothres

11/2020

Description of jumper configuration of digital interface extended

10/2020

Pinout of IPG YLM and SPI G4 corrected

08/2020

Description of parameter „tunexy3“ added

06/2020

XY3-100 description and pinout added

04/2020

Added description of 

E180X_set_scanner_mode()

 and introduced 200 kHz output modes

01/2020

Added description of commands „

csbuf

“ and „

cgbuf

01/2020

Added new stand-alone mode „

idxselect

01/2020

Added “

adcfreq

” configuration parameter

11/2019

Usage of digital inputs of Intelli-IO extension clarified

10/2019

Added wiring scheme for MaxPhotonics fiber lasers

10/2019

Example in description of 

pethd

-parameter corrected

07/2019

Extended description of card state flags

07/2019

Added description about how to write stand-alone data via API

05/2019

Numbering of DIn and DOut of second digital port (Intelli-IO extension) corrected

02/2019

Added “

pethd

” configuration parameter

01/2019

Added PID control loop API function description

12/2018

Added “

haltedloopbuffer

” configuration parameter

11/2018

Stepper motor pinout added for Intelli-IO extension

10/2018

Added commands „

cscor

“ and „

cgcor

10/2018

Added “

haltedlooptimeout

” configuration parameter

09/2018

New tune-flag added

09/2018

Added description of Intelli-IO Extension Board and related API functions

05/2018

Added description of Motion Extension Board and motion API functions

04/2018

Description of new parameters “

digiinit

” and “

digimask

” added

04/2018

Description of new tune-flags added

04/2018

Added description of command 

E180X_digi_pulse()

03/2018

Added description of Multi-IO Extension Board

02/2018

New “d”-command 0x45 to update firmware

02/2018

Added description of flag 

E180X_COMMAND_FLAG_ASYNC

01/2018

Added description for 

u0bits

 and 

u0parity

 configuration parameters

12/2017

Added description for matrix-”d”-commands 0x40 and 0x41

10/2017

Added wiring description for IPG YLM lasers

08/2017

Added description for config parameters 

wetout

 and 

mipout

08/2017

Description for 

E180X_set_sync()

/

E180X_get_sync()

 added

07/2017

Description of USB license retrieval clarified

07/2017

TrueType support in stand-alone mode

04/2017

Added description of command 

cscnc

04/2017

Added wiring scheme for IPG YLR lasers

03/2017

Added description of supported G-Code commands

02/2017

Images updated

01/2017

Added wiring scheme for IPG type E lasers with APD index mode

01/2017

Added “

iohaltedloop

” stand-alone mode

12/2016

Description of 

corrtable0

 parameter corrected

12/2016

Initial version

8

background image

3 Safety

The hardware described within this document is designed to control a laser scanner system. Laser radiation 
may effect a person's health or may otherwise cause damage. Prior to installation and operation compliance 
with all relevant safety regulations including additional hardware-controlled safety measures has to be 
secured. The client shall solely be responsible to strictly comply with all applicable and relevant safety 
regulations regarding installation and operation of the system at any time.

Beside of that some laser equipment can be damaged in case it is controlled with wrong signals or signals 
outside a given specification. Thus it is highly recommended to check the output generated by this hardware 
using e.g. an oscilloscope to avoid problems caused by wrong configurations. This should be done prior to 
putting a system into operation for the first time, whenever some parameters have been changed or whenever 
any kind of software update was installed.

The hardware described here is shipped without any cover and without prefabricated equipment for electric 
installation. It is intended to be integrated in machines or other equipment. It is not a device for use "as is", but a 
component which is intended to be used as part of a larger device, e.g. for integration in a machine with own 
housing or within an electrical cabinet. Prior to operation compliance with all relevant electric / 
electromagnetic safety regulations including additional hardware-controlled safety measures has to be 
secured. The client shall solely be responsible to strictly comply with all applicable and relevant regulations 
regarding installation and operation of the system at any time.

The hardware described here is an electrostatic sensitive device. This means it can be damaged by common 
static charges which build up on people, tools and other non-conductors or semiconductors. To avoid such a 
damage, it has to be handled with care and including all relevant procedures (like proper grounding of people 
handling the hardware, shielding/covering to not to let a person touch the hardware unwanted, proper 
packaging in ESD-bags, ...). For more information please refer to related regulations and standards regarding 
handling of ESD devices. The EMC Directive (2014/30/EU) does not apply to this hardware as it is not intended 
for an end user (a person without knowledge of EMC) and as it is not otherwise made available on the market.

The Low Voltage Directive (2014/35/EU) does not apply to this hardware as the voltage supply is below the 
50V AC / 75V DC limit.

This control board is considered partly completed machinery in accordance with the EU Machinery Directive 
(2006/42/EC). It cannot operate independently and is intended to be integrated into a larger machine or 
system. The final integrator is responsible for ensuring that the complete machine or system complies with all 
applicable safety and regulatory requirements in the intended market (such as CE- certification).

This document describes the E1803D-hardware but may contain errors and/or may be changed without further 
notice.

9

background image

4 Overview

This document describes the E1803D compact scanner controller board, its electrical characteristics and 
usage.

The E1803D scanner controller board is designed for controlling galvanometric scanner systems with two or 
three axes. It also supplies extensive signals for laser and external control. The communication between the 
host system and the controller boards is done via Ethernet or USB.

This is an all-in-one controller which provides all interfaces that are required to control common lasers and 
additional hardware. For a modular controller which can be configured according to some special requirements 
please refer to 

https://halaser.systems/E1803.php

.

4.1 Features

The E1803D controller can be used to control 2D or 3D scanheads that come with a XY2-100 interface. It 
offers the following features:

XY2-100 and XY2-100-E interface to scanhead with X, Y and optional Z channel

100 Mbit Ethernet connection

USB 2.0 connection

online XYZ grid correction with support for several correction table file formats (like SCAPS™ .ucf, 
Scanlab™ .ctb and .ct5, Raylase™ .gcd, Rofin™ .fcr, Han’s™ .crt, CTI™ .xml, Sunny™ .txt)

high-definition online XYZ grid correction with BeamConstruct HD correction files (.bco)

switching between up to 16 preloaded grid correction tables

10 microseconds vector cycle time and resolution (microstep period)

command execution time down to 0,5 microseconds

realtime processing of laser and scanner signals

26 bit internal resolution (for better accuracy also with 16 bit or 18 bit hardware output)

512 MByte DDR3 RAM

1 GHz CPU clock

support for microSD and microSDHC cards

optional matrix laser dot marking mode with up to 13 dots, up to two independent lines of text and up 
to 2 MHz dot frequency

internal command and vector data list with more than 20 million entries

continuous list concept, no need to swap between buffers

BeamConstruct PRO license included

open source compatibility library that emulates existing programming interface for fast and easy usage 
with existing software (contains e.g. Scanlab™ RTC4™, SCAPS™ USC™/SCI and other compatible 
interfaces)

LP8 8 bit CMOS level parallel digital output e.g. for controlling laser power or laser waveform type

LP8 latch CMOS level digital output for usage with IPG™ and compatible laser types

Main Oscillator CMOS level digital output for usage with IPG™ and compatible laser types

12 bit 0..10V analogue output e.g. for controlling laser power

two laser CMOS level digital outputs for usage with YAG, CO

2

, IPG™, SPI™ and compatible laser types 

(outputs can provide PWM frequency, Q-Switch, FPK-pulse, CW/continuously running frequency, 
stand-by frequency) running with frequencies of up to 20 MHz

8 freely usable digital outputs providing either CMOS level or electrically insulated outputs via 
external power supply

8 freely usable digital inputs expecting either CMOS level or electrically insulated inputs via external 
power supply

4 digital inputs usable for quadrature encoder signals for 1D and 2D marking on-the-fly applications

RS232/RS485 serial interface for communication with external devices

scanhead power supply via controller card to save additional wiring

10

background image

5 Position Within The System

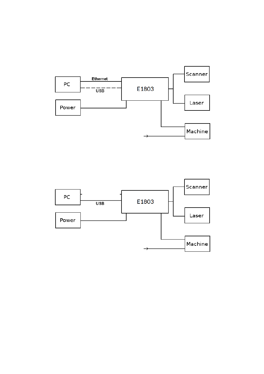
The E1803D scanner controller system can be connected to the host via Ethernet or USB to receive laser 
marking data from BeamConstruct laser marking application or from any other application which makes use of 
one of the provided programming possibilities (as described below). When using Ethernet connection, it 
optionally can be connected via USB too. In this case USB connection is used to retrieve BeamConstruct PRO 
license from the board:

Since 100 Mbit Ethernet provides much faster data transfer than USB 2.0, this connection type is preferred. 
Especially in case complex marking data with many short lines that result in many separate jump and mark 
commands are used, Ethernet connection is more responsive.
When using USB connection with such data, time from sending data to the card until marking operation can be 
started may be longer (up to several seconds in worst case) caused by slower USB data transfer:

In both cases the board itself is connected with the scan head to submit 2D or 3D position information to it. 
Beside of that it is connected to a laser to submit motion-synchronous laser data. Additional communication 
channels between the E1803D scanner controller board and a connected machine can be done via separate IOs 
of the digital interface.

11

background image

6 Board And Connectors

The E1803D Digital Laser Scanner Controller Card provides following connectors and interfaces:

1. Ethernet – for communication with the host system, marking information are submitted via this path
2. USB – via microUSB connector for providing BeamConstruct PRO license to host system and 

optionally for submitting marking data from host to E1803D card (in case Ethernet is not used)

3. Power – connect with power supply
4. User LEDs – show operational and error states of card
5. microSD-card – storage place for firmware and extended configuration file, can be used to upgrade 

firmware, to change the card's IP and other things more

6. Scanner signals – 26 pin and D-SUB25 scanner output connectors which provides XY2-100 scanner 

signals and power to scanhead

7. Laser signals – connector with different signal for controlling a laser and for starting/stopping mark 

operation

8. Digital interface – in- and output connector for control of external devices and for connecting marking 

on-the-fly encoder(s)

9. Serial interface connector for connections to RS232 or RS485 devices
10. Extension connectors
11. Code-pin for correct placement of extension boards

6.1 Ethernet

This is a standard RJ45 Ethernet plug for connection of the board with the host system. When the controller 

board is accessed via this connection, all scanner and laser data are sent via Ethernet. Thus it is recommended 
for security reasons to have a separate machine network that contains the control-PC, the scanner controller 
card(s) and other Ethernet-devices for the machine, but has no physical connection to the “outer world”, means 
no access to the internet.
Ethernet connection is initialised during start-up only, thus Ethernet cable connecting E1803D board and host 
system needs to be plugged before the board is powered up.
By default the E1803D board is using IP 192.168.2.254, thus the Ethernet network the card is connected with 
needs to belong to subnet 192.168.2.0/24.
PLEASE NOTE: For security reasons it is highly recommended to not to mix a standard communication network 
with an E1803D network or to connect the scanner controller card with a standard network. Here it may be 
possible someone else in that network (accidentally) connects to that scanner controller and causes laser 
emission.
The IP of the scanner controller can be changed. This is necessary e.g. in case an other subnet has to be used or 
in case the E1803D board has to be operated in multi-head environments where more than one card will be 

12

background image

accessed at the same time. The IP can be configured using e1803.cfg configuration file that is placed on 
microSD-card. To change the IP, please perform the following steps:

1. disconnect E1803D board from power and USB
2. remove microSD-card
3. put microSD-card into a desktop computer, this may require a microSD- to SD-card-adapter
4. open the drive that is assigned to the card
5. open file e1803.cfg using a text editor like Notepad or kwrite
6. add a line or edit an existing line "

ip0=

", here the desired IP has to be appended (as example: when you 

want to configure IP 192.168.2.13 the line has to be "

ip0=192.168.2.13

" – without any quotation 

signs

7. save the file
8. eject the drive the card is assigned to
9. place the microSD-card in E1803D board (place without the use of force, notice correct orientation 

with connectors of SD-card to top!)

10. power up card

When User LEDs do not light up as described below, please check if microSD-card is placed in board correctly.

6.1.1 Ethernet Configuration With Windows 10

When E1803D scanner controller is accessed via Ethernet, it is recommended to use a separate network for 
security reasons. Since the controller is working with a static IP (default is 192.168.2.254) the Ethernet port on 
host PC has to be configured with an IP of same subnet in order to allow access to it. For Windows 10 (and 
similar) this configuration has to be done using following steps:

1. right-click the network-symbol in your taskbar
2. Select “Open network and internet settings”
3. Select “Ethernet” on the left
4. find the network interface E1803D has to be connected with and select it
5. Click the “Edit” button in section “IP settings”
6. now a window opens where “IPv4” has to be turned on and that has to be configured as follows:

There you can specify an IP for your host PC. It has to belong to network 192.168.2.xxx and can be any 
number except than 192.168.2.254 (this is already the IP of the scanner card), 192.168.2.0 or 
192.168.2.255.

13

background image

6.1.2 Ethernet Configuration With Windows 11

When E1701 scanner controller is accessed via Ethernet, it is recommended to have a separate network for 
security reasons. Since the controller is working with a static IP (default is 192.168.2.254) the Ethernet port on 
host PC has to be configured with an IP of same subnet in order to allow access to it. For Windows 11 (and 
similar) this configuration has to be done using following steps:

1. right-click the network-symbol in your taskbar
2. Select “Network and internet settings”
3. Select “Ethernet” in the opened list
4. find the network interface E1701D has to be connected with and select it
5. Click the “Edit” button right beside “IP assignment”
6. now a window opens where “Edit IP Settings” has to be switched from “Automatic (DHCP)” to “Manual” 
7. next “IPv4” has to be turned on and the remaining parameters in this window have to be configured as 

follows:

There you can specify an IP for your host PC. It has to belong to network 192.168.2.xxx and can be any 
number except than 192.168.2.254 (this is already the IP of the scanner card), 192.168.2.0 or 
192.168.2.255.

6.1.3 Ethernet Configuration With Linux

When E1803D scanner controller is accessed via Ethernet, it is recommended to use a separate network for 
security reasons. Since the controller is working with a static IP (default is 192.168.2.254) the Ethernet port on 
host PC has to be configured with an IP of same subnet in order to allow access to it. For Linux (with 
NetworkManager) this configuration has to be done using following steps:

1. right-click the network-symbol in taskbar
2. click "Edit Connections..."
3. select the "Wired" network interface the scanner card is connected with and press button "Edit"

14

background image

4. go to tab-pane "IPv4 Settings" and configure it as shown below:

There you can specify an IP for your host PC. It has to belong to network 192.168.2.xxx and can be any 
number except than 192.168.2.254 (this is already the IP of the scanner card), 192.168.2.0 or 
192.168.2.255.

6.2 USB

This is a standard microUSB-connector for connection of the board with the host system. It is used to retrieve 
BeamConstruct PRO license and optionally to send marking data to the card. When USB is used for sending all 
scanner and laser data, Ethernet cable does not need to be connected.
PLEASE NOTE: USB 2.0 is much slower than a standard 100 Mbit Ethernet connection, so expect slower 
execution in case of complex marking data!
The required device driver is installed automatically during the installation of the HALsetup software package 
(Windows) or comes with operating system by default (Linux). E1803D card appears as COM-interface on 
Windows using any free number for the port. With Linux it appears as /dev/ttyACMx where "x" is any number. 
These numbers are provided by the operating system automatically.
When no external power supply is connected, USB provides 5V power supply too. So whenever the card has to 
be stopped, both USB and power have to be disconnected in order to shut it down completely. It is not 
recommended to use USB as power supply, additional, external power should be connected in order to operate 
E1803D controller correctly. When E1803D is powered via USB only, not all functions are available. Here 
things like power supply of connected scanhead and 0..10V analogue output signals AOut0 and AOut1 will not 
work.
Depending on the capabilities of the used USB host, there also may be other failures and limitations caused by 

power-brownouts and drop-outs.

When the controller is connected via USB, a BeamConstruct PRO license is provided via this interface 
automatically. This is done without the need to configure anything, and as long as following conditions are true:

physical USB connection from controller to host PC exists

the COM-port (Windows) has a number smaller than COM20

the controller is working and the Alive-LED in blinking

It is also possible to have the USB-connection for license retrieval only and to use the Ethernet-connection to 
transfer marking data to the controller, both can exist beside each other.

6.3 Power

Power supply for E1803D scanner controller board is done via 3 pin screw connector. Here a power in range 
+12..+24V or +-12..+-24V can be connected. This connector powers the board and optionally can be used to 

15

background image

power the scanhead too as this power is routed to the DB25-connector directly and from there can supply the 
scanhead directly (for details please refer to description of XY2-100 / XY3-100 connector below). 

+V GND

-V

Following possibilities to connect power exist:

+V

GND

-V

Supported Features / Remarks

12..24 V connected unused

Power E1803D and analogue outputs AOut0 and AOut1

12..24V connected 12..24V

Power E1803D, analogue outputs AOut0 and AOut1 and scanhead via XY2-
100 / XY3-100 connector, input voltage has to be the same voltage that is 
required to operate the scanhead

12V

connected unused

Mandatory power supply in case the 

SDP Extension Board

 is used (as 

described in section “12 SDP Extension Board” below)

12..24V unused

12..24V

Not allowed!

unused connected 12..24V

Not allowed!

unused unused

unused

Power supply needs to be done via USB, then only E1803D is powered; 
scanhead needs a separate power supply connection and the wires 9..13 and 
22..25 of the D-SUB25 connector 

need to be interrupted between scanhead 

and controller!

other

other

other

Not allowed!

When all three inputs are connected to a bipolar power supply providing +-12..+-24V to power both, the 
controller and a connected scanhead, the input voltage is feed to the scanhead directly via XY2-100 connector. 
Here the voltage has to be equal to the voltage required by the scanhead (typically +-15V or +-24V). Power 
supply needs to provide 1A plus current required for connected scanhead. For more details please refer to 
section about XY2-100 connector below.

When no power supply with symmetric/bipolar outputs is available, it is possible to combine two standard 
power supplies, here GND of the first power supply has to be connected with +V of the second power supply 
and with the GND-screw-connector of E1803D:

ATTENTION: When connecting wires to the screw terminals of the power connector, do not transmit any force 
to the PCB where the green connector is soldered at! While screwing tight the wires, hold the connector by 
hand to catch the force but 

do not hold the PCB only!

ATTENTION: due to the undefined behaviour of some power supplies with high peaks in some specific 
situations, the power to the controller never should be toggled just by pulling and reconnecting a cable which is 

16

background image

on power (hot-swap). Always turn off the power the regular way via the power supplies input/a regular switch. 
Otherwise this can cause serious damage to the controller card or power supply.

6.4 User LEDs

The real operational state of the card is shown by four additional LEDs described here:

1. A/E (Alive/Error) – blue – this LED is turned on permanently (with full brightness) as soon as the card 

was powered up and the firmware boots properly. When it is not turned on with full brightness after 
some seconds, please check if the microSD-card is placed properly and if it contains a working firmware 
file (for details please refer below).
After boot process has completed successfully, it starts blinking slowly and with same on and off times. 
This is an alive-notification, as long as it blinks, the board is working and ready for operation. During 
operations the blink frequency may vary.
When this LED starts blinking with a changed on-time (LED is off for a long time and flashes two or 
three times for a short time only), a fatal error has occurred that normally should never happen. When 
this happens, in some cases the board can't continue with operation until the reason for error is 
removed and the board is restarted.
In case this LED flashes signalling an error-state, please:
- check if you are using valid E1803D extension boards only (and no other 3rd party hardware)
- check if you are using latest firmware and host software
- check all connections and cables
- undo your latest changes in hardware and configuration
If these steps do not help, please contact us for further assistance.

So this LED can signalise four operational states:

1 – Powered on but firmware not yet loaded – turned on permanently but with low brightness
2 – Not ready / booting – turned on permanently with full brightness
3 – Operational – blinking, on and off times are the same

4 – Error – flashing three times, LED is off most of the time and is turned on for a very short time only 
(with some previous firmware version the error is signalled by flashing two times)

Please note: during start-up and when the configuration parameter “eth=2” is set in e1803.cfg, the 
blinking frequency of operational state 2 can be much lower. This is the case as long as the controller 
tries to detect an Ethernet connection. It ends and switches to faster blink frequency as soon as this 

17

background image

detection is timed-out or as soon as a connection via Ethernet or USB is established.

2. MA (Marking Active) – blue – this LED is turned on as long as a marking operation is running. This LED 

does not correspond to the laser gate signal, comparing to it it’s also enabled during jumps when laser is 
turned off but marking operation itself is active.

3. LG (LaserGate) – red – this LED shows modulation state of the laser and signal the state of the laser 

gate output. It is turned on as long as the laser is turned on and the laser gate is high. This LED does 
NOT signal the same like the marking active LED described above since it will be turned off during 
jumps.

4. MO (Main Oscillator) – yellow – this LED is specific to the Main Oscillator output signal described 

below. As long as the signal is on (HIGH-signal at output pin), the LED is turned on.

6.5 microSD-Card

The microSD-card is storage place for firmware and configuration files. Here SD and SDHC cards with a 
capacity of up to 32 GB are supported. It is plugged with the contacts of the SD-card oriented to upper side.

To remove the microSD-card, first disconnect all power from the E1803D board completely (including USB). 
Next press microSD-card gently into the board until you can hear a click-noise. Then you can pull it out of the 
board. To place a microSD card, the same has to be done in reverse order: place it into the E1803D board’s card 
slot and press it gently until a noise signals locking of the card. Now the board can be powered.
E1803D board is shipped with a card containing firmware and configuration files:

e1803.fwi – firmware file that is used to operate the board, to be replaced when a firmware update is 
provided;

e1803.cfg – configuration text file, can be edited using a text editor in order to modify cards 
configuration

e1803.dat – additional data file that is used to operate the board, to be replaced when a firmware 
update is provided

fonts/ – subdirectory containing fonts for dot marker mode

To use an other microSD card than the one shipped with the board, following conditions have to be met:

maximum total size of 32 GB (SD or SDHC card)

FAT32 formatted

using only one partition

BOOT-flag is set

e1803.fwi and e1803.dat file available on card (e1803.cfg is optional)

An additional file e1803.cfg can be placed on the card too. It contains plain ASCII text, acts as configuration file 
and can contain several parameters and its values which are separated by an equal-sign. Every of the possible 
parameter/value pairs has to be located in an own line. Following configuration parameters are possible within 
this file:

18

background image

Parameter

Description

Example

adcfreq

Specifies the ADC (analogue digital converter) sampling 
frequency. With this value the update rate of the analogue 
input (requires an extension board) can be modified. The 
higher this value is, the more fast changes of the analogue 
input value can be detected. On too big values the analogue 
sampling may affect the timing accuracy of the output, thus 
this value should be kept as low as possible. The default value 
is 5000, the possible range is from 1000 to 3000000.
This parameter requires a firmware version 8 or newer.

adcfreq=10000

set a sampling frequency of 

10000 Hz

corrtable0

Specifies a correction table file in .bco, .ctb, .ct5, .ucf, .gcd, .xml 
.crt or .txt format to be loaded on start-up. When this 
parameter is set, the specified correction table is used 
exclusively and all correction data possibly sent from the host 
are ignored. The correction file itself has to be located on 
microSD-card too. When the Error-LED is turned on after a 
correction table file was configured, E1803D board was not 
able to load it for some reason.

corrtable0=0:/

D2_200.ctb

use file D2_200.ctb as 
correction file and ignore all 
correction tables possibly 
sent from host application

corrtable<i
dx>

Specifies one of up to 16 correction table file in .bco, .ctb, .ct5, 
.ucf, .gcd, .xml .crt or .txt format to be loaded on start-up. 
When this parameter is set, the specified correction table is 
used exclusively and all correction data possibly sent from the 
host are ignored. The correction file itself has to be located on 
microSD-card too.
This method has also to be used when running the controller 
in stand-alone mode with .EPR files that require such a 
correction.
When the Error-LED is turned on after a correction table file 
was configured, E1803 baseboard was not able to load it for 
some reason.

<idx>

 can be any value in range 0..15 and specifies the 

storage location index of the correction file to be loaded. 
Later the related correction file can be used via command 

cscor

.

When 

<idx>

 has to be set to values greater than 0, a 

firmware version 6 or newer is needed.

corrtable7=0:/200_200

.bco

use file 200_200.bco as 
correction file at index 
position 7 and ignore all 
correction tables possibly 
sent from host application

ip0

Configures IP of Ethernet port. Here only IPs in 
xxx.xxx.xxx.xxx notation are allowed but no host or domain 
names.

ip0=192.168.2.100

specifies IP 192.168.2.100 to 
be used for Ethernet interface 
on next startup

passwd

Specifies an access password that is checked when card is 
controlled via Ethernet connection. This password 
corresponds to password specified with function 

E180X_set_password()

, please refer below for a detailed 

description.
When a client computer connects to the card without sending 
the correct password, Ethernet connection to this host is 
closed immediately.
PLEASE NOTE: this password does not replace any network 
security mechanisms and does not give the possibility to 
operate E1803D controller via insecure networks or 
Internet! It is transferred unencrypted and therefore can be 
"hacked" easily. Intention of this password is to avoid 
collisions between several E1803D cards that operate in 
same network and are accessed by several software 
instances.
Maximum allowed length of the password is 48 characters. It 
is recommended to not to use any language-specific 
characters.

passwd=myCardPwd

set a password "myCardPwd"

19

background image

Parameter

Description

Example

standalone

This command can be used to disable or enable a specific 
stand-alone operation mode. For a detailed description of 
possible parameters, operation modes and usage please refer 
related section below.

iolatch

When using one of the digital-input-controlled stand-alone 
modes, this option can be used to latch the digital states in via 
DIn7. For details please refer to section “7 Stand-Alone 
Operation” below

iolatch=1

enable the latch-function via 

DIn7

iothres

In stand-alone mode there are two conditions that cause a 

loaded EPR file to be ready: it is fully loaded into the 
secondary, marking buffer or a minimum amount of data is 
available in secondary buffer.
Something similar is true for host-controlled operating mode: 
here marking starts when 

E180X_execute()

 is called or 

when a minimum amount of data has been transmitted to the 
controller.
That minimum amount of marking data can be modified with 
the parameter “iothres”. The smaller this value is, the faster 
marking will start, but in this case it also may happen there 
are not enough data available so that interruptions occur 
during marking. So a balance between speed and a secure, 
non-interrupted marking process need to be found when this 
value is modified.

By default “iothres” is 80000 which should fit to most 
applications, the maximum allowed value is 280000 and it 
should not become smaller than 10000

Iothres=120000

Set the threshold for 

availability of the stand-alone 

marking data to 120000

haltedloopt
imeout

This parameter is used in stand-alone modes “haltedloop” and 
“iohaltedloop” (please refer to section “7 Stand-Alone 
Operation” for detailed information). It defi
nes a timeout for 
the laser in unit seconds. If the current operation is active for 
a longer time, the laser is turned off. It then can be turned on 
only by toggling the enable-input (ExtStart) again.
This parameter requires firmware version 6 or newer.

haltedlooptimeout=5

sets the laser timeout to 5 

seconds

haltedloop
buffer

This parameter is used in stand-alone modes “haltedloop” and 
“iohaltedloop” (please refer to section “7 Stand-Alone 
Operation” for detailed information). It defi
nes a maximum 
buffer size for the marking data. The buffer size should have a 
size of 20000000 at max. The minimum size depends on the 
specific application, in fact, when it is set to some too small 
values, drop-outs in marking operation may occur.
Data which are already buffered in this marking mode can't 
be modified any longer. So any change on marking speed, 
laser power or similar (done e.g. by commands “

cjsor

”, 

cmsor

” or “

cpwor

”) will apply only to data which are not yet 

buffered. And as bigger as this buffer is, as longer it takes 
until the first new data after change of any of these 
parameters can be emitted.
This parameter requires firmware version 5 or newer.

haltedloopbuffer=1000

00

set the buffer to a maximum 

size of 100000 commands 
which is similar to data for 

about 1 second marking time

20

background image

Parameter

Description

Example

autofile

Loads a special .EPR stand-alone file or .CNC G-Code file from 
SD-card in some specific stand-alone modes. For a detailed 
description of possible parameters, operation modes and 
usage please refer related section below. For a description of 
supported G-Code commands, please check out related 
section “17 Supported CNC G-Code Commands

autofile=0:/
markdata.epr

loads a file markdata.epr from 

disk; here 0:/ specifies the SD-

card to be used. The .EPR-file 

itself can be generated within 

BeamConstruct out of a 

normal .BEAMP project file

autofile=0:/
markdata.cnc

same as above but a G-Code 

file is provided which contains 

marking information

iobuff

Pre-loads one or more .EPR files to the RAM of the controller 
to allow faster switching in “ioselect” or “idxselect” stand-
alone mode. This command can not be used to load file 
“0.EPR”

iobuff=1
iobuff=3

pre-load files 1.EPR and 

3.EPR on board start-up

mipout

Configure a Digi I/O output pin to be used as “mark in 
progress”-signal by default; here an output bit number in 
range 0..7 has to be configured which will be set to HIGH as 
long as a marking operation is in progress, the value given 
here can be overwritten by API-function 

E180X_digi_set_mip_output()

;

this parameter requires firmware version 3 or newer

mipout=1

use DOut1 for mark-in-

progress signal

wetout

Configure a Digi I/O output pin to be used as “wait for 
external trigger”-signal by default; here an output bit number 
in range 0..7 has to be configured which will be set to HIGH as 
long as a marking operation is in progress and the controller 
is waiting for an external trigger signal to arrive at ExtStart 
input, the value given here can be overwritten by API-
function 

E180X_digi_set_wet_output()

;

this parameter requires firmware version 3 or newer

wetout=0

use DOut0 for mark-in-

progress signal

errout

Configure a Digi I/O output pin to be used as “error”-signal by 
default; here an output bit number in range 0..7 has to be 
configured which will be set to HIGH as soon as a fatal error 
occurs that can’t be recovered by the scanner card and that 
sets the A/E-LED into a state where it blinks three times fast;
once this output is set, it can be reset only by rebooting the 
controller card;
this parameter requires firmware version 20 or newer

errout=2

use DOut2 for the error 

output signal

motout

Configure a Digi I/O output pin to be used as “motion in 
progress”-signal by default; here an output bit number in 
range 0..7 has to be configured which will be set to HIGH as 
long as a motion axis of the optional Intelli-IO extension (see 
10 Intelli-IO Extension Board”) board is moving;
this parameter requires firmware version 20 or newer

motout=3

use DOut3 for the motion 

active output signal

digiinit

Initialises the digital outputs on firmware start-up with the 
given defaults. This overrides the hardware defaults. The 
default digital values set here are NOT available on power up 
but a few seconds later after firmware has been loaded and 
started.
This function requires firmware version 5 or newer.

digiinit=2

set DOut1 to HIGH initially 

and all other outputs to LOW

21

background image

Parameter

Description

Example

digimask

Masks the digital inputs and specifies which inputs can be 
read. All input bits which are ignored by this command by 
setting the related value to 0, are no longer read. This may be 
useful for applications where encoder inputs are used 
together with a “ioselect” stand-alone operation and where 
the random state of the encoder has to be masked out.
This function requires firmware version 5 or newer.

digimask=253

use only DIn2..DIn7 as input 

and ignore DIn0 and DIn1

digidebc

Sets a debouncing time / filter time for the digital inputs of 
the digital interface in order to not to let the inputs react on 

noise or bouncing of mechanical inputs. The debouncing 
value is given in time-units where every time-unit is equal to 
31 usec. By default 7 time-units are set.

digidebc=10

set the debounce-time to 310 

usec

lasergate

By default, the laser on/off information is provided via the 
LaserGate output and with CMOS logic voltage level. With 
this parameter, a digital output of the digital interface can be 
specified to provide the laser gate signal in parallel.
Please refer to “6.8 Digital Interface” for further details about 
the digital interface.
This configuration parameter requires firmware version 14 or 
newer

lasergate=3

Use DOut3 to provide the 

laser gate signal

u0brate

Set the bitrate of UART0 RS485/RS232 serial interface on 
E1803D. By default this port is initialised with a speed of 
115200 bps, this value can be changed with this parameter. 
Setting an u0brate of 0 disables the serial port completely

u0brate=9600

set a new bitrate of 9600 bps 

for UART0 E1803D on-board 

serial port

u0bits

Set the number of data bits of UART0 RS485/RS232 serial 
interface on E1803D. By default this port is initialised with 8 
data bits, this value can be changed to a word length of 5, 6, or 
7 bits with this parameter.
This parameter requires firmware version 4 or newer.

u0bits=7

set a new word length of 7 

bits for UART0 E1803D on-

board serial port

u0parity

Set the parity of UART0 RS485/RS232 serial interface on 
E1803D. By default this port is initialised no parity (=0). For 
odd parity a value of 1 has to be set, for even parity a value of 
2 has to be used.
This parameter requires firmware version 4 or newer.

u0parity=2

enable even parity for UART0 

E1803D on-board serial port

u0stop

Configures the number of stop-bits used within a single 
UART0 serial frame:

when this parameter is not set or when it is set to 1, 
each frame ends with one stop bit

when this parameter is set to 2 and when u0bits 
configures 5 data bits, each frame ends with 1.5 stop 
bits

when this parameter is set to 2 and when u0bits 
configures, 6, 7 or 8 data bits, each frame ends with 2 
stop bits

This parameter requires a firmware version 17 or newer.

u0stop=1

each frame ends with 1 stop 

bit

u0bypass

Bypasses the on-board serial port to a specific function, here 
following values are possible:
0 – no bypassing, the serial port can be used out of the contro 
ldata stream as usual
1 – use as control interface, when set to this value, the on-
board serial port 0 accepts the same commands and data as 
the Telnet Ethernet interface and the USB serial port
This parameter requires firmware version 14 or newer.

u0bypass=1

allow control communication 

with E1803D via serial port

22

background image

Parameter

Description

Example

u1brate

Set the bitrate of UART1 RS485/RS232 serial interface on 
E1803D Multi-IO Extension Board (deprecated). By default 
this port is disabled and has to be activated by setting a 
bitrate.
This parameter exists in firmware versions 4 to 13 and 
requires a Multi-IO Extension Board.

u1brate=115200

set a new bitrate of 115200 

bps for UART1 serial port

u1bits

Set the number of data bits of UART1 RS485/RS232 serial 
interface on E1803D Multi-IO Extension Board (deprecated). 
By default this port is initialised with 8 data bits, this value 

can be changed to a word length of 5, 6, or 7 bits with this 
parameter.
This parameter exists in firmware versions 4 to 13 and 
requires a Multi-IO Extension Board.

u1bits=7

set a new word length of 7 

bits for UART1 serial port

u1parity

Set the parity of UART1 RS485/RS232 serial interface on 
E1803D Multi-IO Extension Board (deprecated). By default 
this port is initialised no parity (=0). For odd parity a value of 
1 has to be set, for even parity a value of 2 has to be used.
This parameter exists in firmware versions 4 to 13 and 
requires a Multi-IO Extension Board.

u1parity=1

enable odd parity for E1803D 

on-board serial port

busid

This command requires the parameter u0bypass set to 1: 
with the busid it is possible to connect several E1803D 
controller cards via RS285 serial interface in bus topology. 
The identifier in range 0..99 given with this command then 
can be used as identifier prior to every c- or d-command in 
order to let the correct controller card react on a command.
With the busid set, echoing (command “

cecho

”) is turned off 

automatically for the serial interface.
This parameter requires firmware version 16 or higher.

busid=9

Specifies the ID 9 for the 

controller card. With this ID 

set, all d- and c-commands 

have to be preceded by a 

string “b09” to let the 

controller react on them

tunereadyo
ut

In stand-alone modes, the ready-state of a loaded stand-
alone project is signalled via DOut0 by default (please refer 
to section “7.3 Stand-Alone Control” for further details). 
Using this parameter, the used output can be changed. Here 
following values can be given:

0 – DOut0 (default)

1 – LaserA (has to be configured as GPO via the 
related tune-flag)

2 – LaserB (has to be configured as GPO via the 
related tune-flag)

This parameter requires firmware version 13 or newer.

tunereadyout=1

use LaserA to signal state 

“ready” in stand-alone mode

tunemarko
ut

In stand-alone modes, the ready-state of a loaded stand-
alone project is signalled via DOut1 by default (please refer 
to section “7.3 Stand-Alone Control” for further details). 
Using this parameter, the used output can be changed. Here 
following values can be given:

0 – DOut1 (default)

1 – LaserA (has to be configured as GPO via the 
related tune-flag)

2 – LaserB (has to be configured as GPO via the 
related tune-flag)

This parameter requires firmware version 13 or newer.

tunemarkout=2

use LaserB to signal state 

“ready” in stand-alone mode

tune

Enables special functions and features that are not activated 
by default. As parameter a number can be handed over that 
specifies the functions to be enabled. Starting with firmware 
version 14 the number can also be specified as hexadecimal 
value when it is prefixed with “0x”. Several of these functions 
can be combined by adding their related numbers:

1 (0x01) – use DIn7 of digital interface connector as external 

tune=1

disables ExtStart input and 

switches over external trigger 

function to DIn7 input

tune=0x1000

operate the scanner output in 

XY2-100E mode

23

background image

Parameter

Description

Example

trigger, this disables ExtStart input on laser signal connector

2 (0x02) – use additional marking encoder inputs on DIn2 and 
DIn3 for 2D marking on-the-fly operations

4 (0x04) – enable storage of serial number count values to 
microSD card; this option is useful in case of stand-alone 
operation mode when dynamic data with serial number 
counting is used. When it is set, the current count value of all 

used serial numbers is stored and reloaded on next power up. 
Thus their values are not get lost when power was turned off. 
The values are stored in a file with the same name like the 
"autofile" or the currently loaded .epr file but with extension 
".ser".
ATTENTION: The file is saved on the FatFS formatted 
microSD card. FatFS is NOT fault-proof, means it can be 
corrupted when power is turned off during writing. So when 
this option is enabled, user has to ensure power is NOT 
turned of while the card writes to disk. Writing of serial 
number states is always done in case they have changed, then 
it is started when Alive/Error LED of E1803D board is 
switched off. Write operation is finished when this LED is 
turned back on the next time. So to ensure data are written 
successfully, it is recommended to let this LED blink two 
times after last mark operation has been finished or to wait 
for about 4 seconds.
ATTENTION: due to this limitation it is not recommended to 
work with this option but to save the state of the serial 
numbers by sending ASCII command "

cssta

" instead (please 

refer below for details)!

8 (0x08) – invert LaserGate output to work as active HIGH 
signal; when this option is set, logic of LaserGate-LED 
changes too, it is on as long as laser is turned off and it is off as 
long as laser is on 

16 (0x10) – invert LaserA output to work as active HIGH 
signal 

32 (0x20) – invert LaserB output to work as active HIGH 
signal 

64 (0x40) – use LaserA output as GPO (general purpose 
output pin); when this flag is set, LaserA output is no longer 
able to emit a frequency but can be used as digital output pin; 
when this value is set, a tune-value of 16 (invert LaserA) is 
ignored. This flag has to be set e.g. when LaserA has to be 
used together with 

tunereadyout

 or 

tunemarkout

 

parameter.

128 (0x80) – use LaserB output as GPO (general purpose 
output pin); when this flag is set, LaserB output is no longer 
able to emit a FPK pulse but can be used as digital output pin; 
when this value is set, a tune-value of 32 (invert LaserB) is 
ignored.. This flag has to be set e.g. when LaserB has to be 
used together with 

tunereadyout

 or 

tunemarkout

 

parameter.

4096 (0x1000) – operate in enhanced XY2-100 18 bit mode; 

24

background image

Parameter

Description

Example

when this value is added to the tune-parameter, the 
controller outputs more accurate 18 bit position data instead 
of the standard 16 bit values in normal operation mode; this 
mode needs to be supported by the connected scanhead, 
elsewhere the results are unpredictable.

8192 (0x2000) – operate in XY3-100 mode with extended 
resolution; when this value is added to the tune-parameter, 
the controller outputs more accurate position data instead of 

the standard 16 or 18 bit values in normal operation mode; 
this mode needs to be supported by the connected scanhead, 
elsewhere the results are unpredictable.

32768 (0x8000) – invert the mark-in-progress signal 
(requires firmware version 5 or newer)

65536 (0x10000) – invert the wait-external-trigger signal 
(requires firmware version 5 or newer)

524288 (0x80000) – inverts the logic of the ExtStop input; by 
default, the stop-input is LOW and has to be set to HIGH in 
order to stop a running operation. When this flag is set, this is 
inverted, ExtStop has to kept HIGH for normal operation and 
a stop is performed as soon as it goes to LOW.
This flag requires firmware version 14 or newer.

4194304 (0x400000) – invert the LP8 signal of laser 
interface (requires firmware version 14 or newer)

8388608 (0x800000) – invert the MO (main oscillator) signal  
of laser interface (requires firmware version 14 or newer)

16777216  (0x1000000) – inverts the logic of the ExtStart 
input. By default, the start-input reacts on a rising edge. 
When this flag is set, this is inverted and a falling edge is 
expected to release an external trigger. This also has an effect 
on the behaviour of tune-flag 0x2000000, it is inverted too.
This flag requires firmware version 14 or newer.

25

background image

Parameter

Description

Example

tunexy3

Enables special functions and features related to the XY3-
100 scanner interface. The parameters set with this function 
are set only when the XY3-100 data protocol is used. They 
are submitted after enabling the XY3-100 mode and prior to 
first transmission of position data to the connected scanhead. 
When the connected scanhead does not support the related 
functions, they will not have any effect
This parameter requires a firmware version 38 or newer.

As parameter a number can be handed over that specifies the 
functions to be used. Several of these functions can be 
combined by OR-concatenating their related numbers:

1 – turn auto-calibration function on (can’t be combined with 
flag value 2)

2 – turn auto-calibration function off (can’t be combined with 
flag value 1)

4 – turn dynamic temperature compensation on (can’t be 
combined with flag value 8)

8 – turn dynamic temperature compensation off (can’t be 
combined with flag value 4)

tunexy3=5

Turns on the auto calibration 

and dynamic temperature 

compensation of a scanhead

sntp0

Allows to specify the IP of an SNTP time server. This option 
can be used in case of Ethernet usage to synchronise 
controller with an external time source. E1803D tries to 
connect to this server after initialisation of Ethernet interface 
and – if not successful – a few more times. These additional 
connection attempts are done whenever the Alive/Error-LED 
is switched on.
ATTENTION: when this function has to be used, the network 
or host-computer the controller is connected with needs to 
be able to route this request. This is a potentially dangerous 
operation because a connection between encapsulated 
machine network and open and dangerous Internet has to be 
established. Since this is NOT RECOMMENDED in general, 
this option should be used ONLY when it is 100% sure there is 
no possibility for people from outside to intrude the machine 
network! Instead of that is is recommended to set system 
time manually using host-computer and ASCII command 
"cstime" (please refer below). Alternatively it is also possible 
to contact an own, network-internal NTP-server.
When this option is used, the gateway and netmask have to 
be configured for the controllers Ethernet interface

sntp0=83.170.1.42

 – IP 

of time server at 

3.de.pool.ntp.org is used for 

SNTP time retrieval (not 
recommended since this 
requires a connection to 

potentially dangerous 

Internet!)

sntp0offset This value corresponds to sntp0 parameter above, it is used 

when system time is retrieved from an external time server to 
set an offset to the time returned from this server. The offset 
has to be specified in unit seconds.

sntp0offset=-3600

 – 

specifies an offset of minus 

one hour to the time returned 

from time-server. So when 

the time server would return 

a current time of 11:42:17, 

the system time of the 

controller would be set to 

10:42:17 with this value

gw0

Specifies a gateway-address for the scanner controllers 
Ethernet interface. This option belongs to parameter "ip0" 
and has to be set in case "sntp0" is used.

gw0=192.168.2.1

 – use 

192.168.2.1 as gateway

26

background image

Parameter

Description

Example

nm0

Specifies the netmask for the scanner controllers Ethernet 
interface. This option belongs to parameter "ip0" and has to 
be set in case "sntp0" is used.

nm0=255.255.255.0

 – use 

upper 24 bits of current IP for 

netmask

node0

Specifies the IP of an external HALnode Compact Ethernet IO 
module to be used for additional 8 digital in- and outputs 
(lower 8 bits of an additional 16-bit IO port). Once 
configured, the HALnode’s digital ports are used as they were 
a part of the controller. This functionality requires firmware 
version 4 or newer.

node0=192.168.1.253

 – 

use the digital IOs of the 

HALnode at the IP 

192.168.2.253

node1

Specifies the IP of an external HALnode Compact Ethernet IO 
module to be used for additional 8 digital in- and outputs 
(upper 8 bits of an additional 16-bit IO port). Once 
configured, the HALnode’s digital ports are used as they were 
a part of the controller. This functionality requires firmware 
version 4 or newer.

node1=192.168.1.252

 – 

use the digital IOs of the 

HALnode at the IP 

192.168.2.252

usb

When this parameter is set to 0, USB interface is disabled 
completely. This means it is no longer possible to connect to 
E1803D USB serial interface via terminal software or via 
BeamConstruct and it is also no longer possible to retrieve 
BeamConstruct PRO license via USB. This option can be used 
to suppress illegal access to USB and saves some power.

usb=0

 – turn off USB 

interface

eth

This parameter specifies the behaviour of the Ethernet 
interface. Here following values can be set:

0 – Ethernet network interface is disabled 
completely. This means it is no longer possible to 
connect to E1803D via Telnet or via BeamConstruct. 
All SNTP-functionalities are disabled too. This option 
can be used to suppress illegal access to Ethernet, to 
save several seconds of startup-time and some 
power.

1 – this mode enables the Ethernet interface and 
checks once at the beginning if some Ethernet 
hardware is connected to the controller card; when 
the “eth”-parameter is not specified at all, the 
resulting behaviour is the same

2 – this enables Ethernet polling mode; instead of 
checking for an Ethernet device only once during 
boot, in this mode the interface is polled regularly 
until an electrical connection is detected. As long as 
the controller is polling, the A/E-LED blinks very slow 
and toggles once in about 20 seconds, when an 
Ethernet device was detected, the blink frequency 
changes to normal speed;
PLEASE NOTE: when this mode is used, access via 
USB is limited, so “eth” should be set to “2” only when 
no communication via USB is intended.
The “eth”-value of 2 requires a firmware version 12 or 
newer

eth=0

 – turn off Ethernet 

interface completely

pethd

When Ethernet connection is used, it has to be established on 
power-up of the controller card as this connection is set-up 
and configured by the controller only once during boot. There 
may be situations where the other side of the Ethernet 
connection can not boot up as fast as E1803. In such cases 
this parameter can be used. It delays initialisation of Ethernet 
by the time given as parameter. The time is specified in unit 
“delayticks” where one “delaytick” is equal to about 0,5 
seconds.
This feature requires a firmware version 7 or newer.

pethd=20

 – halt initialisation 

of the controller for about 10 

seconds prior to initialisation 

of Ethernet interface

27

background image

Parameter

Description

Example

cswaf

Sets a factor in unit bits per mm that is used with all 
commands that specify some distance or position (such as 
cspof). When this factor is set to a proper value, the given 
positions/distances can be specified in unit um instead of bits.
This parameter requires a firmware version 18 or newer.

cswaf=671089

 – set the 

conversion factor from bits to 

mm for a 100x100 mm 

working area

cxcnc

Configure the controller to accept G-Code data at the 
Ethernet-interface (via Telnet communication) or at the USB-
serial interface instead of regular commands. When this 
option is set, the controller can be operated with a stream of 

G-Code data. Different to the command “

cxcnc

” (as 

described in section “16.2 Stand-Alone Control Commands” 
below) this one is permanent, means the G-Code operation 
mode stays active also when the current CNC-program is 
marked to being complete by the code M2.
This parameter requires a firmware version 20 or newer.

cxcnc=1

enable the G-Code reception 

mode for the controller card

dotfont0
dotfont1
dotfont1y
dotdist
dottime

These commands are deprecated and related to matrix laser 
dot marking mode. For details please refer related section “8 
Matrix Laser Dot Marking Mode” below
.

6.5.1 Firmware Update

As described above, the firmware is located on microSD-Card and therefore can be updated easily:

1. remove the microSD-Card as described above
2. download a new firmware from 

https://halaser.systems/download/Firmware/E1803/

 (the higher the 

number in the file name, the newer the firmware is)

3. copy the contents of this ZIP-file to microSD-Card (please take care about e1803.cfg in case it contains 

a changed configuration)

4. reinsert microSD-Card as described in previous section

28

background image

6.6 Scanner Signals

The 26 pin connector provides signals to be used to control up to three galvos of a scanhead and to power it up. 

The connector provides following signals when operated in XY2-100, XY2-100E, XY2-200 or XY2-200E mode:

Upper 

Row 

Of 

Pins

Signal

Voltage

Remarks

Lower 

Row 

Of 

Pins

Signal

Voltage

Remarks

1

CLK-

XY2-100-
compatible signals

2

CLK+

XY2-100-
compatible signals

3

SYNC-

4

SYNC+

5

X-

6

X+

7

Y-

8

Y+

9

Z-

10

Z+

11

STATUS-

12

STATUS+

13

14

15

16

17

+V

+12..24V

Power supply to 
scanhead (output)

18

+V

+12..24
V

Power supply to 
scanhead (output)

19

+V

+12..24V

20

GND

GND

21

GND

GND

22

GND

GND

23

-V

-12..24V

24

-V

-12..24V

25

-V

-12..24V

26

29

background image

The D-SUB25 connector provides the same signal as described above on a default XY2-100 connector:

CLK-

SYNC-

X-

Y-

Z-

STATUS-

+V
+V

GND

-V
-V

CLK+
SYNC+
X+
Y+
Z+
STATUS+

+V
GND
GND
-V

The connections -V, GND and +V can be used to power the scanhead with 12..24V and 

max. 3A

. This requires a 

bipolar external power supply connected to the controllers three-pin power connector described above. Power 
from this power connector is routed to the -V, GND and +V pins directly, so the provided voltage should be 
stabilised according to the requirements of the scanhead.

PLEASE NOTE:

do not connect scanheads that consume more than 3A (peak and continuously), this may damage the 
controller and voids warranty!

do not feed more than 24V into the three-pin power connector of E1803!

feed a stabilised voltage into E1803D controller according to requirements of connected scanhead!

when E1803 card is powered via three-pin power connector but scanhead has not to be powered out of 
the card, the 9 lines for -V, GND, +V (9..13 and 22..25) need to be disconnected, means the used D-
SUB25 cable needs to leave these pins open!

Violating one of these rules may damage the E1803D card or scanhead irreversibly!

E1803D can be configured to work in XY3-100 mode too. This configuration requires a firmware version 10 or 
newer for 2D XY3-100 signals and a firmware version 11 or newer for 3D XY3-100 signals. The scanner signal 
connector provides following signals when operated in XY3-100 mode:

Upper 

Row 

Of 

Pins

Signal

Voltage

Remarks

Lower 

Row 

Of 

Pins

Signal

Voltage

Remarks

1

A-

XY3-100-
compatible signals

2

A+

XY3-100-
compatible signals

3

B-

4

B+

5

C-

6

C+

7

D-

8

D+

9

E-

10

E-

11

12

13

14

15

16

17

+V

+12..24V

Power supply to 
scanhead (output)

18

+V

+12..24
V

Power supply to 
scanhead (output)

19

+V

+12..24V

20

GND

GND

21

GND

GND

22

GND

GND

23

-V

-12..24V

24

-V

-12..24V

25

-V

-12..24V

26

The D-SUB25 connector provides the same signal as described above:

30

background image

A-
B-

C-

D-

E-

+V
+V

GND

-V
-V

A+
B+
C+
D+
E+

+V
GND
GND
-V

The connections -V, GND and +V can be used to power the scanhead with 12..24V and 

max. 3A

. This requires a 

bipolar external power supply connected to the controllers three-pin power connector described above. Power 
from this power connector is routed to the -V, GND and +V pins directly, so the provided voltage should be 
stabilised according to the requirements of the scanhead.

PLEASE NOTE:

do not connect scanheads that consume more than 3A (peak and continuously), this may damage the 
controller and voids warranty!

do not feed more than 24V into the three-pin power connector of E1803!

feed a stabilised voltage into E1803D controller according to requirements of connected scanhead!

when E1803 card is powered via three-pin power connector but scanhead has not to be powered out of 
the card, the 9 lines for -V, GND, +V (9..13 and 22..25) need to be disconnected, means the used D-
SUB25 cable needs to leave these pins open!

Violating one of these rules may damage the E1803D card or scanhead irreversibly!

6.7 Laser Signals

The 26 pin connector provides several signals to be used to control a laser source. It can be used e.g. together 
with YAG, CO

2

, IPG™, SPI™, fiber and compatible lasers since it provides additional signals and frequencies 

these laser types may require for proper operation.

The connector provides following signals:

31

background image

Upper 

Row 

Of 

Pins

Signal

Voltage

Remarks

Lower 

Row 

Of 

Pins

Signal

Voltage

Remarks

1

LP8_0

CMOS, 0/5V, 
max 8 mA

2

GND

GND

3

LP8_1

CMOS, 0/5V, 
max 8 mA

4

Pilot

CMOS, 0/5V, 
max 8 mA

Pilot laser 
control 

1)

5

LP8_2

CMOS, 0/5V, 
max 8 mA

6

5V

5V

Output

7

LP8_3

CMOS, 0/5V, 
max 8 mA

8

MO

CMOS, 0/5V, 
max 8 mA

Main Oscillator

9

LP8_4

CMOS, 0/5V, 
max 8 mA

10

11

LP8_5

CMOS, 0/5V, 
max 8 mA

12

AOut0

0..10V, max 
15 mA

Analogue 
output

13

LP8_6

CMOS, 0/5V, 
max 8 mA

14

AOut1

0..10V, max 
15 mA

Analogue 
output

15

LP8_7

CMOS, 0/5V, 
max 8 mA

16

ExtStart CMOS, 0/5V

Input control 
signal

17

LP8 
Latch

CMOS, 0/5V, 
max 8 mA

18

5V

5V

19

LaserB CMOS, 0/5V, 

max 14 mA

FPK

20

Connected to 
pin 21

21

Connected to pin 
20

22

LaserA

CMOS, 0/5V, 
max 14 mA

PWM, 
frequency or Q-
Switch

23

GND

GND

24

ExtStop

CMOS, 0/5V

Input control 
signal

25

5V

5V

Output

26

Laser
Gate

CMOS, 0/5V, 
max 14 mA

1)

 requires hardware revision 1.8 or newer and firmware version 19 or newer

LP8_0...LP8_7 provide a parallel 8 bit output signal (e.g. for power control with IPG™/fiber lasers, waveform 
selection for SPI™ lasers and other).

LP8 Latch pin signals valid output at LP8_0..LP8_7 by submitting a latch pulse of software-controlled length.

MO can be used to enable main oscillator (e.g. for IPG™/fiber lasers or compatible), this signal is also visualised 
by the MO LED described above.

LaserA usage depends on software configuration and control, it is able to output a pulse-width modulated 
frequency (e.g. for controlling CO2 lasers), CW/continuously running frequency (e.g. for fiber lasers) or Q-
Switch signal (e.g. for YAG lasers) in range 25 Hz..20 MHz.

LaserB can be used for emitting a FPK pulse (e.g. for YAG lasers).

AOut0 and AOut1 provide unipolar analogue output for controlling e.g. laser power or additional equipment or 
can be used for controlling power and simmer for SPI™ lasers.
PLEASE NOTE: output of 10V at AOut0 and AOut1 depends on the used power supply. So in case board is 
powered via USB, these outputs do not work, they require an external power supply via three-pin power 
connector described above.

ExtStart expects a CMOS-level input signal in respect to GND and can be used as external trigger signal to start 
operations when a HIGH-signal is detected at input pin.

ExtStop expects a CMOS-level input signal in respect to GND and can be used as external stop-signal in order 
to stop a running marking operation by using a HIGH-signal at input pin.

32

background image

6.8 Digital Interface

This interface consist of different parts which belong together:

1. a 20 pin connector for connecting digital in- and output signals
2. two red jumpers to select opto-insulated or internal powered mode for the digital in- and outputs
3. 4 green and 4 red LEDs which signal the state of the digital outputs
4. 8 yellow LEDs which signal the state of the digital inputs (with hardware revisions prior to v1.7 these 

LEDs have been green)

The 20 pin connector provides 8 lines for input and 8 lines for output of digital signals that can work on CMOS 
level (non-insulated mode) or via opto-couplers (electrically insulated mode with external power supply) 
optionally. The operation mode depends on jumper settings described below. The connector is used as follows:

Upper 

Row 

Of 

Pins

Signal

Voltage

Remarks

Lower 

Row 

Of 

Pins

Signal

Voltage

Remarks

1

V

ext

5..24V

Input voltage to 
be used in opto-
insulated mode 
only

2

GND

ext

GND

External ground

3

DOut0

CMOS, 0/5V 
or 0/V

ext

Default level: 
LOW 

1)

4

DIn0

CMOS, 0/5V 
or 0/V

ext

Encoder-input A1 
for marking on-
the-fly

5

DOut1

CMOS, 0/5V 
or 0/V

ext

Default level: 
LOW 

1)

6

DIn1

CMOS, 0/5V 
or 0/V

ext

Encoder-input B1 
for marking on-
the-fly

7

DOut2

CMOS, 0/5V 
or 0/V

ext

Default level: 
LOW 

1)

8

DIn2

CMOS, 0/5V 
or 0/V

ext

Encoder-input A2 
for marking on-
the-fly

9

DOut3

CMOS, 0/5V 
or 0/V

ext

Default level: 
LOW 

1)

10

DIn3

CMOS, 0/5V 
or 0/V

ext

Encoder-input B2 
for marking on-
the-fly

11

DOut4

CMOS, 0/5V 
or 0/V

ext

Default level: 
HIGH 

1)

12

DIn4

CMOS, 0/5V 
or 0/V

ext

13

DOut5

CMOS, 0/5V 
or 0/V

ext

Default level: 
HIGH 

1)

14

DIn5

CMOS, 0/5V 
or 0/V

ext

15

DOut6

CMOS, 0/5V 
or 0/V

ext

Default level: 
HIGH 

1)

16

DIn6

CMOS, 0/5V 
or 0/V

ext

17

DOut7

CMOS, 0/5V 
or 0/V

ext

Default level: 
HIGH 

1)

18

DIn7

CMOS, 0/5V 
or 0/V

ext

19

V

5V

Board output 
voltage, to be 
used only when 
not operating in 
insulated mode

20

GND

GND

Board-internal 
ground

1) 

Please note the wiring scheme and the resulting, inverted logic below: a level of LOW means, the output is 

pulled to GND and a load that is connected from V to this pin is turned on. An level of HIGH means, the output is 
pulled to V and a properly wired load if turned off.

V

ext

 and GND

ext

 depend on opto-configuration as described below. In opto-insulated mode (opto-configuration 

jumpers not set) external power supply has to be connected to these inputs. Then DIn0..DIn7 and 
DOut0..DOut7 work in respect to this external power.
WARNING: When no opto-insulated mode is selected (opto-configuration jumpers are set), do NOT FEED ANY 

POWER into V

ext

, this would cause damage to the E1803D board! In this case V

ext

 is equal to V (5V) of the board 

and GND

ext

 is connected to boards ground GND.

Maximum current for every output is 15 mA when internally powered (non-insulated mode), here it is 
recommended to use an external power supply.
Maximum current for outputs DOut0..DOut3 is 50 mA when externally powered (V

ext

 in insulated mode).

33

background image

Signal output lines DOut0..DOut7 operate in open collector mode and have to be wired as follows:

Here “DOutx” symbolises one of the digital outputs DOut..DOut7. V+ is either V (5V internal, non-insulated 
mode) or V

ext

 (up to 24V external, insulated mode). GND is either GND (non-insulated mode) or GND

ext

 

(insulated mode). The internal resistor of the connected device is not allowed to have less than 490 Ohms in 
order to not exceed the given current limits.
DOut0..DOut3 provide LOW signal level by default, DOut4..DOut7 provide HIGH level by default. These levels 
are valid immediately on power-up of the card.

The DOut-lines make use of following logic:

Signal

LED

LED turned on 

on output level

Default output 

level on power-up

DOut0

red

HIGH

LOW

DOut1

red

HIGH

LOW

DOut2

red

HIGH

LOW

DOut3

red

HIGH

LOW

DOut4

green

LOW

HIGH

DOut5

green

LOW

HIGH

DOut6

green

LOW

HIGH

DOut7

green

LOW

HIGH

6.8.1 Marking On-The-Fly Signals

Digital inputs 0 and 1 (and optionally 2 and 3) can be used as position encoder signal inputs for marking on-the-
fly applications. Here 90 degree phase-shifted input pulses are expected signalling motion direction and 
position change:

34

background image

When these pulses are generated from a motion stage that moves the working piece, the resulting position 
information is used in marking on-the-fly mode to correct the marking positions accordingly. Resulting from 
that, marking will follow motion as far as available scanhead range and working area allows it.
The pulses generated out of the encoder signals have to be multiplied with a factor reflecting the resolution of 
the used encoder. To set up and adjust a marking on-the-fly-system properly, following steps have to be 
performed:

1. Connect encoder signals A and B to DigIn0 and DigiIn1 and configure E1803D controller for encoder 

usage (either from within BeamConstruct or via programming interface as described below)

2. Mark a square without any encoder signals feed into the controller
3. When the square does not have exact size and/or is distorted, modify correction table and/or gain 

settings

4. When the square has correct size, mark it again but now with a slow motion (using encoder pulses)
5. When the square is damaged (means open on one side or compressed) the on-the-fly-factor has to be 

changed (set to a smaller or higher value)

6. Mark the same square again with a fast motion (using encoder pulses)
7. When the square is damaged (means open on one side or compressed) the on-the-fly-factor has to be 

changed (set to a smaller or higher value)

The on-the-fly-factor controls the strength of compensation and is the relation between speed of external 
device/encoder pulses and card-internal compensation calculation. When this factor is wrong, the marking 
results are distorted. For a square (as recommended to be used in calibration steps above) following results are 
imaginable:

The left drawing shows an over-compensated system, here the internal compensation is too strong, the factor is 
too big. The right drawing shows an under-compensated set-up, here the factor is too small causing a too weak 
compensation. Only when marking result is really a square, the on-the-fly-factor is correct.

When tune-flag 2 is set, a second encoder can be used for 2D marking on-the-fly applications. In this mode 
digital inputs 0 and 1 (encoder inputs A1 and B1) correspond to X axis and on-the-fly factor for X direction. 
Additionally digital inputs 2 and 3 (encoder inputs A2 and B2) correspond to Y axis and on-the-fly factor for Y 
direction. Operation principle is the same as for 1D on-the-fly described above: the incremental values received 
from the encoders for X and Y are added to the current X and Y coordinates to be marked. Procedure for 

35

background image

adjusting the encoder factor is also the same, here it is recommended to perform this operation for X and Y 
movements separately and finally try both motion directions together.

6.8.2 Opto-Configuration Jumpers

Using these jumpers the operation mode for digital I/Os 0..7 can be chosen:

Opto-mode 2, both jumpers set: not galvanically insulated, internally 
powered, using common ground (external ground GND

ext

 is connected with 

internal ground)

DO NOT CONNECT EXTERNAL POWER V

ext

!

Digital outputs: 5V (internal)

Digital inputs: 5..24V in respect to GND and GND

ext

Opto-mode 1, lower jumper set: not galvanically insulated, using common 
ground, external ground GND

ext

 is connected to internal ground, external 

power V

ext

 in range 5..24V has to be applied

Digital outputs: 5..24V (V

ext

)

Digital inputs: 5..24V in respect to GND and GND

ext

Opto-mode 0, no jumpers set: galvanically insulated (fully opto-coupled 
mode), external ground GND

ext

 is separated from internal ground, external 

power V

ext

 in range 5..24V has to be applied

Digital outputs: 5..24V (V

ext)

)

Digital inputs: 5..24V in respect to GND

ext

 

6.8.3 Output State LEDs

The green and red LEDs close to the connector signal the output state of the digital outputs. As shown in table 
above, four outputs have default state LOW (non inverted) and four have default state HIGH (inverted). The 
same is signalled by these green/red LEDs, they are on/off for output state HIGH/LOW. So please note: one of 
the output LEDs turned on does NOT necessarily mean the output is at HIGH level, this depends on the output 
and its corresponding default output level/output logic!

6.8.4 Input State LEDs

These 8 yellow LEDs show the state of corresponding 8 digital inputs. As long as a HIGH signal is detected on an 
input, the related LED is turned on.

36

background image

6.9 Serial Interface

This is an 8 pin connector which provides access to UART0 RS232 and RS485 connection lines.
PLEASE NOTE: both, the RS232 and the RS485 interface are connected to the same serial interface internally! 
This means although there are two interface types available, only one logical serial line exists! Connecting two 
signal lines to RS232 and RS485 at the same time may damage the board irreversibly!

Upper 

Row Of 

Pins

Signal

Voltage

Remarks

Lower 

Row Of 

Pins

Signal

Voltage

Remarks

1

RX0

max +-28V UART0 RS232

2

TX0

+-7V

UART0 RS232

3

GND

4

Do not connect!

5

RX0+

+5V

UART0 RS485

6

RX0-

-5V

UART0 RS485

7

TX0+

+5V

8

TX0-

-5V

6.10 Extension Connectors

These connectors can be used to plug additional boards which provide new functions and additional interfaces. 
For a detailed description of available boards please refer below.

The two extension connectors on left hand side of the board can be used to place extension boards with 
additional peripheral interfaces. The extension connectors are designed to place/remove boards from time to 
time but they are not intended for constant hardware changes. 

So changing extension boards repeatedly and often 

e.g. as permanent part of a production process is not recommended.

PLEASE NOTE: when placing a new extension board
1.check correct orientation and position of the code pin which is closed in connector
2.place the pins of the extension boards onto the extension connectors exactly
3.move down the extension board by pressing on its extension connectors gently; DO NOT PRESS THE BOARD 
ITSELF BUT ONLY THE CONNECTORS!

PLEASE NOTE: When removing an extension board DO NOT pull on the extension connectors but hold both 
boards on their long side directly at the PCBs edges!

Due to of the large number of pins, it is easy to plug in an extension but more difficult to pull it out. So when 
removing an extension board, it is recommended to be very slow and to carefully pull each side up just a little bit 
to avoid bending of the pins as they exit. 

37

background image

7 Stand-Alone Operation

E1803D scanner controller cards can be operated in stand-alone mode. In this mode all marking data are stored 
on microSD-card and the board can operate without direct control of a host-PC that sends the data to be 
marked. Such stand-alone marking data can be created e.g. in BeamConstruct marking software.

The names of these stand-alone files have to be in format 8.3, means the filename has to consist of eight 
characters at max, followed by a file extension which consists of 3 characters. The base-stand-alone file comes 
with a file-extension .EPR. In case the stand-alone file contains dynamic data, a second file with the same 
filename but the extension .DAT is created (for details about dynamic stand-alone data please refer to section 
7.1 Create Stand-Alone Data with BeamConstruct”). When a stand-alone-mode of type “ioselect” is used, the 
filename has to follow some specific rules too, here it typically has to be a number which corresponds to the 
selection done at the digital inputs (for details about the different stand-alone modes and their behaviour 
please refer to section “7.2 Stand-Alone Configuration Parameters”).

7.1 Create Stand-Alone Data with BeamConstruct

To use BeamConstruct for generation of stand-alone data for E1803D scanner controllers, the card has to be 
fully configured (including all scanner, laser and pen-parameters). Next the marking data to be stored on 
microSD-card have to be created. To generate stand-alone data, menu "Processing", submenu "Write Marking 
Data to File" or "Send Named Marking Data" has to be selected.

First one gives the possibility to write the data to microSD card when E1803D is switched off and the microSD 
card is plugged into host PC. Here it is recommended to use file extension ".EPR" for the file generated by 
BeamConstruct. Next it is also recommended to always let BeamConstruct write to microSD card directly 
because sometimes more than only one file is created. Direct write operation to BeamConstruct ensures all 
files are available on microSD and no data can be forgotten to be copied.

The second variant allows to download the stand-alone data to the controller while it is connected and running. 
Precondition for sending data to a running controller are:

no mark operation is in progress (controller is idle)

no stand-alone project is loaded (please refer to description of stand-alone modes and control 
commands below).

a valid name is given in style 0:/filename.epr

This operation creates the .EPR-file and all additional files on microSD card of the running controller 
automatically.

PLEASE NOTE: such an .EPR-standalone file can NOT be converted back to vector data that could be edited in 
BeamConstruct! Creating these files is a one-way-conversion of your projects. Thus it is recommended to save 
these projects twice – once as normal .BEAMP-File which can be loaded and modified later and once as .EPR-
file which has to be used on SD-card. This also means such .EPR-files are protected so that it is possible to give 
away own designs to some end-users which shall not be able to modify them.

E1803D controller supports all static data in stand-alone mode (like all kinds of static geometries, output 
signals, waiting for input commands, waiting for trigger, all laser- and scanner parameters as well as elements 
which set outputs directly). But it does not store the vector data using a possibly configured correction table! 
To get a valid correction for stand-alone operations, the related correction file has to be saved on microSD card 
and needs to be activated using parameter "corrtable0" in e1803.cfg configuration file (please refer to 
description above).

Next E1803D scanner card supports dynamic content when following conditions are met:

a text element uses one of the laser vector font families "Roman", "Script" or "Times" and it makes use 

of an input element or

a text element makes use of a TrueType font and it makes use of an input element; here any available 
TrueType font can be used and several hatch-patterns can be applied

 for both types of text some limitations apply (only left t

o right orientation, no 

scaling/rotation/slant/mirroring is applied to the font and only the characters 

' ', !, ", #, $, 

38

background image

%, &, \, (, ), *, +, ,, -, ., /, 0, 1, 2, 3, 4, 5, 6, 7, 8, 9, :, ;, <, =, 
>, ?, @, A, B, C, D, E, F, G, H, I, J, K, L, M, N, O, P, Q, R, S, T, U, V, 
W, X, Y, Z, [, \, ], ^, _, `, a, b, c, d, e, f, g, h, i, j, k, l, m, n, o, 
p, q, r, s, t, u, v, w, x, y, z, {, |, }

 and 

~

 can be used, firmware version 3 or newer 

is required, BeamConstruct version 4.8 or newer is required); or

a barcode element uses type "DataMatrix" or “QR” with option "Merge cells" disabled and it makes use 
of an input element

any kind of hatch and combined hatches can be applied to a barcode element, not to a text element

marking output is neither XY-flipped nor mirrored nor rotated or slanted

when an input element of type “Serial Number” is used, serial number counting is done according to the 
settings of the related element

when an input element of type “CSV File Data” is used, elements out of a CSV-table can be read and 
used for the dynamic element:
the CSV-file itself needs to be placed on the SD-card and has to use the same name like the EPR file but 
with extension CSV (so when the stand-alone file is named “data.epr”, the CSV-file needs to be named 
“data.csv”), resulting from that one EPR file can handle exactly one CSV file;
supported parameters of the CSV input element are the column separator, the data column to read the 
data from and the “Endless loop” option (for details please refer to the manual of BeamConstruct);
this feature requires a firmware version 13 or newer

when any input element is used, the contents of the text/barcode can be changed via command 

cstxt

”, in this case the automatic updating of the input element has no effect

When these conditions are met, a text or barcode can be modified during stand-alone operation either via 
stand-alone control commands as described below or via a Serial Number input element that is applied to it in 
BeamConstruct. Here all serial number, time, date and formatting functions of this input element are 
supported. To get a valid time in stand-alone mode, it needs to be set after boot-up via stand-alone control 
commands (as described below) or a SNTP time server has to be configured to retrieve current time from an 
external source (please refer to description e1803.cfg parameters above).

7.2 Stand-Alone Configuration Parameters

Within e1803.cfg configuration file of E1803D scanner controller one of the following stand-alone operation 
modes can be selected via the configuration parameter "

standalone

":

standalone=off

Stand-alone mode is fully disabled, the card acts as normal host-PC-controlled device and all .epr-files on the 
SD-card are ignored. Digital outputs are not toggled since no stand-alone operational states have to be 
signalised here (please refer next section).

standalone=dotmark

This is a special stand-alone marking mode where E1803D controller card acts as dot matrix marker. It is 
available in firmware versions 5 or earlier only. For details please refer section “8 Matrix Laser Dot Marking 
Mode“ below
.

standalone=auto

Stand-alone mode is enabled, a file specified by and additional parameter "autofile" is loaded and prepared for 
marking. Marking of this file is started only when an external trigger signal is detected. The file itself has to be 
specified via additional configuration parameter that gives the filename of the stand-alone file to be loaded. As 
an example a parameter: "

autofile=0:/myfile.epr

" would try to load the file "myfile.epr" from SD-card 

and prepare it for marking. In this mode the digital outputs are toggled as described in next section.

standalone=loop

This is the same like mode "auto" described above but using "loop" E1803D controller does NOT wait for an 
external trigger signal! So when no trigger points are set in stand-alone datafile itself, in this mode marking 
would be done in an infinite loop, repeating the given "

autofile

" again and again.

39

background image

standalone=haltedloop

This is the same like mode "loop" described above, but marking does not start immediately. By default the 
controller is in state “halt” until the ExtStart input is set to HIGH level. Marking continues only as long this input 
stays at HIGH. When it goes back to LOW, marking is continued until the laser is turned off the next time and it 
is halted again. Next time ExtStart goes to HIGH, marking continues at the position where it was halted before.
In this mode the timeout-parameter “

haltedlooptimeout

” can be used.

standalone=iohaltedloop

This mode is a combination out of "haltedloop" described above and “ioselect” described below (please refer 
there for usage details). In this mode a project can be selected via digital inputs but it is started immediately and 
marked in an endless loop as long as ExtStart input is HIGH (so the level at ExtStart is checked, not the rising 
edge of an applied signal). When a different project is selected by applying a different input pattern at DIn 
digital inputs, the current project is cancelled and the new one is started in a loop again.
This mode requires firmware version 2 or newer.
In this mode the timeout-parameter “

haltedlooptimeout

” can be used.

standalone=ioselect

This mode makes use of the digital interface (please refer above). Here it is possible to select one of 256 stand-
alone marking jobs via a signal the digital inputs. The number that results out of the input pattern of the digital 
input lines specifies the filename of the marking job that has to be loaded from SD card:

Selected input(s)

Stand-alone file loaded from SD-card

All inputs set to LOW (not recommended to be used)

0.epr

DIn0 set to HIGH

1.epr

DIn1 set to HIGH

2.epr

DIn0 and DIn1 set to HIGH

3.epr

DIn2 set to HIGH

4.epr

DIn0 and DIn2 set to HIGH

5.epr

DIn1 and DIn2 set to HIGH

6.epr

DIn0, DIn1 and DIn2 set to HIGH

7.epr

DIn3 set to HIGH

8.epr

DIn4 set to HIGH

16.epr

DIn5 set to HIGH

32.epr

DIn6 set to HIGH

64.epr

DIn7 set to HIGH

128.epr

All inputs set to high

255.epr

PLEASE NOTE: 0.epr (no inputs set to HIGH) can be used but it is not recommended to do that. This value 
should be reserved for "no job active" to set the card into an inactive mode also in stand-alone operational 
mode. This may be necessary e.g. when new project data are downloaded to the controller without removing 
the SD-card.

40

background image

Marking of a IO-selected job is started by external trigger signal (ExtStart input). When the input pattern at 
DIn0..DIn7 changes during marking, the currently running operation is continued and the other stand-alone job 
is loaded after marking operation has finished. In this mode the digital outputs are toggled as described in next 
section.

In stand-alone mode “ioselect” or “idxselect” .EPR-files are loaded from microSD card as soon as a new input 
pattern is detected at digital inputs or as soon as a new index is selected with command “clepr”. Depending on 
the size of the .EPR file and the speed of the microSD card, this may take a time that is too long for high-speed 
applications. Thus it is possible to operate such projects from controller's RAM completely: in e1803.cfg the 
numbers of the files to be loaded have to be specified with parameter “iobuff”, it can be used up to 20 times and 
expects the number of the file (so a line “iobuff=3” would be responsible for pre-loading file “0:/3.epr”). File 
“0.epr” can not be preloaded by this command.

Now these files are loaded into RAM and switching from one to an other is done much faster since toggling 
between them is done controller-internal and no more disk-operations are necessary for that.
PLEASE NOTE: when too much too large .EPR files are selected for preloading, this may exceed the available 
memory on card. This is signalled by the Error LED turned on and an appropriate message is stored in log buffer. 

standalone=idxselect

This mode works exactly like the mode “ioselect” (described above), but it does not occupy any digital inputs. 
Instead of that, loading of a file can be done via an index number and the command 

clepr

. There the number of 

the file to be loaded has to be given. For a full description of all functions and features of mode “idxselect”, 
please refer the “ioselect” description above.

This stand-alone mode requires a firmware version 8 or newer.

iolatch=1

This option can be enabled for one of the digital-input-controlled stand-alone modes “ioselect”, “idxselect” and 
“iohaltedloop”. When this option is set to 0 or when it does not exist in e1803.cfg, the digital input bitpattern at 
DIn0..DIn7 is used as new input value as soon as it is detected. When it is enabled, DIn7 is used as latch-bit. 
Then the digital input bitpattern at DIn0..DIn6 is used only when DIn7 is set to HIGH. So a proper method of 
selecting a digital input bitpattern with latch enabled would be:

ensure DIn7 is at LOW

apply the desired bitpattern at DIn0..DIn6

wait for the maximum time the input bits may need to settle (depends on the external hardware and its 
capabilities)

set DIn7 to HIGH

wait until DOut0 goes to LOW

wait until DOut1 goes back to HIGH (when a valid bitpattern was applied that corresponds to an 
existing EPR file) or until loading timeout has elapsed (when a bitpattern has been applied where no 
EPR file exists for

set DIn7 to LOW

So as long as DIn7 is at low, state-changes at DIn0..DIn6 are ignored and the last detected bitpattern is used. In 
this mode only 127 different input bitpatterns are possible as DIn7 is used as latch bit.
This function is available in firmware versions 11 or newer.

7.3 Stand-Alone Control

The current stand-alone operational state is signalised via digital outputs:

DOut0

 – ready for marking – this output goes to HIGH as soon as a stand-alone job could be found on disk, was 

loaded successfully and is ready for marking. So external start signal should not be given until this output is 
HIGH. When a new stand-alone file is selected (e.g. via digital inputs in "

ioselect

"-mode) this output goes to 

LOW. It is switched back to HIGH only when the new file could be loaded successfully too.
This signal can be mapped to a different hardware output using configuration parameter 

tunereadyout

 and 

the related tune-flag.

41

background image

DOut1

 – marking active – as long as this output is HIGH, a marking operation is in progress. When a different 

stand-alone file is selected (e.g. via digital inputs) as long as this output is HIGH, marking is continued and the 
new file is NOT loaded. Once the current marking operation is completed, the output goes to LOW. After that 
the board continues with current marking data (when no new ones have been selected), or it tries to load new 
ones (when a new file was selected).
Please note: in firmware versions prior to v3 in stand-alone modes “

haltedloop

” and “

iohaltedloop

” this 

signal is not used since the user had full control over the marking process via the ExtStart input. So in case of 
these modes the logic is: when both, DOut0 and ExtStart are at HIGH, the controller is marking. Starting with 
firmware version 3 the DOut1 signal is used in same way as for all other stand-alone modes.
This signal can be mapped to a different hardware output using configuration parameter 

tunemarkout

 and 

the related tune-flag.

42

background image

8 Matrix Laser Dot Marking Mode

Please note all functions described in this chapter are deprecated. They are available only for firmware version 
5 or older. Before using these functions in new products, please contact HALaser Systems!

The E1803D controller card can be operated in a special mode where it does not make use of XY2-100 
interface but acts as dot marker for matrix marking applications. Here a matrix laser, a dot peen or an other 
matrix printing device can be used. The dots are controlled via digital outputs turning the related dot on and off:

The controller works in stand-alone mode with no laser marking software connected to it. The objects to be 
marked have to be moved (2, from right to left in image above) and the movement information is feed into the 
controllers encoder inputs A1 and B1 of digital interface connector (for description please refer to section 
6.8.1). Depending on the current position, the related dot-outputs are turned on and off marking one column on
 
every distance step (3 symbolises the dot marking device in image above, red dots are lasers which are firing for 
the current column). This way the motion of the working piece forms up to two separate lines of text to be 

marked (1 in image).

8.1 Dot Mode Configuration Parameters

Within e1803.cfg configuration file of E1803D controller card the dot marking mode has to be configured by 
using different parameters:

Parameter

Description

Example

standalone

When set to “

dotmark

” this parameter enables the dot 

matrix marking mode. This is mandatory to use the 
following parameters, elsewhere they do not have any 
effect on the operation of the card.

standalone=dotmark

Enables the dot matrix 

marker mode of E1803D

dotfont0

Specifies which font has to be used. The font size specifies 
how much of the max. 13 dots are used. All the available 
fonts are stored on microSD-card in sub-folder “fonts”. Own 
fonts can be added to this, please contact HALaser Systems 
for details.
This parameter is mandatory, for a single line of text it 
specifies the font for this line, when two lines of text have 
to be marked, it specifies the font for the upper line.

dotfont0=0:/fonts/

mono7.dfn

load the 7 pixels high, mono-

spaced font “mono7.dfn” out 

of the “fonts”-folder of 

microSD-card

dotfont1

Specifies which font has to be used for the (optional) 
second line.
This parameter is optional and has to be set only when two 
lines of text have to be marked below of each other. It 
specifies the font for the lower line.
When the second line is used, parameter “dotfont1y” has to 
be set too.

dotfont1=0:/fonts/

straig6.dfn

load the 6 pixels high, mono-

spaced font “mono6.dfn” out 

of the “fonts”-folder of 

microSD-card

dotfont1y

When two lines of text are marked this parameter specifies 
the y-offset of the second line (in unit dots). Using it vertical 
the position of the lower text line has to be set.

dotfont1y=7

sets an Y-position of 7, means 

the upper border of the 

second (optional) text line will 

start at Dot7 output

dotdist

This parameter specifies the horizontal distance between 
two columns of dots. The value given here is in unit 
“increments” of connected encoder.
When the value is positive, the encoder has to be 

dotdist=7500

starts a new column of dots 

whenever 7500 encoder 

increments have elapsed

43

background image

connected in a way where it counts to positive direction. In 
this case the text is marked from left to right, motion has to 
be done from right to left.
When the value is negative, the encoder has to be 
connected in a way where it counts to negative direction. In 
this case the text is marked in reverse direction from right 
to left (mirrored in horizontal direction) and the motion of 
the working pieces need to have a suitable movement 
direction in order to have the expected results and no 
mirrored texts.
The encoder counting direction has to fit to the 
configuration. When it works in wrong direction, only the 
first column of a text is marked, then nothing happens for a 
very long time. In this case it is necessary to exchange the 
two encoder lines connected to A1 and B1 in order to 
correct the counting direction.

dottime

Specifies how long the dots have to be turned on at 
maximum. The value has to be given in unit nanoseconds 
and has a resolution of 500 nsec. When no dot-time is 
specified, turned on dots stay on until the motion has made 
enough progress to switch on the next row of dots. So in 
this case when the motion stops, the already turned on dots 
stay on endless.

dottime=20000

turn off the dots latest after 

20 usec

8.2 Dot Mode Hardware Interface

In dot matrix marking mode the laser connector is used to control the single dots. As soon as stand-alone mode 
“dotmark” is enabled, pinout of this connector is different:

Upper 

Row 

Of 

Pins

Signal

Voltage

Remarks

Lower 

Row 

Of 

Pins

Signal

Voltage

Remarks

1

Dot0

CMOS, 0/5V, 
max 8 mA

2

GND

GND

3

Dot1

CMOS, 0/5V, 
max 8 mA

4

5

Dot2

CMOS, 0/5V, 
max 8 mA

6

5V

5V

Output

7

Dot3

CMOS, 0/5V, 
max 8 mA

8

Dot10

CMOS, 0/5V, 
max 8 mA

9

Dot4

CMOS, 0/5V, 
max 8 mA

10

11

Dot5

CMOS, 0/5V, 
max 8 mA

12

Do not connect!

13

Dot6

CMOS, 0/5V, 
max 8 mA

14

Do not connect!

15

Dot7

CMOS, 0/5V, 
max 8 mA

16

ExtStart CMOS, 0/5V

Input control 
signal

17

Dot8

CMOS, 0/5V, 
max 8 mA

18

5V

5V

19

Dot9

CMOS, 0/5V, 
max 14 mA

20

Connected to 
pin 21

21

Connected to pin 
20

22

Dot11

CMOS, 0/5V, 
max 14 mA

23

GND

GND

24

ExtStop

CMOS, 0/5V

Input control 
signal

25

5V

5V

Output

26

Dot12

CMOS, 0/5V, 
max 14 mA

44

background image

Dot0 is always the uppermost dot. Usage of all other dots depends on the height of the used font. So when a 
font with a size of 8 is chosen, the dots Dot0..Dot7 are used.
The dot-outputs are switched to HIGH signal whenever a dot has to be marked. This behaviour can be changed 
by setting the “

tune

”-parameter to value 8 (for details please refer section 6.5 above), then they are inverted 

and are set to HIGH when they are off.
The ExtStart input is used to start marking of one line of predefined text.
Dots can be toggled with a maximum frequency of 2 MHz.

8.3 Dot Mode Control

The dot matrix marking mode is a stand-alone operation mode which can be controlled from outside easily. 
After proper configuration of the related parameters in e1803.cfg, data to be marked can be sent to the card via 
commands “

cdtl0

” and optional “

cdtl1

” (for a more detailed description of this command interface please 

refer to section 16.2 below). This command can be used to enqueue several texts in advance. On every rising 
edge on ExtStart input output of the next text in queue is started according to the current encoder position.

During operation the current dot mode stand-alone operational state is signalised via digital outputs:

DOut0

 – ready for marking – this output goes to HIGH as soon as some text was received which can be marked 

in dot mode. So external start signal to should not be given until this output is HIGH. When no more data are 
available to be marked or when marking is currently in progress, this output goes to LOW.
When dot mark mode is configured to use one line of text only (parameter 

dotfont1

 not set), the controller 

becomes ready for marking as soon as at least one text is available (to be set with command “

cdtl0

”).

When dot mark mode works using two lines of text (parameter 

dotfont1

 set), the controller always requires 

pairs of data, means it becomes ready for marking only when text for two lines is available (to be set with both 
commands “

cdtl0

” and “

cdtl1

”).

DOut1

 – marking active – as long as this output is HIGH, a marking operation is in progress. During this time it 

is still possible to feed new marking data via commands “

cdtl0

” and “

cdtl1

”, this does not influence the 

current operation.

45

background image

9 Multi-IO Extension Board

This board is deprecated and should not be used any more.

The controller card can be extended by the Multi-IO board which utilitises the extension connector as 
described in section “6 Board And Connectors”.
To operate the controller with the Multi-IO Extension Board, firmware version 4 or newer is needed.

9.1 Board Connectors

The E1803D Multi-IO Extension Board provides following connectors and interfaces:

1. Multi-IO-connector offering different signals and interfaces including a secondary XY2-100(E)/XY2-

200(E)/XY3-100 interface, analogue inputs, RS232/RS485 serial output

2. Code pin for proper placement of extension board on E1803D controller card

9.2 Multi-IO Interface

The 26 pin connector provides signals and inputs to be used for different purposes:

Upper 

Row 

Of 

Pins

Signal

Voltage

Remarks

Lower 

Row 

Of 

Pins

Signal

Voltage

Remarks

1

CLK-

Secondary head, 
XY2-100-
compatible output 
signals

2

CLK+

Secondary head, 
XY2-100-
compatible output 
signals

3

SYNC-

4

SYNC+

5

X-

6

X+

7

Y-

8

Y+

9

Do not connect!

10

Do not connect!

11

GND

AIn

GND

12 bit analogue 
inputs

12

AIn0

0..5V

12 bit analogue 
inputs

13

AIn1

0..5V

14

AIn2

0..5V

15

Do not connect!

16

Do not connect!

17

Do not connect!

18

Do not connect!

19

RX1

12V

UART1 RS232

20

TX1

12V

UART1 RS232

21

GND

22

GND

23

RX1+

5V

UART1 RS485

24

RX1-

5V

UART1 RS485

25

TX1+

5V

26

TX1-

5V

46

background image

The first 8 pins of the 26 pin connector provide signals to be used to control up to two galvos of a scanhead. 
These signals are fully parallel to the ones from XY2-100 interface of E1803D main board and can be used for 
secondary head applications where two scanheads work in parallel. With a flat wire belt that makes use of 
these first 8 pins only, a direct connection with a standard D-SUB25 connector can be made:

CLK-

SYNC-

X-

Y-

CLK+
SYNC+
X+
Y+

The pins 11 to 14 offer three analogue measurement inputs AIn0 .. AIn2 which can be operated in respect to 
GND

AIn

 and work with a voltage range of 0..5V. This range is converted to a 12 bit digital value in range 1..4095 

and can be read out of a connected application or can be used to perform different automated tasks.
PLEASE NOTE: under no circumstances apply a voltage higher than 5V to any of these inputs, this may damage 
the complete scanner controller card irreversibly!

The last 8 pins provide access to UART1 RS232 and RS485 connection lines.
PLEASE NOTE: both, the RS232 and the RS485 interface are connected to the same serial interface internally! 
This means although there are two interface types available, only one logical serial line exists! Connecting two 
signal lines to RS232 and RS485 at the same time may damage the complete scanner controller card 
irreversibly!

47

background image

10 Intelli-IO Extension Board

The controller card can be extended by the Intelli-IO Extension board which utilises the extension connector as 
described in section “6 Board And Connectors”.
To operate the controller with the Intelli-IO Extension Board, firmware version 5 or newer is needed.
Comparing to the Multi-IO Extension Board this one offers different types of IO and also provides the 
possibility for software customisation according to customers special needs. Due to flexibility it can be 
operated in different modes and therefore used for different purposes.

10.1 Board Connectors

The E1803D Intelli-IO Extension Board provides following connectors and interfaces:

1. IO-connector offering different signals and interfaces as described below including digital inputs, 

digital outputs and analogue inputs

2. Code pin for proper placement of extension board on E1803D controller card

10.2 Intelli-IO Interface in IO mode

When operated in IO-mode, the 20 pin connector provides following signals and inputs:

Lower 

Row 

Of 

Pins

Signal

Voltage

Remarks

Upper 

Row 

Of 

Pins

Signal

Voltage

Remarks

1

DOut0

5V

Digital outputs, 
second 8 bit port

2

DOut1

5V

Digital outputs, 
second 8 bit port

3

DOut2

5V

4

DOut3

5V

5

DOut4

5V

6

DOut5

5V

7

DOut6

5V

8

DOut7

5V

9

DIn0

5V

Digital inputs, 
second 8 bit port (6 
bits used)

10

DIn1

5V

Digital inputs, 
second 8 bit port 
(6 bits used)

11

DIn2

5V

12

DIn3

5V

13

DIn4

5V

14

DIn5

5V

15

GND

AIn

GND

12 bit analogue 
inputs

16

AIn0

0..5V

12 bit analogue 
inputs

17

AIn1

0..5V

18

AIn2

0..5V

19

5V

5V

Output

20

GND

GND

48

background image

The pins 1 to 8 provide 8 general purpose digital outputs. Maximum current to be pulled out of each output is 
20 mA. It is recommended to supply power to E1803D controller via 3pin screw connector but not via USB 
when this extension board is used.
The pins 9 to 14 are digital general purpose input pins. They are low-active, means to signal a logical “1”, they 
have to be pulled to ground (GND).

The pins 15 to 18 offer three analogue measurement inputs AIn0 .. AIn2 which can be operated in respect to 
GND

AIn

 and work with a voltage range of 0..5V. This range is converted to a 12 bit digital value in range 1..4095 

and can be read out of a connected application or can be used to perform different automated tasks.
PLEASE NOTE: under no circumstances apply a voltage higher than 5V to any of these inputs, this may damage 
the complete scanner controller card irreversibly!

This extension board makes use of an own MCU (

M

i

c

rocontroller 

U

nit) which handles all digital IOs and also 

has access to analogue inputs AIn0 and AIn1. This MCU can work fully parallel to the main scanner controller 
card and therefore is suitable for special, customised control applications. To get more information about such 
applications and to discuss your requirements, please contact HALaser Systems.

10.3 Intelli-IO Interface in motion mode

The hardware described within this section is designed to control motors. Motions caused by these motors may 
effect a person's health or may otherwise cause damage. Prior to installation and operation compliance with all 
relevant safety regulations including additional hardware-controlled safety measures has to be secured. The 
client shall solely be responsible to strictly comply with all applicable and relevant safety 
regulations regarding installation and operation of the system at any time.

When operated in motion-mode, the extension can be used to drive up to four stepper motor axes via 
step/direction signals. Here the 20 pin connector provides following signals and inputs:

Lower 

Row 

Of 

Pins

Signal

Voltage

Remarks

Upper 

Row 

Of 

Pins

Signal

Voltage

Remarks

1

Step0

5V

Stepper pulse 
output signals

2

Dir0

5V

Stepper motor 
direction output 
signals

3

Step1

5V

4

Dir1

5V

5

Step2

5V

6

Dir2

5V

7

Step3

5V

8

Dir3

5V

9

Ref0

5V

Reference inputs

10

Ref1

5V

Reference inputs

11

Ref2

5V

12

Ref3

5V

13

Do not connect!

14

Do not connect!

15

GND

AIn

GND

12 bit analogue 
inputs

16

AIn0

0..5V

12 bit analogue 
inputs

17

AIn1

0..5V

18

AIn2

0..5V

19

5V

5V

20

GND

GND

The pins 1 to 8 provide the stepper motor control signals for axes 0..3 (step/direction signals to be used with a 
separate, external power driver). Maximum current to be pulled out of each output is 20 mA. It is recommended 
to supply power to E1803D controller via 3pin screw connector but not via USB when the Intelli-IO extension 
board is used.
The pins 9 to 12 are input pins for axes 0..3 to be used with the reference/homing position. They are low-active, 
means to signal a “switch was hit”, they have to be pulled to ground (GND).

The pins 15 to 18 offer three analogue measurement inputs AIn0 .. AIn2 which can be operated in respect to 
GND

AIn

 and work with a voltage range of 0..5V. This range is converted to a 12 bit digital value in range 1..4095 

and can be read out of a connected application or can be used to perform different automated tasks.
PLEASE NOTE: under no circumstances apply a voltage higher than 5V to any of these inputs, this may damage 
the complete scanner controller card irreversibly!

49

background image

11 NX-02 Extension Board

While the controller already generates scanner signals for all types of parallel scanner protocols (such as XY2-
100 or XY3-100), using the NX-02 Extension Board it is possible to drive scanheads that make use of serial 
scanner protocols (such as NX-02 and compatible). The controller card can be extended by the NX-02 board 
which utilitises the extension connector as described in section “6 Board And Connectors”.
To operate the controller with the NX-02 Extension Board, firmware version 17 or newer is needed.

11.1 Board Connectors

The E1803D NX-02 Extension Board provides following connectors and interfaces:

1. serial NX-02 protocol connector towards the scanhead
2. Analogue input signal connector

11.2 NX-02 Interface

The 10 pin connector provides the serial scanhead control signals:

Lower 

Row 

Of 

Pins

Signal

Remarks

Upper 

Row 

Of 

Pins

Signal

Remarks

1

DATA-

Connect with input of scanhead

2

DATA+ Connect with input of scanhead

3

Do not connect!

4

GND

5

6

GND

7

8

RET+

Connect with backchannel of 
scanhead

9

RET-

Connect with backchannel of 
scanhead

10

Do not connect!

Depending on the exact wiring of the used scanhead, it may be possible, an adaptor cable is needed. But for 
most NX-02 and compatible scanheads, a simple 1:1 connection from this 10-pin IDC connector to a D-SUB9-
connector should be suitable (via direct flatbelt-cable connection). For details please refer to the description 
and pinout of the used scanhead.

50

background image

11.3 Analogue Input Interface

This connector provides the following inputs:

Lower 

Row 

Of 

Pins

Signal

Voltage

Remarks

Upper 

Row 

Of 

Pins

Signal

Voltage

Remarks

1

AIn0

0..5V

12 bit analogue 
inputs

2

GND

AIn

GND

3

AIn1

0..5V

3

GND

AIn

GND

5

AIn2

0..5V

4

GND

AIn

GND

The pins 1,3 and offer three analogue measurement inputs AIn0 .. AIn2 which can be operated in respect to 
GND

AIn

 and work with a voltage range of 0..5V. This range is converted to a 12 bit digital value in range 1..4095 

and can be read out of a connected application or can be used to perform different automated tasks.
PLEASE NOTE: under no circumstances apply a voltage higher than 5V to any of these inputs, this may damage 
the complete scanner controller card irreversibly!

51

background image

12 SDP Extension Board

While the controller already generates scanner signals for all types of parallel scanner protocols (such as XY2-
100 or XY3-100), using the SDP Extension Board it is possible to drive scanheads that make use of the serial 
data protocols known from Newson™ scanners. This is a different interface and protocol than the serial NX-02 
as it makes use of an own cable per axis and also provides power supply via the same, single cable. The 
controller card can be extended by the SDP board which utilitises the extension connector as described in 
section “6 Board And Connectors”.
To operate the controller with the SDP Extension Board, firmware version 20 or newer is needed.

PLEASE NOTE: to operate the SDP extension board, the E1803D scanner controller card needs to be 

supplied with 12V power via the screw terminak. Any other voltage may damage the connected SDP galvos! 

For further details please refer to section “6.3 Power” above!

12.1 Board Connectors

The E1803D SDP Extension Board provides following connectors and interfaces:

X – the screw-connector for the X axis (handles both, data and power supply)
Y – the screw-connector for the X axis (handles both, data and power supply)

PLEASE NOTE: to operate the SDP extension board, the E1803D scanner controller card needs to be 

supplied with 12V power via the screw terminak. Any other voltage may damage the connected SDP galvos! 

For further details please refer to section “6.3 Power” above!

52

background image

13 E1803dock Extension Board

The E1803 dock is a full-size expansion board which resides on the very top of the controller card and acts as 
some kind of breakout-board. It does not occupy the extension connector but makes use of laser and digital 
interface – which itself are passed through and are available on top of that E1803dock. This board is available in 
different variants which are specialised for specific laser types each. When using a suitable E1803dock, 
connection between E1803D and laser is made simple and easy as only some simple 1:1 connections with 
standard cables are required. Thus E1803dock allows easy connection of the E1803D controller to lasers 
without the need to manufacture special cables. Following all available E1803Dock variants are described 
together with the E1803D signal names and where they can be found at the laser-specific connectors.

PLEASE NOTE: prior to using the E1803dock, please ensure the pinout of the connectors (as described below) 
really fit to your specific variant of your used laser. Elsewhere irreversible damage are possible at laser and/or 
scanner controller card.

PLEASE NOTE: when using the pass-through laser and/or digital interfaces in parallel to the laser-specific 
connectors, you need to ensure they are not used twice, out of both connectors. This may result in an undefined 
and unwanted behaviour otherwise, as they work parallel and can’t be switched separately. When a parallel 
usage is intended, please double-check the current consumption of connected devices as the total current that 
can be provided by these lines does not double but is the same total value for two connections then. Exceeding 
the total maximum allowed current of a E1803D-signal may cause an irreversible damage to the controller 
otherwise.

13.1 E1803dock MOPA

This variant of the E1803dock can be used with most MOPA/fiber lasers that come with a LP8 digital interface 
for setting the power, such as

IPG YLP with interface variant type G (without SPI serial interface and pin 12 alarm signal)

IPG YLP with interface variant type E (without APD indexing)

IPG YLP with interface variant type D, D1, B, B1

MaxPhotonics MFP

JPT YDFLP

Raycus RFL-PMX

Raycus RFL-PQB

GZTech YFPN series
… and compatible laser types.

Starting with hardware version 1.2, the E1803dock MOPA also supports laser types that expect an analogue 
signal for power control, such as

IPG YLM

Raycus RFL-QCW
...and compatible types.

Connection between E1803dock and laser is done mainly via a 1:1 D-SUB25 connection:

53

background image

1. Screwdriver holes for access to the screw-terminal of the underlying E1803D

2. dock-connectors to underlying E1803D which connect with digital, laser and serial interface

3. Laser interface pass-through, for pinout please refer to section “6.7 Laser Signals”

4. Digital interface pass-through, for pinout please refer to section “6.8 Digital Interface” and to jumper 

description below

5. D-SUB25 connector for direct connection to laser. A connection can be established using a standard 

1:1 D-SUB-cable. This connector provides the following pinout:

54

background image

Pin Description

Pin Description

1 LP8_0 laser power signal, CMOS, max 8mA

14 GND

2 LP8_1 laser power signal, CMOS, max 8mA

15 Not connected

3 LP8_2 laser power signal, CMOS, max 8mA

16 DIn6 laser alarm pin 16, available at DIn5 only 

when jumper is set to „ERR16“ (refer to 
description below)

4 LP8_3 laser power signal, CMOS, max 8mA

17 Not connected

5 LP8_4 laser power signal, CMOS, max 8mA

18 MO main oscillator signal, CMOS, max 8mA

6 LP8_5 laser power signal, CMOS, max 8mA

19 LaserGate power amplifier signal, CMOS, max 

14mA

7 LP8_6 laser power signal, CMOS, max 8mA

20 LaserA 5V pulse repetitive signal, CMOS, max 

14mA

8 LP8_7 laser power signal, CMOS, max 8mA

21 DIn7 laser alarm pin 21, available at DIn7 only 

when jumper is set to „ERR21“ (refer to 
description below)

9 LP8 Latch laser power latch, CMOS, max 8mA 22 LaserB used to switch the pilot laser, CMOS, 

max 14mA

10 GND

23 Emergency input, connected to screw 

connector (7) and has to be pulled to HIGH for 
different laser types to enable operation

11 DIn5 laser alarm pin 11, available at DIn5 only 

when jumper is set to „ERR11“ (refer to 
description below)

24 Not connected

12 Not connected

25 Not connected

13 Not connected

6. Jumper to configure laser alarm lines 12 (hardware version 1.2 and newer), 11, 16 and 21. When they 

are set to “ERRxx” position (jumper set to left), the related error signal is connected with DInx input as 
described above.
When at least one of the jumpers is set to “ERRxx”-position, the digital interface needs to be configured 
to opto-mode 1 or opto-mode 2 (please refer to description in section “6.8.2 Opto-Configuration 
Jumpers
” above). In this case the related digital input is no longer available.
For jumpers that are set to position “DInx” (jumper set to right), the related digital input is available but 
the laser error can no longer be read.

7. Emergency input screw connector:

EMRG GND 5V

“EMRG” is connected to pin 23 of the MOPA D-SUB connector (5) and can be used to provide a HIGH-
signal to the laser in order to enable it. Using this an emergency enable/off function can be 
implemented.
“5V” is an output which provides 5V from the controller card. It can be used e.g. to apply a HIGH-signal 
to the EMRG-input, possibly via a relay contact. Please note: The “5V” pin of this screw connector is not 
allowed to be used for supplying power to any other peripherals.

8. D-SUB25 connector for direct connection to laser (available only in hardware variant 1.2 or newer). A 

connection can be established using a standard 1:1 D-SUB-cable. This connector provides the following 
pinout:

55

background image

Pin Description

Pin Description

1 Not connected

14 Shield

2 Not connected

15 Not connected

3 Not connected

16 DIn6 laser alarm pin 16, available at DIn5 only 

when jumper is set to „ERR16“ (refer to 
description below)

4 Not connected

17 LaserGate power amplifier signal, CMOS, max 

14mA

5 Not connected

18 Not connected

6 Not connected

19 DIn7 laser ready pin, available at DIn7 only 

when jumper is set to „RDY“ (refer to 
description below)

7 MO main oscillator signal, CMOS, max 8mA

20 Not connected

8 AOut0 0..4V analogue power control, max 15 

mA; Please note: it has to be ensured on 
software side to not to apply more than 4V 
here. This is done in BeamConstruct 
automatically when laser type „IPG (MO, 
AOut0)“ is configured. Out of own applications 
when calling 

E180X_ana_write()

 a 

maximum value 

a

 of 26213 is allowed.

21 LaserB used to switch the pilot laser, CMOS, 

max 14mA

9 GND

22 Not connected

10 Not connected

23 Not connected

11 Not connected

24 Not connected

12 Not connected

25 Not connected

13 Not connected

9. RS232 interface (available only in hardware variant 1.2 or newer), this is a pass-through of the RS232-

signal of the on-board serial interface as described at “6.9 Serial Interface” which can be used for 
communication with the laser. The D-SUB9 connector provides the following pinout:

Pin Description

Pin Description

1 Not connected

6

Not connected

2 RX (to be connected with TX on laser side)

7

Not connected

3 TX (to be connected with RX on laser side)

8

Not connected

4 Not connected

9

Not connected

5 GND

10. mounting holes for HALdrive XY3-100 to analogue converter, can be used for placing a HALdrive 

converter board

11. Pilot laser selection – starting with the hardware revision 1.8 of the E1803D scanner controller card 

and firmware version 19, the controller card provides an own, native output for controlling the pilot 
laser. So with these (or newer hard/software) versions, it is no longer necessary to use LaserB output 
for switching the pilot laser. The solder jumper (11) can be used to re-enable LaserB for use as pilot 
laser control pin.
Following logic applies:
- when the solder jumper is closed, LaserB or the pilot laser pin can be used for switching the pilot laser, 
but LaserB can’t be used for anything else
- when the solder jumper is open, LaserB can’t be used for switching the pilot laser but it can be used 
for any other operations (FPK, PWM, ...)

13.2 E1803dock YLM

This variant of the E1803dock can be used with analogue controlled MOPA/fiber lasers such as IPG YLM, 
Raycus RFL-QCW and compatible types. Starting with hardware version 1.2, the functionalities of the 

56

background image

E1803dock YLM are contained in “13.1 E1803dock MOPA“ completely. 

Thus the separate variant “YLM” is 

discontinued and no longer available.

Connection between E1803dock and laser is done mainly via a 1:1 D-SUB25 connection (laser control signals) 
and a 1:1 D-SUB9 connection (RS232 communication):

1. Screwdriver holes for access to the screw-terminal of the underlying E1803D
2. dock-connectors to underlying E1803D which connect with digital, laser and serial interface
3. Laser interface pass-through, for pinout please refer to section “6.7 Laser Signals”
4. Digital interface pass-through, for pinout please refer to section “6.8 Digital Interface” and to jumper 

description below

5. D-SUB25 connector for direct connection to laser. A connection can be established using a standard 

1:1 D-SUB-cable. This connector provides the following pinout:

57

background image

Pin Description

Pin Description

1 Not connected

14 Shield

2 Not connected

15 Not connected

3 Not connected

16 DIn6 laser alarm pin 16, available at DIn5 only 

when jumper is set to „ERR16“ (refer to 
description below)

4 Not connected

17 LaserGate power amplifier signal, CMOS, max 

14mA

5 Not connected

18 Not connected

6 Not connected

19 DIn7 laser ready pin, available at DIn7 only 

when jumper is set to „RDY“ (refer to 
description below)

7 MO main oscillator signal, CMOS, max 8mA

20 Not connected

8 AOut0 0..4V analogue power control, max 15 

mA; Please note: it has to be ensured on 
software side to not to apply more than 4V 
here. This is done in BeamConstruct 
automatically when laser type „IPG (MO, 
AOut0)“ is configured. Out of own applications 
when calling 

E180X_ana_write()

 a 

maximum value 

a

 of 26213 is allowed.

21 LaserB used to switch the pilot laser, CMOS, 

max 14mA

9 GND

22 Not connected

10 Not connected

23 Not connected

11 Not connected

24 Not connected

12 Not connected

25 Not connected

13 Not connected

6. Jumper to configure laser alarm and ready lines.

The upper jumper is not used and always has to be set to “DI5”.
When the middle jumper is set to “ERR16” position (jumper set to left), the laser error signal from pin 
16 is connected with DIn6 input as described above.
When the lower jumper is set to “RDY” position (jumper set to left), the laser ready signal from pin 19 is 
connected with DIn6 input as described above. 
When at least one of the jumpers is NOT set to “DIx” (right  position), the digital interface needs to be 
configured to opto-mode 1 or opto-mode 2 (please refer to description in section “6.8.2 Opto-
Configuration Jumpers
” above). In this case the related digital input is no longer available.
For jumpers that are set to position “DIx” (jumper set to right), the related digital input is available but 
the laser error/ready can no longer be read.

7. RS232 interface, this is a pass-through of the RS232-signal of the on-board serial interface as 

described at “6.9 Serial Interface” which is used for communication with the laser. The D-SUB9 
connector provides the following pinout:

Pin Description

Pin Description

1 GND

6

Not connected

2 Not connected

7

Not connected

3 RX (to be connected with TX on laser side)

8

Not connected

4 TX (to be connected with RX on laser side)

9

Not connected

5 Not connected

8. mounting holes for HALdrive XY3-100 to analogue converter, can be used for placing a HALdrive 

converter board

58

background image

13.3 E1803dock SPI

This variant of the E1803dock can be used with SPI G4 fiber laser / TRUMPF™ TruPulse nano™ and compatible 
types that also make use of a compatible connector.
Starting with hardware revision 1.4, the pinout and functionality of this dock is available in E1803dock NCC (as 
described below). 

Thus the separate variant “SPI” is discontinued and no longer available.

Connection between E1803dock and laser is done mainly via a 1:1 68-pin SCSI-type connection:

1. Screwdriver holes for access to the screw-terminal of the underlying E1803D

2. dock-connectors to underlying E1803D which connect with digital, laser and serial interface

3. Laser interface pass-through, for pinout please refer to section “6.7 Laser Signals”

4. Digital interface pass-through, for pinout please refer to section “6.8 Digital Interface” and to jumper 

description below

5. 68pin Mini D Ribbon SCSI connector for direct connection to laser. A connection can be established 

using a standard 1:1 cable. This connector provides the following pinout:

Pin Description

Pin Description

1 Not connected

35 Not connected

2 Not connected

36 GND

3 Not connected

37 GND

4 Not connected

38 Not connected

5 LaserGate power amplifier signal, CMOS, max 

14mA

39 GND

6 LaserB used to switch the pilot laser, CMOS, 

max 14mA

40 GND

7 MO laser global enable signal, CMOS, max 

8mA

41 GND

8 DIn6 laser temperature alarm pin 16, available 

at DIn5 only when jumper is set to „ERR16“ (6, 
refer to description below)

42 GND

59

background image

9 DIn7 laser general alarm pin, available at DIn7 

only when jumper is set to „ERR21“ (6, refer to 
description below)

43 GND

10 DIn5 laser system fault pin 11, available at 

DIn5 only when jumper is set to „ERR11“ (6, 
refer to description below)

44 GND

11 Not connected

45 GND

12 Not connected

46 GND

13 LaserA PWM signal

47 GND

14 Not connected

48 GND

15 Disable input, connected to screw connector 

(7) and has to be pulled to LOW to enable 
operation

49 GND

16 Not connected

50 GND

17 LP8_0 laser power signal, CMOS, max 8mA

51 LP8_4 laser power signal, CMOS, max 8mA

18 LP8_1 laser power signal, CMOS, max 8mA

52 LP8_5 laser power signal, CMOS, max 8mA

19 LP8_2 laser power signal, CMOS, max 8mA

53 LP8_6 laser power signal, CMOS, max 8mA

20 LP8_3 laser power signal, CMOS, max 8mA

54 LP8_7 laser power signal, CMOS, max 8mA

21 Pulse/CW operation mode, can be set to LOW 

or HIGH signal via jumpers (8, refer to 
description below)

55 GND

22 Not connected

56 GND

23 LP8 Latch laser power latch, CMOS, max 8mA 57 connected
24 Not connected

58 GND

25 RS232 RX

59 GND

26 RS232 TX

60 GND

27 Not connected

61 Not connected

28 GND

62 Not connected

29 GND

63 Not connected

30 GND

64 AOut1 0..10V analogue simmer control, max 

15 mA

31 GND

65 AOut0 0..10V analogue power control, max 15 

mA

32 GND

66 Not connected

33 Not connected

67 Not connected

34 Not connected

68 Not connected

For details about the connector type used, here, please refer to the next section below

6. Jumper to configure laser alarms. When they are set to “ERRxx” position (jumper set to left), the 

related alarm/failure signal is connected with DInx input as described above.
When at least one of the jumpers is set to “ERRxx”-position, the digital interface needs to be configured 
to opto-mode 1 or opto-mode 2 (please refer to description in section “6.8.2 Opto-Configuration 
Jumpers
” above). In this case the related digital input is no longer available.
For jumpers that are set to position “DInx” (jumper set to right), the related digital input is available but 
the laser error can no longer be read.

7. Disable input screw connector:

DIS GND 5V

 Here “DIS” is connected to pin 15 of the 68-pin connector and can be used to provide a HIGH-signal to 

60

background image

the laser in order to disable it. When the disable functionality is implemented an other way, it is also 
possible to directly connect the “GND” pin to “DIS”, then the laser is always enabled.
Please note. The “5V” pin of this screw connector can be used only for applying a disable-signal to “DIS” 
signal, it is not allowed to be used for supplying power to any other peripherals.

8. Jumper to configure pulsed/CW mode. When the jumper is set to “Pulsed” (plugged to lower position), 

pin 21 of the 68-pin laser connector is set to LOW and the pulses can be controlled via LaserA 
(PWM+/PWM-) signal. When set to “CW” (plugged to upper position), pin 21 is set to HIGH and the 
laser operates in continuous wave mode.

9. mounting holes for HALdrive XY3-100 to analogue converter, can be used for placing a HALdrive 

converter board

13.3.1 Connector to laser

By default, SPI/Trumpf lasers are shipped with a cable which can be used to connect to the E1803dock SPI 
directly. However, it seems there are variants of this cable out there, which do not fit to the standard 68 pin 
SCSI connector of the E1803dock:

W=46,9 mm, T=6,3 mm

In this case a separate cable is needed which fits to both, the E1803dock SPI and the laser. For the specification 
of the connector on laser side, please refer to the manual of the laser itself.
On the E1803dock SPI a connector of type “10268-6212PC“ from 3M Electronics Solutions Division (or a 
compatible type) is used:

61

background image

Excerpt from the official datasheet of the connector,

for latest versions please contact 3M Electronics Solutions

13.4 E1803dock CO

2

/YAG

This variant of the E1803dock can be used with all YAG and CO2 lasers which come with a compatible 
interface. For such lasers connection between E1803dock and laser is done mainly via a 1:1 D-SUB25 or BNC 
connection:

1. Screwdriver holes for access to the screw-terminal of the underlying E1803D

2. dock-connectors to underlying E1803D which connect with digital, laser and serial interface

62

background image

3. Laser interface pass-through, for pinout please refer to section “6.7 Laser Signals”

4. Digital interface pass-through, for pinout please refer to section “6.8 Digital Interface” and to jumper 

description below

5. D-SUB25 connector for direct connection to laser. A connection can be established using a standard 

1:1 D-SUB-cable. This connector provides the following pinout:

Pin Description

Pin Description

1 Not connected

14 Not connected

2 Not connected

15 Not connected

3 GND

16 Not connected

4 Emergency input, connected to screw 

connector (7) and has to be pulled to HIGH for 
different laser types to enable operation

17 GND

5 GND

18 GND

6 GND

19 GND

7 Not connected

20 LaserB first pulse killer signal (FPK/QKILL for 

YAG) or pilot laser (for CO

2

), CMOS, max 

14mA

8 GND

21 AOut1 power control, analogue signal in range 

0..10V, max 15mA

9 AOut0 frequency control, analogue signal in 

range 0..5V, max 15mA; this signal is 
hardware-divided by 2 comparing to the 
original AOut0

22 LaserA 5V output, CMOS, max 14mA

10 GND

23 MO used to switch the pilot laser, CMOS, max 

8mA

11 GND

24 LaserGate non-inverted/high-active laser-on 

signal, CMOS, max 14mA

12 LaserGate inverted/low-active laser-on signal, 

CMOS, max 40mA

25 LaserA negative output of differential PWM 

signal (PWM-, also connected to shield of 
BNC-connector), +-5V, max 40mA

13 LaserA positive output of differential PWM 

signal (PWM+, also connected to core of BNC-
connector), +-5V, max 40mA

6. Jumpers are reserved for future use and all have to be set to “DIx” (right position)

7. Emergency input screw connector:

EMRG GND    5V   

Here “EMRG” is connected to pin 23 of the D-SUB connector and can be used to provide a HIGH-signal 
to the laser in order to enable it. When emergency switch functionality is implemented an other way, it 
is also possible to directly connect the “5V” pin to “EMRG”.
“5V” is an output which provides 5V from the controller card. It can be used e.g. to apply a HIGH-signal 
to the EMRG-input, possibly via a relay contact. Please note. The “5V” pin of this screw connector is not 
allowed to be used for supplying power to any other peripherals.

8. BNC-connector for PWM/tickle-signal. It provides a differential +-5V LaserA signal which is also 

available as PWM+/PWM- at the D-SUB25 connector (pins 13 and 25)

63

background image

9. mounting holes for HALdrive XY3-100 to analogue converter, can be used for placing a HALdrive 

converter board

10. RS232 interface, this is a pass-through of the RS232-signal of the on-board serial interface as 

described at “6.9 Serial Interface”. The D-SUB9 connector provides the following pinout:

Pin Description

Pin Description

1 GND

6

Not connected

2 Not connected

7

Not connected

3 RX (to be connected with TX on laser side)

8

Not connected

4 TX (to be connected with RX on laser side)

9

Not connected

5 Not connected

64

background image

13.5 E1803dock NCC

While the majority of MOPA-lasers and many CO

2

- or YAG-lasers come with a standard pin-out which allows to 

have a simple 1:1-connection, there are still different lasers available, which all have their own, non-common 
connectors and individual pin-outs. This is where the E1803dock NCC (

n

on-

c

ommon 

c

onnector) can be used 

for. It works with all laser models that have not a common interface as described in sections about “ E1803dock 
MOPA
” and “ E1803dock CO2/YAG” above. This is true e.g. for lasers such as SPI™ / Trumpf™ truePulse nano™, 
DAVI and others more. This E1803dock provides a screw-terminal where the laser-specific cable can be 
connected easily according to the signals and requirements of the laser:

1. Screwdriver holes for access to the screw-terminal of the underlying E1803D

2. dock-connectors to underlying E1803D which connect with digital, laser and serial interface

3. Laser interface pass-through, for pinout please refer to section “6.7 Laser Signals”

4. Digital interface pass-through, for pinout please refer to section “6.8 Digital Interface” and to jumper 

description below

5. Screw-terminal for connection of the laser-specific cable, here following signals can be found and need 

to be connected according to the requirements of the laser:

65

background image

Pin Description

Pin Description

1 LaserGate, CMOS, max 14 mA

2

5V

3 PilotLaser, used to switch the pilot laser, 

CMOS, max 14 mA

4

AOut0 0..10 V analogue outout signal, max 8 
mA

5 LaserB, FPK/second frequency, CMOS, max 

14 mA

6

AOut1 0..10 V analogue outout signal, max 8 
mA

7 MO, laser global enable signal, CMOS, max 14 

mA

8

GND

9 DIn6, alarm pin 16, available only when 

jumper is set to “ERR16” (connector 6, refer to 
description below)

10 RS232 TX

11 DIn7, alarm pin 21, available only when 

jumper is set to “ERR21” (connector 6, refer to 
description below)

12 RS232 RX

13 DIn5, alarm pin 11, available only when 

jumper is set to “ERR11” (connector 6, refer to 
description below)

14 LP8 Latch laser power latch bit, CMOS, max 

14 mA

15 LaserA PWM signal, CMOS, max 14 mA

16 LP8_7 laser power bit, CMOS, max 14 mA

17 EMRG emergency/enable input, connected to 

screw connector (7)

18 LP8_6 laser power bit, CMOS, max 14 mA

19 LP8_0 laser power bit, CMOS, max 14 mA

20 LP8_5 laser power bit, CMOS, max 14 mA

21 LP8_1 laser power bit, CMOS, max 14 mA

22 LP8_4 laser power bit, CMOS, max 14 mA

23 LP8_2 laser power bit, CMOS, max 14 mA

24 LP8_3 laser power bit, CMOS, max 14 mA

6. Jumper to configure laser alarms. When they are set to “ERRxx” position (jumper set to left), the 

related alarm/failure signal is routed to the screw-terminal and connected with DInx input as described 
above.
When at least one of these jumpers is set to “ERRxx”-position, the digital interface needs to be 
configured to opto-mode 1 or opto-mode 2 (please refer to description in section “6.8.2 Opto-
Configuration Jumpers
” above). In this case the related digital input is no longer available.
For jumpers that are set to position “DInx” (jumper set to right), the related digital input is available but 
the laser error can no longer be read.
Jumper ERR12 is reserved for future use and has to be set to “DI4” (right position), setting it to the left 
position disables the related digital input.

7. Emergency input screw connector:

EMRG GND    5V   

Here “EMRG” is connected to pin 17 of the screw-terminal (4) and can be used to provide a HIGH-
signal to the laser in order to enable it. When the emergency switch functionality is implemented an 
other way, it is also possible to directly connect the “5V” pin to “EMRG”.
“5V” is an output which provides 5V from the controller card. It can be used e.g. to apply a HIGH-signal 
to the EMRG-input, possibly via a relay contact. Please note. The “5V” pin of this screw connector is not 
allowed to be used for supplying power to any other peripherals.

8. mounting holes for HALdrive XY3-100 to analogue converter, can be used for placing a HALdrive 

converter board

66

background image

14 E1803base Mounting Kit

The E1803base extension is a mounting help for easy installation on DIN rails/C45 rails and other possibilities 
of mechanical integration into machines:

RED

 – mounting positions for DIN/C45 rail locks/DIN/C45 rail adapters (bottom side). Here pairs of locks can 

be mounted in one of 6 possible positions and one of two possible orientations (horizontal or vertical). Here 
locks of type Phoenix Contact 1201578 or similar can be used. With these locks the board then can be clamped 
on a DIN rail.

BLUE

 – mounting holes for the E1803D scanner controller card on top of the E1803base. Here 

hex-stands/distance bolts can be screwed in where the controller card is mounted on top.

GREEN

 – mounting holes for HALdrive XY3-100 to analogue converter, for placing a HALdrive converter board 

when E1803base is used as top-cover for E1803D

Mounting procedure for E1803base:

1. Identify suitable positions (

RED

) for two DIN/C45 rail locks and mount them on bottom side (two or 

three screws from top side into the lock on bottom)

2. Mount hex-stands or distance bolts in at least four of the given mounting holes (

BLUE

).

3. Mount E1803D on top of these hex-stands/distance bolts

4. Clamp the board on your DIN/C45 rail

Optionally and without the DIN/C45 rail clamps mounted, E1803base also can be used as top-cover for the 
E1803D controller. There the same (

BLUE

) holes can be used to mount the E1803base on top using hex-

stands/distance bolts.

67

background image

15 Quick Start into E1803D

Following a few steps are described that give users the possibility to quick start into usage of E1803D scanner 
controller. It makes use of BeamConstruct and USB connection. For this quick start manual it is assumed 
correct wiring of the controller is already done according to the description above. For more detailed 
information about BeamConstruct usage please also refer to quick start manual from 

https://.systems/download/manual_quickstart.pdf

 and to full user manual which is available at 

https://halaser.systems/download/manual.pdf

.

To start with E1803D controller:

1.

SECURITY CHECK:

 The following steps describe how to set up E1803D scanner controller card and 

how to control laser equipment with them. Thus all laser safety rules and regulations need to be 
respected, all required technical security mechanisms need to be available and active prior to starting 
with it.

2. Install latest software version from 

https://halaser.systems/download.php

 – for Windows this package 

contains all required drivers, for Linux no separate drivers are needed.

3. Connect E1803D controller via USB and apply +-12V .. +-24V power (depending on scanhead, as 

described above).

4. Now the Alive/Error-LED should light up and then start blinking after some time. When this does not 

happen, please turn power off, check if the microSD-card is placed correctly and then try again.

5. Evaluate the serial interface the controller is connected with – for Windows the Device Manager (can 

be found in Control Panel) will list a new COM-port (e.g. “COM3”); for Linux type “dmesg” in console to 
find out to which interface it was connected with (typically “/dev/ttyACM0”).

6. Start BeamConstruct laser marking software.
7. Go to menu “Project”   “Project Settings...”, then tab-pane “Scanner”.

8. Now you can select “E1803D” as scanner controller card. If is is not preselected, please choose the 

appropriate scanner controller in the related combo box.

9. Press the “Configure”-button to get into the settings dialogue for E1803D plug-in.
10. Enter the serial interface name in field “IP/Interface” (e.g. “COM3” or “/dev/ttyACM0”).
11. Leave everything with “OK”.
12. Draw some geometries as described in “BeamConstruct Quick Start Manual”.
13.

SECURITY CHECK:

 Next the scanner controller card will be accessed for the first time. That means it is 

opened and initialised and all connected equipment may start working now. Thus it is very important to 
ensure all security regulations are met and nobody can be injured and no damage can be caused also in 
case laser output or other motion starts spontaneously and unexpectedly!

14. Press “F2” or go to menu “Process”   “Mark” to open the mark dialogue.

15. Start marking by pressing the yellow laser-button!

68

background image

16 Command Interface

When E1803D scanner card is connected via USB and the USB-connection is NOT used for transmitting 
marking information, it can be used to send control commands to the card. Some of them are independent of 
the current operating mode and some of them can be used only in case the controller is operating in stand-
alone mode.
Alternatively control commands can also be sent via Telnet using Ethernet connection. Here a Telnet-client has 
to connect to port 23 using the IP of the scanner controller. This Telnet client should work in passive mode.
So when E1803D scanner card is connected this way via Ethernet and the Ethernet-connection is NOT used for 
transmitting marking information, it can be used to send control commands to the card. Some of them are 
independent of the current operating mode and some of them can be used only in case the controller is 
operating in stand-alone mode.
Such a control command always consists of ASCII-text. An appropriate client has to connect to the serial port 
(COMx for Windows and /dev/ttyACMx for Linux where “x” is a number identifying the specific serial interface 
or TCP/IP port 23). As soon as the connection is established, commands can be sent to the card. All commands 
come with following structure:

cxxxx [parameter(s)]

The commands always start with character “c”. Next four characters identify the command itself. Depending on 
the command one or more optional or mandatory parameters may follow. The end of the command always has 
to be marked with a CR/LF (aka “enter”) and returns with an "OK" or with an error.

When communicating via RS485 serial interface in bus-mode (means when several controllers are connected 
via the same RS485-line, when 

u0bypass

 is set to 1 and when 

busid

 is set), every c-command has to be 

preceded by fixed three-bytes in format “bXX” where “XX” is a value in range 00..99 equal to the bus-identifier 
set with configuration parameter 

busid

. So in busmode the structure of a d-command is

bXXcxxxx [parameter(s)]

16.1 General Commands

The following commands can be used in all scenarios, they do not depend on a specific operation mode of the 
card. Nevertheless it is recommended to not to send a command during card is marking to not to influence 
marking operation.

cvers

"

vers

ion" – return version information of controller card. This command returns a version string 

specifying version of hard- and firmware in style 

vFF-H

 where “

FF

” is the version of the firmware and “

H

” 

specifies the hadware revision of the controller.

cecho <0/1>

"

echo

" – when typing commands in a serial console communicating with the controller, all the typed 

characters are echoed, means they are sent back to the host so that a user can see what is typed. This is an 
unwanted behaviour when some kind of control software communicates with this interface. Using this 
command the serial echo mode can be turned off (parameter 0, only return values are sent back) or on 
(parameter 1, all data are sent back). When called with no parameters, the current echo mode value is returned.
Example: 

cecho 0

 – turn off echo mode

cginp

"

g

et 

inp

ut" – get the current state of the digital inputs. The input state is returned as a decimal number 

representing the bitpattern at the inputs. So when e.g. a value "15" is returned, this means the lower four inputs 
of the digital interface are set to HIGH while the upper ones are at LOW level

69

background image

cgbsr

"

g

et 

b

oard 

s

e

r

ial number" – returns the serial number of the card. This number is a unique, internal 

value that is used e.g. to identify a controller on host PC when more than one scanner card is used.

cjsor <factor>

j

ump 

s

peed 

o

verw

r

ite” - this command modifies the actual jump speed by using the given factor (in unit 

1/100%). All operations make use of the changed jump speed until a factor of 10000 is set or until the controller 
is restarted. This is true for both, stand-alone applications where an .EPR-file is loaded from microSD-card and 
for host-controlled marking operations (via libe1803 or BeamConstruct).

cmsor <factor>

m

ark 

s

peed 

o

verw

r

ite” - this command modifies the actual mark speed by using the given factor (in 

unit 1/100%). All operations make use of the changed mark speed until a factor of 10000 is set or until the 
controller is restarted. This is true for both, stand-alone applications where an .EPR-file is loaded from 
microSD-card and for host-controlled marking operations (via libe1803 or BeamConstruct).

cpwor <factor>

p

o

w

er 

o

verw

r

ite” - this command modifies the actual power by using the given factor (in unit 1/100). 

All operations make use of the changed power until a factor of 10000 is set or until the controller is restarted. 
This is true for both, stand-alone applications where an .EPR-file is loaded from microSD-card and for host-
controlled marking operations (via libe1803 or BeamConstruct).
This command influences following methods of setting laser power:

pulse width, here user has to ensure the resulting pulse width is smaller than the period of the related 
frequency, elsewhere the output will be a continuous signal

LP8 laser port

AOut0 and AOut1 analogue outputs

cfror <factor>

fr

equency 

o

verw

r

ite” - this command modifies the actual frequency by using the given factor (in unit 

1/100%). All operations make use of the changed power until a factor of 10000 is set or until the controller is 
restarted. This is true for both, stand-alone applications where an .EPR-file is loaded from microSD-card and for 
host-controlled marking operations (via libe1803 or BeamConstruct).
This command is not available for lasermodes CO

2

 or YAG

This function requires firmware version 16 or newer.

cpuor <factor>

pu

lse-width 

o

verw

r

ite” - this command modifies the actual pulse-width by using the given factor (in 

unit 1/100%). All operations make use of the changed pulse-width until a factor of 10000 is set or until the 
controller is restarted. This is true for both, stand-alone applications where an .EPR-file is loaded from 
microSD-card and for host-controlled marking operations (via libe1803 or BeamConstruct).
This command is not available for lasermodes CO

2

 or YAG, there the pulse-width is changed via command 

cpwor

.

This function requires firmware version 16 or newer.

cgmtx

g

et 

m

atri

x

” - return the four elements of the 2x2 output matrix. The members of the matrix are 

returned as four integers with a factor of 1000. So returned values of “1200 0 0 1200” are equal to a matrix

1,2 0,0
0,0 1,2

Which itself defines a scale factor of 1,2 in both, X and Y direction of the output.
This function requires firmware version 11 or newer.

70

background image

csmtx <m11 m12 m21 m22>

s

et 

m

a

t

ri

x

” - set a 2x2 matrix which is used for the global output of the scanner card. This means, the 

values applied here influence the whole project which is currently be marked. Such a 2x2 matrix can be used to 
modify the X- and Y-scale, the rotation and the X- and Y-slant of the output. The matrix members m11, m12, 
m21 and m22 have to be given as integers which represent the matrix elements multiplied by 1000.
As soon as a custom matrix is set via this command, all matrix values out of a loaded EPR file are ignored and 
only the matrix-values currently set are used. This includes gain and rotation correction settings which may be 
set in such an EPR file.
Example: 

csmtx 996 -87 87 996

 - rotate the output by 5 degrees; these values are generated out of the 

unity matrix {1000, 0, 0, 1000} which was multiplied with the rotation matrix {cos(5)*1000, -sin(5)*1000, 
sin(5)*1000, cos(5)*1000}
This function requires firmware version 11 or newer.

cswaf <factor>

Sets a factor in unit bits per mm that is used with all commands that specify some distance or position (such as 

cspof

). When this factor is set to a proper value, the given positions/distances can be specified in unit um 

instead of bits. When a factor of 1000 is specified, the functionality is reset back to the default behaviour where 
position values have to be given in unit bits.
This parameter requires a firmware version 18 or newer.

cspof <x y z>

s

et 

p

osition 

of

fset” – sets a n position offset for the complete output. This function expects three parameters 

for the offset to be set in X, Y and Z-direction. The values to be given here are signed 26 bit, means they need to 
be in range -33554431..33554432. To reset the offset for one or more directions, a value of 0 has to be set.
Please note: this offset is set prior to the matrix calculations which may be done when a custom output matrix is 
set using command 

csmtx

. Resulting from that, the matrix calculation also applies to the offset defined here. So 

when the matrix e.g. defines a scale factor for the output, the offset values specified here are scaled by the same 
factor.
Example: 

cspof -16777216 0 0

 – shift the output by a quarter of the whole available working area to the 

left.
This function requires firmware version 16 or newer.

cgana

g

et 

ana

logue input values – this command returns the values which have been read at analogue inputs 

AIn0..AIn2 recently. Reading of the analogue inputs is done cyclically and automatically with a low frequency. 
This command does not read the analogue values but returns the values which have been read at last cycle. So 
when this command is repeated too fast, it may return the same values.
This command returns the current values of all inputs AIn0, AIn1 and AIn2 all together.
To use this command, firmware version 4 and the Multi-IO Extension Board are needed.

16.2 Stand-Alone Control Commands

Following commands are useful in case scanner controller is operating in stand-alone mode where marking data 
are loaded from microSD-card using special EPR-fileformat.

cstop

"

stop

" – stop marking as fast as possible. A running marking operation is stopped and LaserGate is 

turned off.

chalt <0/1>

"

halt

" – halts or continues the processing and output of marking data. When given parameter is equal 

to 1, marking is stopped next time the laser is off but no vector data are flushed. On continue (parameter equal 
0) controller continues processing at the point where halt occurred. When marking is stopped with 

cstop

 the 

halt-condition is cleared too, means on next transmission of new marking data they are processed without the 
need to explicitly continue operation.

71

background image

cstrt

"

st

a

rt

" – start marking operation. This command can be called only when no marking operation is 

running and when a valid project (.epr) file was loaded. In this case the currently loaded project is marked once.

ctrig

"

trig

ger" – send an external trigger signal by software. When scanner card is in state "marking" but 

waiting for an external trigger, this command releases this trigger. So behaviour is the same like a rising edge on 
the ExtStart input of the controller card.

cstat

"

stat

e" – return the current state of the card. This command returns one of the following texts 

identifying the operational state:

marking

 – card is processing some marking data currently, means either actively outputting them or 

waiting for an external trigger to start marking

stand-alone

 – controller is in stand-alone mode

idle

 - card is waiting and not marking

waiting

 - a project file was loaded, is ready for execution and waits for a trigger signal (either via 

ExtStart input or via command "

ctrig

")

cscnc

s

et 

CNC

 data” – switch to a mode where G-Code process data are accepted via Telnet/serial interface. 

When this command is set, the G-Code reception mode stays active until a command “M2” (end of G-Code 
program) is detected. Only with this G-Code the controller returns to normal operation mode and again accepts 
native “c”- and “d”-commands.
This command can be used to download a CNC-program to the controller’s RAM directly. Such a CNC-program 
then can be executed like any other, stand-alone program which has been loaded from the SD-card. So using of 
command “cscnc” requires stand-alone mode “auto” in order to store the received G-Code data in memory for 
further processing and to control execution of the G-Code data. After the G-Code data have been transferred 
and transmission has been ended with “M2”, marking of these data can be started by applying an external 
trigger at ExtStart or by sending a trigger-event via command (e.g. “

ctrig

”).

To successfully send G-Code data, some preconditions have to be met. For data transmission via Telnet:

a G-Code line is limited to 255 characters maximum and always has to end with carriage return and/or 
line feed

when transferring more than one line at the same time, the maximum packet size is 1460 bytes, at the 
end of such a packed a G-Code line has to end too and it is recommended to flush the full output buffer 
in order to invoke a data transmission over TCP/IP; this procedure is recommended in order to have an 
as fast as possible data transfer independent from the implementation a TCP/IP stack really uses

For data transmission via USB serial interface:

a G-Code line is limited to 255 characters maximum and always has to end with carriage return and/or 
line feed

The structure and supported G-Code commands are described in section “17 Supported CNC G-Code 
Commands
“ below.
This function requires firmware version 3 or newer.

cxcnc

“e

x

ecute 

CNC

 data” – switch to a mode where G-Code process data are accepted via Telnet/serial 

interface and executed more or less immediately. When this command is set, the G-Code reception mode stays 
active until a command “M2” (end of G-Code program) is detected. Only with this G-Code the controller returns 
to normal operation mode and again accepts native “c”- and “d”-commands.
This command can be used to send CNC-commands to the controller in order to let them be executed 
automatically like some direct control commands. Different to “

cscnc

” it is not related to stand-alone 

operations, the G-codes are executed like a stream of commands. So “

cxcnc

” provides an other possibility to 

send operation data to the controller. When enough data have provided to the controller, it starts marking 

72

background image

automatically. In case of only very few CNC data that aren’t enough to let the controller start marking, this is 
done at the end of the CNC stream of data: after all the available G-Code data have been transferred and 
transmission has been ended with “M2”, marking of these data is started.
To successfully send G-Code data, some preconditions have to be met. For data transmission via Telnet:

a G-Code line is limited to 255 characters maximum and always has to end with carriage return and/or 
line feed

when transferring more than one line at the same time, the maximum packet size is 1460 bytes, at the 
end of such a packed a G-Code line has to end too and it is recommended to flush the full output buffer 
in order to invoke a data transmission over TCP/IP; this procedure is recommended in order to have an 
as fast as possible data transfer independent from the implementation a TCP/IP stack really uses

For data transmission via USB serial interface:

a G-Code line is limited to 255 characters maximum and always has to end with carriage return and/or 
line feed

The structure and supported G-Code commands are described in section “17 Supported CNC G-Code 
Commands
“ below.
This function requires firmware version 20 or newer.

cgtin

"

g

et 

t

rigger 

in

puts" – get the state of the external input signals. This command is not related to digital 

inputs of digital interface but provides information regarding signal state of external start and stop. It returns a 
value that specifies which of these input signals are currently HIGH:
0 – ExtStart and ExtStop are both LOW
2 – ExtStart is HIGH
4 – ExtStop is HIGH
6 – ExtStart and ExtStop are both HIGH

cscor <idx>

s

et 

cor

rection” - specifies a new index for a previously loaded correction file (see description of 

configuration parameter 

corrtable

 in section “6.5 microSD-Card” above). The parameter 

idx

 can be a value 

in range 0..15 and needs to correspond to a previously loaded correction table. The newly set correction table 
applies to all vector data which are processed after this call. Thus it is recommended to use it only when 
marking operation was stopped – elsewhere it is not predictable how many vector data already have been pre-
calculated with the previous correction table and starting with which vector data the new correction file is 
used.
When a 

idx

-value is set which corresponds to no correction file data, no more correction is performed on 

vector data.
This command requires firmware version 6 or newer.

cgcor

g

et 

cor

rection” - this command is the counterpart of 

cscor

 and displays the index number of the 

currently used correction file 
This command requires firmware version 6 or newer.

clepr <path>

"

l

oad 

epr

" – loads an EPR stand-alone file or CNC G-Code file from microSD card for outputting it on 

next marking operation. This command can be executed in stand-alone mode only.

When operating in stand-alone mode “idxselect”, the command expects a number as parameter which specifies 
the index file to be loaded.
When operating in stand-alone mode “ioselect” or “iohaltedloop”, the command is not supported.
When operating in any other stand-alone mode, the command expects the path to the file to be loaded as 
parameter. Since this is the only parameter, no quotes are allowed for the pathname. The pathname itself has to 
be in format

0:/filename.epr

or

73

background image

0:/filename.cnc

where 

0:/

 specifies the microSD-card, 

.epr

 is the standard extension of E1803D stand alone marking data 

files (this name is a short-cut for "

E1803D Pr

ocessing Data") and 

.cnc

 is the extension which has to be used 

when an ASCII-G-code file is provided. EPR-files can be created out of BeamConstruct, CNC-files are text files 
containing valid G-Code commands as described in section “17 Supported CNC G-Code Commands
During loading the ready-for-marking output signal is turned off and it is turned on only in case the file could be 
loaded successful (please refer to related section above).
Examples: 

clepr 0:/test.epr

 – loads a stand-alone file "test.epr" from microSD card

cgepr

g

et 

epr

” – returns the name of the currently loaded stand-alone file or an error “no file specified” when 

no file is loaded.

cdepr <path>

"

d

elete 

epr

" – deletes an EPR stand-alone file and all related, additional files from microSD card. This 

command can be executed in stand-alone mode only.

When operating in stand-alone mode “idxselect”, the command expects a number as parameter which specifies 
the index file to be loaded.
When operating in stand-alone mode “ioselect” or “iohaltedloop”, the command is not supported.
When operating in any other stand-alone mode, the command expects the path to the file to be delete as 
parameter. Since this is the only parameter, no quotes are allowed for the pathname. The pathname itself has to 
be in format

0:/filename.epr

where 

0:/

 specifies the microSD-card and 

.epr

 is the standard extension of E1701 stand-alone marking data 

files (this name is a shortcut for "

E

1803 

Pr

ocessing Data"). Deleting is done asynchronously, so the returned 

“OK” only verifies the command was accepted. Successful deletion of the file can be assumed after 0,5 seconds.
Examples: 

cdepr 0:/test.epr

 – deletes a stand-alone file "test.epr" from microSD card. When additional 

files 

test.dat

 (which may contain related dynamic data) and 

test.ser

 (which may hold serial number 

information) exist, they are deleted by this command too.
This command requires a firmware version 16 or newer.

ctlxy <x> <y> <z>

t

urn on 

l

aser at given 

XY

Z position” – lets the scanner move to a specific position and turns on the laser as long 

as ExtStart is HIGH
This command requires stand-alone mode “auto”. It can be used to turn on the laser as long as the ExtStart input 
is at HIGH. So using this function some externally controlled drilling or cutting operations are possible. As 
parameter it expects the X, Y and Z coordinate positions to jump to (in unit 26 bits). The sequence of commands 
to use this function are as follows:

unload the current project file (“e.g. by calling “

clepr 0:/notexist.epr

”)

call “

ctlxy

” together with the 26 bit XYZ position the scanner has to jump to   the parameters used 

for jumping are the ones out of the last EPR file executed

the state-flag 

E180X_CSTATE_SAC_CTLXY

 is set

the state-flag 

E180X_CSTATE_SAC_READY

 is set as soon as the scanner has arrived at the specified 

XYZ position, this happens together with the output DOut0:

wait until DOut0 goes to HIGH   this output signals the specified XYZ position was reached and the 

controller is able to turn on the laser now

pull ExtStart to HIGH   the laser is turned on within 1 usec at max using the laser parameters out of 

the last EPR file executed

as long as ExtStart is HIGH, the laser is turned on and DOut1 is at HIGH and the state-flag 

E180X_CSTATE_SAC_MARKING

 is set

pull ExtStart to LOW as soon as the laser has to be turned off   both DOut0 and DOut1 are pulled to 

low, the laser is turned off within 1 msec at max and all 

E180X_CSTATE_SAC_

-flags are reset

now the complete sequence has ended ad the 

ctlxy

-command has elapsed. To turn on the laser via 

ExtStart again, a new command 

ctlxy

 has to be issued

74

background image

Example:

ctlxy 33554432 33554432 33554432

Starts a ctlxy-sequence as described above with the scanner moved to the centre position.

This command requires firmware version 13 or newer.

csbuf <idx> <path>

s

et 

buf

fer” - this command works similar to the configuration parameter “iobuff” and can be called in 

stand-alone modes “ioselect” and “idxselect”. It can be used to preload EPR stand-alone data files into memory 
so that they can be accessed faster and without additional accesses of the SD card. The first parameter 

<idx>

 

is mandatory and specifies the slot the EPR file has to be loaded to. Different to parameter “iobuff” where the 
slot number is given automatically and where the index value can be in range 1..255, here the slot number and 
the index number are always the same and are in range 1..20. So only the first 20 index values can be used 
together with this dynamic loading function. When only 

<idx>

 is given, the loaded file is 

0:/<idx>.epr

Optionally also a file name 

<path>

 can be given in format 

0:/file.epr

. In this case the given file is loaded to 

the slot specified by 

<idx>

 and can be accessed with the related index number. After every call to 

csbuf

 the 

command 

cgbuf

 has to be executed repeatedly until it returns -1.

Examples:

csbuf 3

 – loads the file 

0:/3.epr

 from SD-card and stores it in slot number 3 so that it can be accessed 

either via “

clepr 3

” (in stand-alone mode “idxselect”) or via a digital input pattern at the digital interface 

representing a 3 (in stand-alone mode “ioselect)

csbuf 5 0:/markme.epr

 – loads the file 

0:/markme.epr

 from SD-card and stores it in slot number 5 so 

that it can be accessed either via “

clepr 5

” (in stand-alone mode “idxselect”) or via a digital input pattern at 

the digital interface representing a 5 (in stand-alone mode “ioselect)

This command requires firmware version 9 or newer.

cgbuf

g

et processed 

buf

fer” - returns the index number of the buffer that is currently processed by a 

previous call to 

cgbuf

. As long as this command returns a value greater than -1, no other calls to 

csbuf

 are 

allowed. The returned number specifies the index/slot number that is currently filled with data. When 

cgbuf

 

returns -1, the loading operation has been finished.

This command requires firmware version 9 or newer.

cstxt <"elementname"> <"text">

"

s

et 

t

e

xt

" – set a new text value to an element in currently loaded project. The parameters for this 

command both have to be given with quotes ("). Setting a text is possible only for dynamic elements like 
DataMatrix or QR barcodes or texts. Here "elementname" is the name of the element that has to be modified 
(this is the same name like shown in element-tree of BeamConstruct) and the new text to be set. The "text" 
itself can be a format string as used within BeamConstruct when a serial number input element is involved
Example: 

cstxt "Barcode 1" "Hello :-)"

 - sets a new text "Hello :-)" for the element with name 

"Barcode 1"

cgtxt <"elementname">

"

g

et 

t

e

xt

" – gets the currently used text value of an element in loaded project. The parameter for this 

command has to be given with quotes ("). Getting a text is possible only for dynamic elements like DataMatrix 
or QR barcodes or texts.

Example: 

cgtxt "Barcode 1"

 – gets the text from the element with name "Barcode 1"

csser <"elementname"> <cnt>

"

s

et 

ser

ial number" – sets a new serial count value to an element in currently loaded project. The 

75

background image

element name for this command has to be given with quotes ("). Setting a new count is possible only for dynamic 
elements like DataMatrix or QR barcodes or texts that have a serial number input element assigned. Setting the 
value has to be handled with care, here every value can be specified independent if it fits to possibly exiting beat 
count values.
Example: 

csser "Text 2" 42

 – set a new serial number count value 42 for element with the name "Text 2"

cgser <"elementname">

"

g

et 

ser

ial number" – gets the current serial count value from an element in loaded project. The 

element name for this command has to be given with quotes ("). Getting the count is possible only for dynamic 
elements like DataMatrix or QR barcodes or texts that have a serial number input element assigned. 

ciser <"elementname">

"

i

ncrement 

ser

ial number" – increments the current serial count value of an element according to its 

serial number parameters. The element name for this command has to be given with quotes ("). Incrementing 
the count is possible only for dynamic elements like DataMatrix or QR barcodes or texts that have a serial 
number input element assigned. This function is more secure than forced setting of a new count value with 
"csser" since it can't violate the counting rules.

cdser <"elementname">

"

d

ecrement 

ser

ial number" – decrements the current serial count value of an element according to its 

serial number parameters. The element name for this command has to be given with quotes ("). Decrementing 
the count is possible only for dynamic elements like DataMatrix or QR barcodes or texts that have a serial 
number input element assigned. This function is more secure than forced setting of a new count value with 
"csser" since it can't violate the counting rules.

crser <"elementname">

"

r

eset 

ser

ial number" – resets the current serial count value of an element to its start-value (according 

to its serial number parameters). The element name for this command has to be given with quotes ("). Resetting 
the count is possible only for dynamic elements like DataMatrix or QR barcodes or texts that have a serial 
number input element assigned. This function is more secure than forced setting of a value with "csser" since it 
can't violate the predefined serial number parameters and uses the correct reset value.

cstim <seconds>

"

s

et 

tim

e" – this command sets the system time to the value specified with the parameter. Here the 

number of seconds have to be specified that have elapsed since 01.01.1970 at 00:00:00. After sending this 
command the controller card operates at the given time. The time value is lost after next power cycle and has to 
be set again.
Example: 

cstim 1420113600

 – set the internal time of E1803D controller to 01.01.2015 12:00:00, here 

1420113600 represents the number of seconds that have been elapsed between 01.01.1970 00:00:00 and 
01.01.2015 12:00:00

crtim

"

r

etrieve 

tim

e" – this command schedules time retrieval from an SNTP server asynchronously. It always 

returns with "OK" since the command is scheduled for execution during next working cycles. To use this 
command, controller has to be configured with IP, netmask, gateway and SNTP server IP correctly and needs to 
be able to access this SNTP server from its position in network. For details please refer to description of 
configuration parameters in section about microSD card above.

cgtim

"

g

et 

tim

e" – returns the current time of the board in number of seconds that have elapsed since 

01.01.1970 at 00:00:00. After powering up the board and before a valid time has been set, this value is 
undefined.

76

background image

cftim

"

g

et 

f

ormatted 

tim

e" – returns the current time of the board as formatted string in style DD.MM.YYYY 

hh:mm:ss. After powering up the board and before a valid time has been set, this value is undefined.

cstyr <year>

"

s

et 

t

ime 

y

ea

r

" – sets the year of the current system time to the value given as parameter. This value 

has to be in range 1900..2038

cstmo <month>

"

s

et 

t

ime 

mo

nth" – sets the month of the current system time to the value given as parameter. This 

value has to be in range 1..12 according to the number of the month.

cstdy <day>

"

s

et 

t

ime 

d

a

y

" - sets the day of the current system time to the value given as parameter. This value has 

to be in range 1..28, 1..30 or 1..31 according to the length of the current month.

csthr <hour>

"

s

et 

t

ime 

h

our" – sets the hour of the current system time to the value given as parameter. This value 

has to be in range 0..23.

cstmi <minute>

"set time minute" – sets the minute of the current system time to the value given as parameter. This 

value has to be in range 0..59.

cstsc <second>

"

s

et 

t

ime 

s

e

c

ond" – sets the second of the current system time to the value given as parameter. This 

value has to be in range 0..59.

cgsta

"

g

et 

s

erial s

ta

te" – this command applies only when working in stand-alone mode with dynamic serial 

number data that change on every mark operation. It returns information if the state of serial numbers has 
changed and is not yet saved (in this case "pending" is returned) or if they have been saved and therefore do not 
get lost when power is turned off now ("saved" is returned in this case).

cssta

"

s

ave 

s

erial s

ta

te" - this command applies only when working in stand-alone mode with dynamic serial 

number data that change on every mark operation. When it is called, a command to save the current state of 
serial numbers is enqueued and will be processed as soon as controller is able to store these data. So when this 
command returns with "OK" that doesn't necessarily means the serial number states are saved now. The 
current save state still has to be checked by calling "cgsta" after "cssta" has been issued.

cdtl0 <text>

d

ot 

t

ext 

l

ine 

0

” - this command is used in dot mode matrix marking mode only. It can be used to set a 

new line of text for the upper line to be marked in dot matrix mode. It can be called several times in advance to 
set some more texts. They are marked in the order they have been set on every marking cycle started by an 

ExtStart input signal. Stopping a marking operation by calling “cstop” or by applying a signal to ExtStop input 
deletes all previously set texts and empties the whole text buffer.

cdtl1 <text>

77

background image

d

ot 

t

ext 

l

ine 

1

” - this command is used in dot mode matrix marking mode only. It can be used to set a 

new line of text for the lower, optional line to be marked in dot matrix mode. It can be called several times in 
advance to set some more texts for the second line. When the controller card is configured to work with two 
lines of texts, it always expects pairs of texts to be set, means “cdtl0” and “cdtl1” needs to be used always 
together. They are marked in the order they have been set on every marking cycle started by an ExtStart input 
signal. Stopping a marking operation by calling “cstop” or by applying a signal to ExtStop input deletes all 
previously set texts and empties the whole text buffer.

crrrr

"

r

eboot" – perform a warm reboot of the hardware and restart the firmware. Reboot is done 

immediately, means this command does not return anything but connection to the board will be interrupted as 
soon as it has been sent.

16.3 Hardware Commands

These commands can be used to access hardware signals directly. When these hardware outputs are set or 
unset while a marking operation is running, they may have no effect as they may be overridden immediately. 
Thus it is recommended to execute them only when the controller card is idle and no other operations are in 
progress. But also in this case, when a hardware output is set to a specific state, any operation (especially 
marking cycle) that is executed afterwards, may override that specific state-changes. Following hardware-
specific commands are supported:

csout <value>

"set output" – set the state of the digital outputs. The output to be set is specified as a decimal number 

representing the bitpattern. When no parameter is given, the behaviour is undefined.
Example: 

csout 128

 - set DOut7 at the digital interface to HIGH while all others stay at LOW

cglog

"

g

et 

log

line" – returns a single logging line. This command has to be called repeatedly until an error is 

returned to get logging information from the controller. On each call of this function one logging line is 
returned. When "

cglog

" isn't used for a longer time it may be possible the internal log-buffer has overrun. In 

this case "

cglog

" will not return all log information.

cslgt <value>

s

et 

L

aser

G

a

t

e” – set the state of the LaserGate output either to HIGH (value is set to 1) or to LOW (value is set 

to 0).
This command requires firmware version 15 or newer.

cslmo <value>

s

et 

MO

” – set the state of the main oscillator output either to HIGH (value is set to 1) or to LOW (value is set to 

0).
This command requires firmware version 15 or newer.

cslp8 <value>

s

et 

LP8

” – set the state of the LP8 output port to the value given as parameter. Here value is allowed to be in 

range 0..255, the related bits of the LP8 output are set according to the bitpattern of the specified number.
This command requires firmware version 15 or newer.

78

background image

16.4 Mark Control Commands

The following section describes commands that can be used to send marking data (including vector data and 
laser/scanner parameters) to the controller. If possible, these commands should not be mixed with the 
commands described above but have a different structure:

they always start with a character "d"

the total length of one frame (means one command) is always 14 bytes

they mustn't be terminated with CR/LF, the end of a frame is determined by its size of 14 bytes

they contain binary, means not human-readable data and therefore can't be sent manually

in bus-mode they are preceded by an additional identifier “bXX”

Different to the programming interface (“18.1 E1803D Easy Interface Functions”) mentioned below, this 
possibility to send control and marking data is completely independent from any host operating system and 
from any additional software or libraries. It gives the possibility to send marking data to the card right via some 
binary data which can be sent via Ethernet connection (Telnet) or USB serial interface.

PLEASE NOTE: when using Network/Telnet connection and when switching from a Mark Control Command 
("d"-command) to a general command ("c"-command as described above) it is recommended to flush all output 
before sending a command of other type.

These commands always have the following structure:

dCAAAABBBBEEEE
d

 – marks starting point of a frame and identifies a mark control command with a fixed length of 14 bytes 

(including this character)

C

 – 8 bit value that specifies what command has to be executed

AAAA

 – 32 bit little-endian value, it's meaning and usage depends on "C"

BBBB

 – 32 bit little-endian value, it's meaning and usage depends on "C"

EEEE

 – 32 bit little-endian value, it's meaning and usage depends on "C"

When communicating via RS485 serial interface in bus-mode (means when several controllers are connected 
via the same RS485-line, when 

u0bypass

 is set to 1 and when 

busid

 is set), every d-command has to be 

preceded by fixed three-bytes in format “bXX” where “XX” is a value in range 00..99 equal to the bus-identifier 
set with configuration parameter 

busid

. So in busmode the structure of a d-command is

bXXdCAAAABBBBEEEE.

It is recommended to collect commands before they are sent to the controller, especially in case Ethernet 
connection is used. In case of TCP/IP the used payload length of a TCP-frame is 1460 bytes which should be 
filled as much as possible in order to avoid additional data transfers. So when sending larger amounts of data to 
the controller, up to 104 command frames should be collected and then sent all together (104 * 14 = 1456 bytes 
which is close to 1460).

From time to time the controller sends back an answer to give back some state information. In case of 
Ethernet/Telnet connection this answer is not sent periodically but as response to a complete block of data sent 
to the card. Since the size of such a block is not specified and depends on the underlying TCP/IP implementation 
(in case of Ethernet connections), no predictions can be made after what amount of data a response frame is 
sent. Thus it is recommended to try to receive such a response frame every time some data have been 

transmitted until at least one frame was received. When host software is idle, it can try to read response frames 
permanently. To trigger transmission of a new response frame, "ping" control command 

0x0A

 can be used (for 

details please refer below).
In case of USB/serial connection this response is sent automatically after every 14 byte frame submitted, so it is 
necessary to always read them in order to avoid overrun of receive buffers.
Such a response frame gives back information about the current operational state of the card and comes in 
following structure:

dRLLLLSSSSIIII
d

 – marks starting point of a response frame with a fixed length of 14 bytes (including this character), this 

character can be used to re-synchronise

R

 – 8 bit value, currently always 0xFF; this value has to be checked for future compatibility, in case it is not 0xFF 

the frame has to be ignored!

LLLL

 – 32 bit little-endian value, here the amount of free command buffer space is returned; sending 

application has to ensure this buffer never overruns, so it is recommended to always leave a space of at least 

79

background image

200 commands (recommended: 1000), new commands should be sent only when there is more space than this 
left in this buffer

SSSS

 – 32 bit little-endian value, signalling operational state; this value can consist of following or-

concatenated flags:

0x00000001

 – card is currently marking

0x00000002

 – the external start input is currently HIGH

0x00000004

 – the external stop input is currently HIGH

0x00000008

 – the external start input was set to HIGH after last response frame, this value is set 

only once for every rising edge on this input

0x00000010

 – the external stop input was set to HIGH after last response frame, this value is set 

only once for every rising edge on this input

0x00000080

 – the controller has received some data which may result in a marking operation; 

these data are currently processed but marking has not yet started

0x00000400

 – card is active but currently waiting for an external trigger to continue operation

IIII

 - 32 bit little-endian value, lower 8 bit show the actual state of digital inputs

Currently following mark control commands (identified by the 8 bit hexadecimal value for position "

C

" in a 

frame) can be sent to the controller:

Jump to Position

Move to a given coordinate position using the current jump speed and with laser turned off

C = 0x00
AAAA = x-position to move to in range 0..67108863
BBBB = y-position to move to in range 0..67108863
EEEE = z-position to move to in range 0..67108863

Mark to Position

Move to a given coordinate position using the current mark speed and with laser turned on

C = 0x01
AAAA = x-position to move to in range 0..67108863
BBBB = y-position to move to in range 0..67108863
EEEE = z-position to move to in range 0..67108863

Start output

This command has to be called at the end of every marking sequence to ensure marking output really 

starts. This is important in case only a few vectors are sent to ensure marking is started but it is recommended 
to always use this command.
C = 0x02
AAAA = unused, set to 0
BBBB = unused, set to 0
EEEE = unused, set to 0

Wait for external trigger

Set a trigger point to current position of stream; emission of output data will stop until an external 

trigger signal is detected
C = 0x03
AAAA = unused, set to 0
BBBB = unused, set to 0
EEEE = unused, set to 0

Set speed values

Specify the speeds to be used during jump or mark movements (invoked by commands 0x00 and 0x01)

C = 0x04
AAAA = jumpspeed in unit bits per microsecond

80

background image

BBBB = markspeed in unit bits per microsecond
EEEE = unused, set to 0

Set laser delays

Specify the delays to be used when laser is turned on or off

C = 0x05
AAAA = laser on delay in unit microseconds and in range -10000000..10000000
BBBB = laser off delay in unit microseconds and in range 0..10000000
EEEE = unused, set to 0

Set scanner delays

Specify the delays to be used before and after mark and within a polygon

C = 0x06
AAAA = jumpdelay in unit microseconds
BBBB = markdelay in unit microseconds
EEEE = in-polygondelay in unit microseconds

Stop marking

Tries to halt, continue or stop current output depending on the chosen option

C = 0x07
AAAA = stop option:

0 - tries to stop operation as fast as possible and rejects all data that still may be enqueued for 
execution
1 - marking is stopped next time the laser is off but no vector data are flushed, card is still active
2 - controller continues processing at the point where halt occurred (requires a previously called 
command 0x07 with stop option 1)

BBBB = unused, set to 0
EEEE = unused, set to 0

Set wobble parameters

Specify the wobble settings to be used for next marking operations

C = 0x08
AAAA = wobble amplitude in X-direction using unit bits and with maximum range of 0..10000000 bits
BBBB = wobble amplitude in Y-direction using unit bits and with maximum range of 0..10000000 bits
EEEE = wobble frequency in unit Hz*100 and in range 1..2500000

Set LP8 outputs

Set LP0..LP7 output pins on laser signal connector

C = 0x09
AAAA - bitpattern to be set on LP0..LP7 output pins, here only lower 8 bits are used.
BBBB = unused, set to 0
EEEE = unused, set to 0

Ping

This command can be used to let the controller send back a state-information. So it can be used to 

check if the card is still operating or not.
ATTENTION: this command should not be sent repeatedly and without any delay! This could cause E1803D 
scanner controller to stall because the massive data transfer has to be handled. So it is recommended to have a 

delay of at least 150 msec between every ping.
C = 0x0A
AAAA - unused, set to 0
BBBB = unused, set to 0
EEEE = unused, set to 0

81

background image

Set digital outputs

Set DOut0..DOut7 output pins on digital interface connector

C = 0x0B
AAAA - bitpattern to be set on DOut0..DOut7 output pins, here only lower 8 bits are used.
BBBB = bitmask specifying which of the bits in AAAA have to be set or cleared, all these bits in AAAA are left 
unchanged, where the corresponding bit in BBBB is 0
EEEE = unused, set to 0

Set lasermode

Specify the laser mode the card has to operate with

C = 0x0C
AAAA - flags specifying the laser mode, here following values have to be or-concatenated to specify the 
behaviour of a laser:

0x40000000

 - laser frequency on LaserA output is turned on immediately and together with 

laser gate signal, this flag can't be used together with 

0x20000000

 

0x20000000

 - laser frequency on LaserA output is turned on after FPK time, this flag can't be 

used together with 

0x40000000

 

0x10000000

 - laser supports FPK on LaserB output

0x08000000

 - laser frequency has to be turned off and switched to standby-frequency

0x04000000

 – a frequency can be emitted at LaserB permanently, the related frequency can 

be specified with command 0x15

Using these flags following laser types can be configured:

CO

2

-laser:

0x40000000 + 0x08000000

YAG-laser with FPK:

0x40000000 + 0x08000000 + 0x10000000

 or

0x20000000 + 0x08000000 + 0x10000000

laser with continuously running frequency: 

0x40000000

BBBB = unused, set to 0
EEEE = unused, set to 0

Set marking on-the-fly parameters

Specify the parameters used for marking on-the-fly applications

C = 0x0D
AAAA = marking on-the-fly resolution in X-direction in unit bits per encoder increment
BBBB = marking on-the-fly resolution in Y-direction in unit bits per encoder increment
EEEE = unused, set to 0

Set laser frequency

Specify the frequency the laser has to be operated with during marks, usage of these parameters 

depends on the lasermode specified with command 0x0C
C = 0x0E
AAAA = frequency in unit Hz and in range 25..20000000 Hz
BBBB = pulse-width in unit microseconds and in range 1..65530 usec
EEEE = unused, set to 0

Set laser standby frequency

Specify the frequency the laser has to be operated with during jumps, usage of these parameters 

depends on the lasermode specified with command 0x0C
C = 0x0F
AAAA = frequency in unit Hz and in range 25..20000000 Hz
BBBB = pulse-width in unit microseconds and in range 1..65530 usec
EEEE = unused, set to 0

82

background image

Set first pulse killer

Specify the pulse width of the FPK signal when laser is turned on, usage of these parameters depends 

on the lasermode specified with command 0x0C
C = 0x11
AAAA = FPK pulse width in unit microseconds*100
BBBB = the time the laser frequency has to be started after beginning of FPK using unit microseconds*2, this 
value is used only when lasermode flag 0x20000000 is set
EEEE = unused, set to 0

Switch MO-output

Turns the MO-output of laser interface connector on or off

C = 0x12
AAAA = turn MO output on when equal 1, turn it off when 0
BBBB = unused, set to 0
EEEE = unused, set to 0

Release external trigger

When card is waiting for an external trigger this command can be sent to release this external trigger 

by software and to continue execution without the need to receive a real external signal
C = 0x13
AAAA = unused, set to 0
BBBB = unused, set to 0
EEEE = unused, set to 0

Wait for external input signal

Stop execution until a defined input bitpattern is detected at configurable input pins DIn0..DIn7 of 

digital interface connector
C = 0x14
AAAA = a bitpattern specifying which signals LOW or HIGH have to be detected at digital input pins
BBBB = a bitpattern specifying which of the digital input pins have to be watched for a signal, these bits that are 
set to 0 are ignored while these bits, that are set to 1 have to get the state specified in previous parameter in 
order to let operation of card continue
EEEE = unused, set to 0

Set LaserB frequency

Specify the frequency LaserB output has to emit; this function can only be used when operating using a 

laser mode with flag 

0x04000000

 set (see command 0x0C above).

C = 0x15
AAAA = frequency in unit Hz and in range 25..20000000 Hz
BBBB = pulse-width in unit microseconds and in range 1..65530 usec
EEEE = unused, set to 0

Wait until on-the-fly-increments have been elapsed

This command adds some special kind of delay to the application. It can be used only when marking on-

the-fly is enabled (by setting the on-the-fly factors), and halts laser marking not for a given time but for a given 
distance. Marking is continued only when the given number of increments has elapsed. When no or not enough 
increments are counted by the controller, operation only can be stopped.
This command requires firmware version 27 or newer.
C = 0x16
AAAA = positive or negative number of increments to wait for until operation continues; here it depends on the 
used counting direction of the encoder if the given distance-value has to be positive or negative, when sign of 
the number and counting direction of the encoder do not fit to each other, the controller will halt at this 
position for a very long time
BBBB = unused, set to 0

83

background image

EEEE = unused, set to 0

Insert a delay into the stream of data

This command adds a delay and lets the controller wait for the given time of ticks until the next 

command is executed. One tick is equal to 0,5 usec.
This command requires firmware version 12 or newer.
C = 0x18
AAAA = number of ticks to wait for
BBBB = unused, set to 0
EEEE = unused, set to 0

Switch LP8-Latch-output

Turns the LP8-Latch-output of laser interface connector on or off

This command requires firmware version 12 or newer.
C = 0x19
AAAA = turn Latch output on when equal 1, turn it off when 0
BBBB = unused, set to 0
EEEE = unused, set to 0

Specify output for MIP-signal

Specify a single output pin of digital interface connector to be used for "Mark in progress"-signal, this 

output pin will be HIGH as long as a marking operation is in progress.
C = 0x2A
AAAA = the number (not a bitpattern!) of the digital output pin to be used for MIP-signal (in range 0..7)
BBBB = unused, set to 0
EEEE = unused, set to 0

Halt/continue current marking operation

Stops the current marking operation on very next appearance of a jump or continue a previously halted 

operation.
C = 0x2F
AAAA = 1 to halt marking and 0 to continue a halted operation
BBBB = unused, set to 0
EEEE = unused, set to 0

Specify output for WET-signal

Specify a single output pin of digital interface connector to be used for "Wait External Trigger"-signal, 

this output pin will be HIGH as controller is waiting for an external trigger.
C = 0x33
AAAA = the number (not a bitpattern!) of the digital output pin to be used for WET-signal (in range 0..7)
BBBB = unused, set to 0
EEEE = unused, set to 0

Set first row of 2x2 output matrix

Specify the elements m11 and m12 of a 2x2 output matrix which is applied to all coordinate values as 

soon as the second half is applied with command 0x41. This matrix can be used to scale, slant, rotate and mirror 
the input coordinates in respect to the output positions. For details please check out description of command 
0x41 below

This command requires firmware version 3 or newer.
C=0x40
AAAA = the m11 part of the 2x2 matrix multiplied with 1000000
BBBB = the m12 part of the 2x2 matrix multiplied with 1000000
EEEE = unused, set to 0

84

background image

Set second row of 2x2 output matrix

Specify the elements m21 and m22 of a 2x2 output matrix which is applied to all coordinate values 

together with the first row of matrix data which has to be set using command 0x40 in a preceding call. This 
matrix can be used to scale, slant, rotate and mirror the input coordinates in respect to the output positions. 
Assumed a matrix bases on a 4-elements array, it has following structure:

{m11, m12, m21, m22}

then these matrix values can be used and even combined with each other by multiplying them:

rotation:

{cos(angle), -sin(angle), sin(angle), cos(angle)}

scaling:

{factorX, 0.0, 0.0, factorY}

slant X:

{1.0, 1.0/tan(angle), 0.0, 1.0}

slant Y:

{1.0, 0.0, 1.0/tan(angle), 1.0}

mirror X:

{-1.0, 0.0, 0.0, 1.0}

mirror Y:

{1.0, 0.0, 0.0, -1.0}

This command requires firmware version 3 or newer.
C=0x41
AAAA = the m21 part of the 2x2 matrix multiplied with 1000000
BBBB = the m22 part of the 2x2 matrix multiplied with 1000000
EEEE = unused, set to 0

Download new firmware

Download a new firmware file to the controller and write it to the microSD-card so that it can be used 

after next reboot. The binary data of the new firmware have to be appended directly to this command. This 
command has to be used in a specific sequence in order to ensure the current firmware file is updated correctly:

ensure the card is idle (state-flag 

SSSS

 is 0)

send command 0x45 with length of firmware data and checksum

send binary firmware data directly after this command

wait until card state returns “active” (by repeatedly sending ping-commands), now in state flag 

SSSS

 bit 

0x4000 (

E180X_CSTATE_WRITING_DATA

) is set

wait until card state returns “idle” again (by repeatedly sending ping-commands), the flag 0x4000 no 
longer should be set in state flag 

SSSS

check if an error occurred: when flags 0x8000 (

E180X_CSTATE_WRITING_DATA_ERROR

) is set in 

state flag 

SSSS

, downloading or writing or checksum calculation failed and the original file was not 

replaced; for debugging in such a case the command “cglog” can be called repeatedly until the related 
error text was found; when this error flag is set it can be reset only by using command 0x45 again

reboot the controller

check if the version of the firmware has changed

This command requires firmware 4 or newer.
C = 0x45
AAAA = the length of the firmware file in bytes
BBBB = checksum for verification of the downloaded data, only when this checksum is correct, the old firmware 

file will be replaced; the checksum can be calculated using following function (C example code):

unsigned int crc32b(const char *buf,size_t len)
{
   int          k;
   unsigned int crc=0xFFFFFFFF;

   while (len--)
   {
      crc^=*buf++;
      for (k=0; k<8; k++)
       crc=crc&1 ? (crc>>1) ^ 0x82f63b78 : crc>>1;
   }
   return ~crc;

85

background image

}

EEEE = specifies the file which has to be overwritten by the current data download:

0 – overwrite file 0:/version.txt when downloading of data was successful

1 – overwrite file 0:/e1803.fwi when downloading of data was successful

2 – overwrite file 0:/e1803.dat when downloading of data was successful

3 – overwrite file 0:/e1803.cfg when downloading of data was successful

Set Position Offset

Set a positive or negative offset which then applies to all following position commands submitted via 

command 0x00 or 0x01.
This offset is used until the controller is rebooted or until an other offset is set
This command requires firmware version 37 or newer.
C = 0x4D
AAAA = x-position offset in range -33554432..33554432
BBBB = y-position offset in range -33554432..33554432
EEEE = z-position offset in range -33554432..33554432

Set the digital outputs

Using this function the state of the digital interface outputs DOu0 to DOut7 can be changed by clearing 

and setting the related bits.
Additionally a delay value can be added which is applied after the change of the states of the outputs. This delay 
can be used to generate pulses. It lets the controller wait for the given time of ticks until the next command is 
executed. One tick is equal to 0,5 usec.
This command requires firmware version 22 or newer
C = 0x90
AAAA = clear bits; this value specifies which bits of the digital output have to be cleared. Here a value in range 
0..255 is expected and all value-bits that are set, correspond to digital outputs that are cleared
BBBB = set bits; this value specifies which bits of the digital output have to be set. Here a value in range 0..255 
is expected and all value-bits that are set, correspond to digital outputs that will be set
EEEE = number of ticks to wait for

Reset the board

This function performs a warm reboot of the hardware and restarts the firmware. Reboot is done 

immediately, means this command does not return anything but connection to the board will be interrupted as 
soon as it has been sent.
C = 0xFF
AAAA = unused, set to 0
BBBB = unused, set to 0
EEEE = unused, set to 0

86

background image

17 Supported CNC G-Code Commands

Starting with firmware version 2 E1803D supports G-Codes stored in a file on microSD card. A related CNC file 
has to be placed at microSD card. The file extension decides how it is loaded and interpreted, all G-Code ASCII 
files need to end with “.CNC”.

Starting with firmware version 3 E1803D supports G-codes sent to the controller via USB serial interface or 
Telnet. Such a data transfer has to be started with command “cscnc” or “cxcnc” (for details please refer to 
description above).

Starting with firmware version 20 the controller can also be configured to be in G-Code reception mode 
permanently by adding a parameter “

cxcnc

” to the e1803.cfg configuration file.

When one of these direct “

cxcnc

” control modes is active, a calling application can watch the execution state 

either via a digital output which is configured by using the configuration parameter 

wetout

, or via a specific G-

Code control protocol that is described in section 17.5 Control Protocol below.

To allow fast and efficient processing of a CNC file within E1803D, some points have to be noticed. So in order 
to improve loading performance it is recommended to:

not to have lots of leading or trailing spaces

not to make use of large comments

have exactly one space between code and related parameter

Beside of that it is mandatory to

have a space or CR/LF between two different codes (so e.g. “

G21 G90

” is valid but “

G21G90

” will result 

in an error)

have no space within a code or within a parameter of a code (so e.g. “

G0 X-0.5 Y.75 Z10

” is valid 

but “

G 0 X-0 .5 Y. 75 Z 10

” is not and will result in an error)

use a dot as separator in floating point variables (so e.g. “

T1 F6000.0

” is valid but “

T1 F6000,0

” is 

not and will result in an error)

Following the G-Code commands are described which are supported.

17.1 General G-Code Characters

Following codes and identifiers are supported by E1803D G-Code interpreter:

Code

Description

Example

%

Marks the begin of a G-Code file, this code is optional and does 
not have any effect

;

Begin of a comment, the remaining line is ignored;
in order to improve loading speed of a G-Code file comments 
and spaces at the end of a line should be removed

G21 ; set unit to mm

( )

Encapsulate a comment, all data within the brackets are 
ignored;
in order to improve loading speed of a G-Code file comments 
and spaces at the end of a line should be removed

G21 (set unit to mm) G90 
(use absolute 
positioning)

G

G-commands, please refer below for a description

G1 X25.75 Y31 Z0.25

M

M-commands, please refer below for a description

M3

T

T-commands, please refer below for a description

T1 F3000

87

background image

17.2 Supported “G”-codes

Following “G” codes and identifiers are supported by E1803D G-Code interpreter:

Code

Description

Example

G0

Jump to a specified position using predefined unit mm or inch 
and with maximal speed or – when set with command M704 – 
with the jump speed that was defined before. The position to 
jump to is specified by two or three parameters X, Y and Z. This 
movement is done with the laser turned off and by taking laser 
and scanner delays into account.

G0 X0 Y0 Z0

G1

Move to a specified position using predefined unit mm or inch 
and with a default or – when set with command M704 – with 
the mark speed that was defined before. The position to move 
to is specified by two or three parameters X, Y and Z. This 
movement is done with the laser turned on and by taking laser 
and scanner delays into account.

G1 X10 Y10.5 Z11.75

G2

A

dds a clockwise arc move with the laser turned on. An arc 

move starts at the current position and ends at the given XY 
coordinate, pivoting around a centre point offset given by the 
coordinates I and J or specified by the radius R. This command 
has two forms:

IJ-form

I and J specifiy an X and Y offset, at least one of them is 
always required

mixing I or J with R will result in an undefined 
behaviour

R-form

R specifies the radius, X and Y is mandatory

X or Y must be different from the current position

mixing I or J with R will result in an undefined 
behaviour

Requires firmware version 20 or newer

G2 X12.5 Y30 I10 J10

G2 X19 Y22.5 R 10

G3

Same as G2 but performs counter-clockwise movements, for 
details please refer above.

Requires firmware version 20 or newer

G3 X12.5 Y30 I10 J10

G3 X19 Y22.5 R 10

G4

When followed by a parameter „P“ execution is delayed by the 
given time (in unit seconds)

G4 P0.002

G17

Select the XY plane for marking operations. This means, given 
jump or movement coordinates in X and Y directions are 
applied to X and Y plane, optional Z coordinate is applied to 
remaining Z direction.

G17

G18

Select the ZX plane for marking operations. This means, given 
jump or movement coordinates in X and Y directions are 
applied to Z and X plane, optional Z coordinate is applied to 
remaining Y direction.

G18

G19

Select the YZ plane for marking operations. This means, given 
jump or movement coordinates in X and Y directions are 
applied to Y and Z plane, optional Z coordinate is applied to 
remaining X direction.

G19

88

background image

Code

Description

Example

G20

Set measurement unit to inch, means all positions handed over 
e.g. with G0 or G1 will be followed by coordinates in inch. In 
reality this has no effect for E1803D since calculation of 
marking positions is done based on the given working area 
which has to be defined with command M709

G20

G21

Set measurement unit to mm, means all positions handed over 
e.g. with G0 or G1 will be followed by coordinates in mm. In 
reality this has no effect for E1803D since calculation of 
marking positions is done based on the given working area 
which has to be defined with command M709

G21

G70

Set measurement unit to inch, means all positions handed over 
e.g. with G0 or G1 will be followed by coordinates in inch. In 
reality this has no effect for E1803D since calculation of 
marking positions is done based on the given working area 
which has to be defined with command M709

G70

G71

Set measurement unit to mm, means all positions handed over 
e.g. with G0 or G1 will be followed by coordinates in mm. In 
reality this has no effect for E1803D since calculation of 
marking positions is done based on the given working area 
which has to be defined with command M709

G71

G90

Enable absolute positioning, means all positions handed over 
e.g. with G0 or G1 will be followed by absolute coordinates 
according to the used coordinate system.

G90

G91

Enable relative positioning, means all positions handed over e.g. 
with G0 or G1 will be followed by coordinates that are relative 
to the previously used position in used coordinate system.

G90

17.3 Supported “M”-codes

Following “M” codes and identifiers are supported by E1803D G-Code interpreter, here all codes in range 
700..799 are specific to the E1803D and contain all laser-related parameters and values:

Code

Description

Example

M2

End of program. When this code is found, parsing of the CNC 
file is stopped and all following codes are ignored

M2

M3

Set laser on. This command does NOT turn on the laser but sets 
the internal state to „on“. This can be used to set e.g. the mark 
speed by a following command T1.

M3

M5

Set laser off. This command does NOT turn on or off the laser 
but sets its internal state to „off“. This can be used to set e.g. the 
jump speed by a following command T1.

M5

M700

Set the used laser type. This command is mandatory and has to 
be called prior to every laser-related command. As parameter it 
expects a decimal number which corresponds to the lasermode-
types 

E180X_LASERMODE_xxx

 as described in section „18.1 

E1803D Easy Interface Functions

M700 1073741831

89

background image

Code

Description

Example

M701

Set the frequency for the laser in unit Hz. This command is a 
place holder and has no effect when used with E1803D. Instead 
of that, the frequency has to be set lasertype-dependent via 
pulse length parameter of commands M715 (stand-by 
frequency) and M718 (mark or continuously running 
frequency)

M701 25000

M702

Set the laser power in unit 1/1000%. This command has to be 
used only in case of specific lasermodes. Resulting from the 
mode the effect is different:

E180X_LASERMODE_YAG

 – used in case of an SPI-laser, the 

power-value is set at analogue output AOut0

E180X_LASERMODE_MOPA

 – used in case of an IPG-laser, the 

power-value is latched out at LP8 laserport

M702 75555

M703

Set laser-on-delay (at parameter A) and laser-off-delay (at 
parameter B) in unit usec.

M703 A100 B200

M704

Set jump-speed (at parameter A) and mark-speed (at parameter 
B) in unit mm/min.
By default, when no value has been specified, a jump speed of 
1000 mm/sec and a mark speed of 10 mm/sec is assumed.

M704 A8936.592 B3000.00

M705

Set jump-delay (at parameter A), mark-delay (at parameter B) 
and in-polygon-delay (at parameter C) in unit usec.

M705 A500 B200 C2500

M707

Set the working area left position (at parameter X), top position 
(at parameter Y) and depth position (at optional parameter Z) in 
unit specified with commands G70 or G71. Together with M709 
this command specifies the valid working field, all positioning 
parameters handed over with e.g. G0 and G1 need to be located 
within this area.

PLEASE NOTE: this value should be set after the working area 

size is specified with command M709 as it makes use of the 

internal scale factor that is specified by M709!

M707 X110 Y100

M708

Set jump-delay (at parameter A), mark-delay (at parameter B) 
and variable polygon-delay (at parameter C) in unit usec. 
Different to command M705 here the third parameter specifies 
a variable delay which applies only to polygons at maximum 
angle of 180°.

M705 A500 B200 C2500

M709

Set the working area width (at parameter X), height (at 
parameter Y) and depth (at optional parameter Z) in unit 
specified with commands G70 or G71. Together with M707 this 
command specifies the valid working field, all positioning 
parameters handed over with e.g. G0 and G1 need to be located 
within this area.
By default, when no value has been specified, a working area 
size of 100x100x100 mm is assumed.

PLEASE NOTE: this value should be set as very first and prior 

to command M707 as it sets the internal scale factor that is 

used with all coordinate commands!

M709 X-55 Y55

M710

IPG pulse length value in unit nsec. This command is for future 
use and currently does not have any effect.

M710 10000

M711

Set wobble distance in X-direction (at parameter X), Y-direction 
(at parameter Y) in unit specified by commands G70 or G71 and 
wobble frequency (at parameter C) in unit Hz. When all values 
are set to 0, wobble marking is disabled completely.

M711 X2.5 Y2.5 C10000

90

background image

Code

Description

Example

M713

Set first pulse killer value (FPK) for YAG laser types using unit 
usec

M713 10000

M714

Set simmer value in unit 1/1000% for SPI laser types, the 
corresponding analogue voltage will be set at output AOut1

M714 55000

M715

Set standby-frequency (at parameter A) in unit Hz and standby-
pulsewidth (at parameter B) in unit nsec.

M715 A50000 B1000

M717

Set waveform number for SPI laser types latched out at LP8 

laser port.

M717 17

M718

Set laser frequency (at parameter A) in unit Hz and pulsewidth 
(at parameter B) in unit usec.

M718 A50000 B10

M719

Switch main oscillator on (1) or off (0). This command can be 
used together with SPI or IPG laser types prior to starting a 
mark operation to turn MO on or afterwards to turn it off. 
Required delays to turn on the MO are handled by E1803D 
internally.

M719 1

M720

This command is valid for CNC-operations only, that are 
invoked by the command “

cxcnc

”.

It flushes the currently collected CNC data and starts the 
related marking operation (if not already active).
This command requires firmware version 20 or newer.

M721

This command can be used to set custom default values for 
scanner movements. By default, X and Y axes are assumed to be 
centred within their working range and Z is assumed to be at 
the very bottom. At the very beginning, all movements with G0 
or G1 commands will start at these positions causing a hard 
jump of the scanner when its default position is different. So 
using this command, an other default/starting position can be 
specified which fits to the default position of the scanner. This 
command has to be used after setting the working area scale 
value with M709, after setting the metric working area offset 
with M707 and prior the very first usage of G0/G1.
This command requires firmware version 22 or newer.

M721 Z25.0

17.4 Supported “T”-codes

Following “T” codes and identifiers are supported by E1803D G-Code interpreter:

Code

Description

Example

T1

Set jump or mark speed to be used with commands G0 and G1 
in unit mm/min. Here it depends on a previous M-command if 
this value specifies the mark-speed (M3) or the jump speed 
(M5).

T1 F6000.0

17.5 Control Protocol

While the G-Codes, its syntax and meaning are standardised, the communication protocol that is used to 
evaluate the current state of the CNC-like operation, is not defined. Here several different control standards 
and protocols exist that are not compatible to each other. So this controller makes use of a very common, slim 
and easy to interpret control protocol: the one which is known from the GRBL free software. Due to the 
different type of controller, there are some changes which are described here.

91

background image

Following commands can be sent in between a stream of G-code data (different to GRBL they all have to be 
completed with a CR/LF in order to let the client software transmit the command to the controller properly):

?

 - check the current state of processing. Here a string is returned which makes use of following syntax:

<STATE|WPos:x,y,z|Pn:0x00000000>

Here state can be “Idle” (when no marking operation is in progress), “Trig” when a marking process is 
active but the controller waiting for an external trigger signal at the ExtStart-input, “Hold” when a 
marking process is active but the execution was held by the “!” control command or “Run” when a 
marking operation is in progress;

WPos is an optional value which returns the current/last position which was emitted to the scanhead 
at the X, Y and Z channels (using format 0.00);

Pn is an optional value which returns the state of the digital inputs at the digital interface(s); this format 
is slightly different to the GRBL variant, here a hexadecimal number is given which represents the input 
pattern while GRBL lets one single character appear for each known input

!

 - halt the current marking operation at the next suitable position, means the next time when the laser 

is turned off regularly; when this control command is used, the marking state changes from “Run” to 
“Hold”

~

 - continue a marking operation which was held with the “!” control command

cstat

 – similar to the 

cstat

-command as described at “16.2 Stand-Alone Control Commands”, this 

command returns the current marking state as textual representation making use of the syntax of the 

cstat

-command as described above

92

background image

18 Programming Interfaces

The libe1803.dll/libe1803.so shared library provides an own programming interface that gives the possibility to 
access and control the E1803D scanner controller card.

Beside of that e1803inter.dll / libe1803inter.so come with some compatibility interfaces for different other 
scanner cards like Scanlab™ RTC4™ and SCAPS™ USC1/2. They can be used to access E1803D scanner card 
with existing software easily. To do that, the "e1803inter" shared library just has to be renamed to the library 
name of the original vendor (like RTC4DLL.DLL, libslrtc4.so or sc_optic.dll). In order to operate E1803D card 
with different than the default connection settings, recompilation of code to be reused is necessary. Here at the 
very beginning and before initialisation a call to 

E180X_set_connection()

 has to be added in order to 

specify the connection to the card. Apart from this single case, none of the different programming interfaces 
should be mixed.

Sources of e1803inter.dll/libe1803inter.so are open and available for free, they can be found in public GIT 
repository (available at 

https://sourceforge.net/p/oapc/code/ci/master/tree/

).

18.1 E1803D Easy Interface Functions

The following functions belong to the native programming interface of E1803D scanner card and should be 
used preferential in order to get access to all features and full performance of the scanner card.  Header files 
and additional data required for using this interface can be found online in our public GIT-repository at 

https://sourceforge.net/p/oapc/code/ci/master/tree/libe1803/

. There at 

https://sourceforge.net/p/oapc/code/ci/master/tree/libe1803/libe1803_test/

 also an example application can 

be found that demonstrates the usage of the API.

Functions of E1803D Easy Interface are either stream commands that are executed in the order they are called, 
or functions that are executed immediately.

The E1803D does NOT use the concept of two or more lists that have to be managed and switched by the 
calling application. Here all stream commands simply are sent to the card without the need to provide some 
additional management information. Output of data is started only when 

E180X_execute()

 is called or when 

a card-internal threshold is exceeded. This card-internal triggered output of data can be held back by calling 
function 

E180X_set_trigger_point()

 as very first so that marking starts only after an external trigger 

signal was detected by the card or when the trigger point was released out of software by calling 

E180X_release_trigger_point()

.

E1803D Easy Interface uses unit “bits” as base for all units and parameters. Since E1803D card internally uses 
26 bits resolution for a better accuracy and to minimize round-off errors, all calculations are done with these 26 
bits. So the working area always has a size of 26 x 26 bits equal to 67108864 x 67108864. Independent from 
real resolution and output of hardware all calculations have to be done within this 26 bit range.

A typical flow of commands that makes use of the programming interface to output data at the scanner 
controller card looks like this:

E180X_set_connection()

   specifies 

how to connect with the scanner controller card but does 

not open the connection yet; this function returns an instance identifier which has to be used for all 
following function calls

E180X_load_correction()

   opens the connection to the scanner controller card (as specified in 

previous step) and optionally loads a correction table for the scanhead

send scanner and laser configuration parameters

send marking data via 

E180X_jump_abs()

 and 

E180X_mark_abs()

E180X_execute()

   ensure marking really starts, this function typically to be called once at the end 

of every complete marking cycle only to ensure the data are really flushed to the controller

E180X_get_card_state()

   call this function in a loop to ensure marking really has started by 

checking one of the flags 

E180X_CSTATE_MARKING

 or 

E180X_CSTATE_PROCESSING

 are set

93

background image

E180X_get_card_state()

   call this function in a loop to ensure marking really has ended by 

checking both flags 

E180X_CSTATE_MARKING

 and 

E180X_CSTATE_PROCESSING

 are not set any 

more

E180X_close()

   close the connection to the controller card and release all related resources

A fully functional example application that shows how to use the programming interface is available in our 
public GIT-repository at 

https://sourceforge.net/p/oapc/code/ci/master/tree/libe1803/libe1803_test/

.

E1803D Easy Interface provides following functions:

18.1.1 General functions

This section describes all general functions related to accessing the scanner controller card, starting and 
stopping operation of, checking the current operational state and other things more which are necessary to 
control flow of data and commands,

unsigned char E180X_set_connection(const char *address)

This function has to be called as very first. It is used to specify the IP address where the card is 

accessible at (in case of Ethernet connection) or the serial interface (in case of USB connection, “COMx” for 
Windows and “/dev/ttyACMx” for Linux where “x” is the number of its interface). By default IP 192.168.2.254 is 
used. This is the only function that has to be called in case of both, when compatibility functions and when the 
E1803D easy function interface is used.
It returns a card index number that has to be used with all following functions (this is true for Easy Interface and 
RTC-compatible functions).
PLEASE NOTE: calling this function does not open the connection to scanner controller card! This is done on 
first call to 

E180X_load_correction()

!

Parameters:

address

 – a char-array containing the IP in xxx.yyy.zzz.aaa notation or the name of the serial interface (COMx 

or /dev/ttyACMx) to be used

Return: the board instance number or 0 in case of an error

void E180X_set_password(const char n,const char *ethPwd)

Sets a password that is used for Ethernet connection of E1803D card. The same password should be 

configured on E1803D configuration file e1803.cfg with parameter "

passwd

" to add an additional level of 

security to an Ethernet controlled card.
PLEASE NOTE: usage of this password does NOT provide enough security to control the card via networks that 
are accessible by a larger audience, publicly or via Internet! Also when this password is set, the card always 
should operate in secured, separated networks only!
Every card and every connection should use an own, unique password that can consist of up to 48 characters 
containing numbers, lower- and upper-case letters and punctuation marks. Due to compatibility reasons no 
language-specific special characters should be used.
When connected via USB serial interface, this password is ignored. In this case no authentication is done.

Parameters:

ethPwd

 – the password to be used to authorise at an E1803D card. To reset a local password for connecting to 

a card that doesn't has an Ethernet password configured, hand over an empty string "" here

void E180X_close(unsigned char n)

Closes the connection to a card and releases all related resources. After this function was called, no 

more commands can be sent to the card until 

E180X_set_connection()

 and 

E180X_load_correction()

/

n_load_correction_file()

/

load_correction_file()/

ScSCIInitInterface() 

is called again.

Parameters:

n

 – the 1-based board instance number as returned by 

E180X_set_connection()

94

background image

int E180X_set_debug_logfile(const unsigned char n,const char *path,const 
unsigned char flags)

This function can be used during development to check an own application regarding called commands 

and their parameters. It lets libe1803 write all function calls into a logfile so that it is possible to evaluate the 
real order of commands.

Parameters:

n

 – the 1-based board instance number as returned by 

E180X_set_connection()

path

 – full path to the file which has to be used as debug log file

flags

 – a bunch of OR-concatenated flags which specify what function calls have to be written into or filtered 

from the log output; when 0x00 is specified here, the log file is kept quite small. When 0x01 is set, all motion-
related function calls are added too, when 0x02 is set, all calls which check the state of the card are added to 
the log file.

Return: 

E180X_OK

 or an 

E180X_ERROR_

-return code in case of an error

int E180X_set_sync(const unsigned char n,const unsigned int flags,const unsigned 
int value)

This function sends a synchronisation 

value

 to the controller. As soon as marking reaches the related 

position in stream, the value returned by function 

E180X_get_sync()

 changes to the value given here.

This command delays execution of the data by 0,5 usec, so it should not be used excessively. A value of 
0xFFFFFFFF disables this function.
This function requires firmware version 3 or newer.

Parameters:

n

 – the 1-based board instance number as returned by 

E180X_set_connection()

flags

 – currently unused, set to 0 for future compatibility

value

 – the value to be used as sync-identifier, here on every call a different value should be handed over in 

order to differentiate what is returned by 

E180X_get_sync()

.

Return: 

E180X_OK

 or an 

E180X_ERROR_

-return code in case of an error

unsigned int E180X_get_sync(const unsigned char n)

Returns a sync-identifier as set by 

E180X_set_sync()

 as soon as the related position in stream was 

reached.
This function requires firmware version 3 or newer.

Parameters:

n

 – the 1-based board instance number as returned by 

E180X_set_connection()

Return: the last sync-identifier which was identified and processed in stream of commands or 0xFFFFFFFF 
when function is not used/turned off

int32_t E180X_execute(const uint8_t n, const uint32_t flags)

Starts execution of all previously sent commands in case card is not already outputting these data. This 

function should be called typically once as soon as all vector data have been sent to the controller. It should be 
called in every sequence of commands, even when the controller is already marking to terminate the sequence 
of vectors which have been submitted. This call does not necessarily start the marking operation as the 
controller is free to decide to do this at an earlier point in time but it ensures a proper transmission of all data 
from control-PC to the controller. To exactly define when marking has to start, function 

E180X_set_trigger_point()

 should be used.

When parameter 

flags

 is set to 0, the function works asynchronously, means after flushing the marking data it 

returns immediately. In this case, the calling application has to check for the marking states “marking” and “idle” 
to find out if marking is completed (by using function 

E180X_get_card_state()

).

95

background image

When parameter 

flags

 is set to 

E180X_COMMAND_FLAG_SYNC

, the function blocks, until marking has 

completed or has been stopped. In this case no further calls to 

E180X_get_card_state()

 are necessary, as 

the card state can be assumed to be “idle” when the function returns.
In general and independent from this function, marking is finished only when STOP (ExtStop signal input or 

E180X_stop_execution()

) is invoked or when the internal buffer is empty. When internal buffer runs 

empty because subsequent data are not sent fast enough, an additional call to 

E180X_execute()

 is necessary 

in order to output the remaining data.
This is not a stream command since it controls the already sent stream of commands.

Parameters:

n

 – the 1-based board instance number as returned by 

E180X_set_connection()

Return: 

E180X_OK

 or an 

E180X_ERROR_

-return code in case of an error

int E180X_stop_execution(unsigned char n)

Stops the currently running execution as fast as possible and drops all data and commands that still may 

be queued. Calling this function also would drop all laser and scanner parameters that are already sent to the 
controller but not yet processed. Thus after calling this function it may be necessary to set scanner and laser 
parameters again in order to ensure they are used for following operations.
This is not a stream command since it controls the current stream of commands.

PLEASE NOTE:

 this function should not be called on the off-chance “to be sure nothing is running”. The 

command works asynchronously and causes a state-change which can have some unwanted side-effects when 
it is used without a specific reason. So calling the function should be done only when the controller is really in 
state marking/running, and after calling it, no other functions have to be used until the state 
(

E180X_get_card_state()

) has changed back to idle. As the stop is done as fast as possible, the point, at 

what the stream is stopped, is undefined. Means any function that has been called between the last call to 

E180X_execute()

 and 

E180X_stop_execution()

 may not have an effect and probably needs to be 

repeated.

Parameters:

n

 – the 1-based board instance number as returned by 

E180X_set_connection()

Return: 

E180X_OK

 or an 

E180X_ERROR_

-return code in case of an error

int E180X_halt_execution(unsigned char n,unsigned char halt)

Halts or continues the processing and output of marking data. On 

halt=1

 marking is stopped next 

time the laser is turned off. Different to a full stop, no vector data are dropped. On continue (

halt=0

controller continues processing at the point where halt occurred. When marking is stopped with 

E180X_stop_execution()

 the halt-condition is cleared too, means on next transmission of new marking 

data they are processed without the need to explicitly continue last operation.

Parameters:

n

 – the 1-based board instance number as returned by 

E180X_set_connection()

halt

 – 1 to halt operation next time the laser is off, 0 to continue a previously halted operation

Return: 

E180X_OK

 or an 

E180X_ERROR_

-return code in case of an error

int E180X_set_trigger_point(unsigned char n)

Specifies a point in data stream where execution has to stop until an external trigger signal (mark start) 

or a manual release of this trigger point is detected. This expects a rising edge on ExtStart input or calling of 
function 

E180X_release_trigger_point()

.

This is a stream-command, means it is executed at a point in stream that is relative to the other stream 
commands.

Parameters:

n

 – the 1-based board instance number as returned by 

E180X_set_connection()

96

background image

Return: 

E180X_OK

 or an 

E180X_ERROR_

-return code in case of an error

int E180X_release_trigger_point(unsigned char n)

This function should be called only when a previous call to 

E180X_set_trigger_point()

 was 

done. It acts like an external trigger signal, releases the waiting condition and lets the controller start 
processing. So this function provides some kind of software-simulated external start-signal.
ATTENTION: this command will not arrive at the controller when there is no more space left on it, means when 
all controller-internal buffers are filled. So after a call to 

E180X_set_trigger_point()

 and during sending 

of commands and data to the controller, application has to ensure there is some space left in controller's 
buffers. This can be done by calling 

E180X_get_free_space()

 with flag 

E180X_FREE_SPACE_PRIMARY

 

for checking the available space in primary buffer. It is recommended to leave space for at least 10000 elements 
in primary buffer in order to let a call to 

E180X_release_trigger_point()

 work properly.

When the buffers already have been filled completely, this function will no longer work and marking can be 
started only by applying the ExtStart hardware signal.
This is not a stream-command, it is applied to controller immediately.

Parameters:

n

 – the 1-based board instance number as returned by 

E180X_set_connection()

Return: 

E180X_OK

 or an 

E180X_ERROR_

-return code in case of an error

unsigned int E180X_get_startstop_state(unsigned char n)

This function returns a bit pattern that informs about state of the start and stop input pins.

This is not a stream command since it returns the current state immediately. Here “current state” means the last 
known state. When the state changes during this call, it may be possible the previous, no longer actual state is 
given back since transmission of data from controller to host is done asynchronously and independent from a 
call to this function.

Parameters:

n

 – the 1-based board instance number as returned by 

E180X_set_connection()

Return: a bit pattern specifying the current state:

bit 0 and 1 (0x00000003) specify if the start input was set after last call of this function, when these 
bits are set, a rising edge has been detected at this input; calling this function resets the internal state 
of these bits, means when it is called again and when no new rising edge has been detected meanwhile, 
these bits will be 0

bit 2 and 3 (0x0000000C) specify if the stop input was set after last call of this function, when they are 
set, a rising edge has been detected at this input; calling this function resets the internal state of these 
bits, means when it is called again and when no new rising edge has been detected at top input 
meanwhile, these bits will be low

bit 12 (0x00001000) this bit signals the start input is low, as long as this bit is set no start input signal is 
detected

int E180X_get_card_state(const unsigned char n,unsigned int *state)

This function returns a bit pattern that informs about cards current operational state. Here “current 

state” means the last known state. When the state changes during this call, it may be possible the previous, no 
longer actual state is given back since transmission of data from controller to host is done asynchronously and 
independent from a call to this function.
The card-states are enqueued internally in order to not to lose a “busy”-state which may be available for a very 
short time only in case of very small and fast marking cycles. So every state change caused by the calling 
application results in on state change returned by this function. This means for every marking cycle the 
application has to wait for two state changes: first wait until this function signals “busy” 
(

E180X_CSTATE_MARKING|E180X_CSTATE_PROCESSING

), next wait until this function signals “ready” (0).

During transfer of vector data and scanner/laser parameters this function should be called as rarely as possible: 
every call of 

E180X_get_card_state()

 performs a fully cycle of transmission and receiving of data to and 

97

background image

from the controller. Dependent on the current transmission state this may result in submission of a small block 
of data which does not uses the full available bandwidth. On excessive use of this function this can slow down 
the whole transfer of data.
This is not a stream command, it returns the current state immediately.

Parameters:

n

 – the 1-based board instance number as returned by 

E180X_set_connection()

state

 – pointer to a variable where the card state has to be written to: a bit pattern of or-concatenated 

constants specifying the current state:

E180X_CSTATE_MARKING

 – card is currently marking

E180X_CSTATE_PROCESSING

 – card has received some data that are enqueued for marking

E180X_CSTATE_WAS_START_PRESSED

 – the ExtStart input was triggered, this flag is cleared after it 

has bean read and is set again only when ExtStart was triggered again

E180X_CSTATE_WAS_STOP_PRESSED

 – the ExtStop input was triggered, this flag is cleared after it 

has bean read and is set again only when ExtStop was triggered again

E180X_CSTATE_FILE_WRITE_ERROR

 – this flag is returned only in case stand-alone data are written 

to the microSD card and in case an file error occurs during this procedure. As writing an EPR file is done 
as asynchronous stream, errors during this procedure are not announced by the functions which are 
called but only by this error state. For more information about writing of stand alone data please refer 
to section “18.1.8 Writing of stand-alone data

E180X_CSTATE_WAIT_EXTTRIGGER

 – the controller is in state “marking” but is not yet processing 

any data as it is waiting for an external trigger

E180X_CSTATE_HALTED

 – the controller is in state “marking” but is not yet processing any data as it is 

currently halted by function 

E180X_halt_execution()

E180X_CSTATE_WAIT_INPUT

 – the controller is in state “marking” but is not yet processing any data 

as it is waiting for a specific input pattern at the digital inputs

E180X_CSTATE_SAC_READY

 – this flag applies only to stand-alone modes; it is similar to output 

DOut0 and signals the controller has loaded a stand-alone file and is ready for marking

E180X_CSTATE_SAC_MARKING

 – this flag applies only to stand-alone modes; it is similar to output 

DOut1 and signals the controller is marking a loaded EPR file

E180X_CSTATE_SAC_CTLXY

 – this flag applies only to stand-alone modes; it signals a “

ctlxy

” 

command was received and the related mode is active

When the function returns an error code instead of 

E180X_OK

, this value is undefined and can't be used.

Return: 

E180X_OK

 or an 

E180X_ERROR_

-return code in case of an error

int E180X_delay(unsigned char n, double delay)

Pause marking for the given time/wait for execution of the next command in stream for the given time.

This is a stream-command, means it is executed at a point in stream that is relative to the other stream 
commands.

Parameters:

n

 – the 1-based board instance number as returned by 

E180X_set_connection()

delay

 – time to wait until marking continues in unit usec, smallest possible value is 0,500 usec

Return: 

E180X_OK

 or an 

E180X_ERROR_

-return code in case of an error

int E180X_get_free_space(unsigned char n,int buffer)

This function returns the space (in unit "commands") that is free in one of the buffers of E1803. Here 

parameter 

buffer

 decides which buffer has to be checked.

Parameters:

n

 – the 1-based board instance number as returned by 

E180X_set_connection()

buffer

 – expects a constant which decides what buffer has to be checked, it has to be set to one of the 

following values:

98

background image

E180X_FREE_SPACE_PRIMARY

 – return size of the primary buffer; it can be used to avoid memory on 

host system is filled which may happen when vector data are sent to the controller while it's internal 
buffers are already full. In this case these data would have been stored on host side consuming some 
memory there. Using this function this problem can be avoided by sending commands only in case this 
function returns a value that is (much) larger than 0.
The primary buffer that can be checked by using this value is one of two available buffers on E1803D 
controller. The primary one has a size of 1 million and is used to feed the secondary buffer (with a size 
of 20 million). So when this function returns 1000000, this does not mean the buffer is empty and no 
vector data currently processed – they still may be stored in secondary buffer. So to check the 
operational state of the controller, only function 

E180X_get_card_state()

 can be used.

This buffer has also to be checked when function 

E180X_release_trigger_point()

 is used in 

order to ensure the command can arrive at the controller. For a detailed description please refer to 
explanation of 

E180X_release_trigger_point()

 above.

E180X_FREE_SPACE_SECONDARY

 – return size of the secondary buffer; this one is filled by data from 

primary buffer and contains raw commands (like single micro vectors that concatenate to a full vector 
during output).

Return: -1 in case the function failed or the amount of free space in primary buffer.

void E180X_get_version(unsigned char n, unsigned short *hwVersion, unsigned 
short *fwVersion)

Get the hardware and software version of the used board. It is recommended to call this function after 

successful connect always and to check if used hardware and firmware version is at least a version that is 
known to work with own software.
This is not a stream command, it is executed immediately and independent from all other commands.

Parameters:

n

 – the 1-based board instance number as returned by 

E180X_set_connection()

hwVersion

 – pointer to a variable where the hardware revision/version number is written into

fwVersion

 – pointer to a variable where the revision/version number of the firmware running on the board is 

written into

int E180X_get_library_version()

Returns an integer value which is an identifier specifying the version of this shared library. In decimal 

notation this identifier uses format "Mmmrrr" where "M" is the major version, "m" the minor version number 
and "r" the release count. The bigger the whole returned number is, the newer the library is.

int E180X_get_serial_number(const unsigned char n,char *serial,const int length)

Reads the serial number of the used board and returns it as 7 bit ASCII data.
This is not a stream command, it is executed immediately and independent from all other commands.
This function requires a firmware version 12 or newer.

Parameters:

n

 – the 1-based board instance number as returned by 

E180X_set_connection()

serial

 – pointer to a char-array where the serial number has to be stored into, this memory area needs to 

have a size of at least 40 bytes

length

 – available length of the memory area where 

serial

 points to

Return: 

E180X_OK

 or an 

E180X_ERROR_

-return code in case of an error

99

background image

int E180X_ana_read(const unsigned char n,const unsigned int flags,unsigned short 
*a)

Read a value from one of the analogue inputs. Here the parameter 

flags

 decides which output has to 

be accessed in which way:

E180X_COMMAND_FLAG_ANA_AIN0

 – read data from analogue input AIn0

E180X_COMMAND_FLAG_ANA_AIN1

 – read data from analogue input AIn1

E180X_COMMAND_FLAG_ANA_AIN2

 – read data from analogue input AIn2

The value returned in 

a

 is always a 16 bit value in range 0..65535  independent from the real resolution of the 

hardware.

Parameters:

n

 – the 1-based board instance number as returned by 

E180X_set_connection()

flags

 – flags specifying when the command has to be executed and which analogue output has to be set

a

 – value read from the analogue input, independent on the real resolution of the hardware, here always a 16 

bit value is returned, means a value of 65535 would correspond to full input voltage of 5V
Return: 

E180X_OK

 or an 

E180X_ERROR_

-return code in case of an error

This function requires firmware version 4 or newer and the Multi-IO expansion board or the Intelli-IO 
expansion board.

18.1.2 Laser and scanner related functions

This section describes all functions which are related to the scanhead and laser control and therefore have 
influence on the signals at the laser interface and the XY2-100 connector. The related interfaces are described 
in section „6.7 Laser Signals“ and section „6.6 Scanner Signals“.

int E180X_load_correction(unsigned char n, const char* filename, unsigned char 
tableNum)

Opens connection to the card and loads a correction file to be used during vector data output. In case a 

previously loaded correction table has to be flushed and no other correction has to be used, parameter 
"

filename

" needs to be empty.

This function has to be called for first time on initialisation and before any vector data are sent to the board. It is 
mandatory to call this function at least once since it establishes connection to E1803D card. So when no 
correction file has to be used this function still has to be called but with an empty filename “”.
This function supports different correction table file formats directly and without previous conversion:

BeamConstruct .bco high resolution files

Scanlab .ctb and .ct5 files

SCAPS .ucf files

Raylase .gcd files

Rofin .fcr files

CTI/GSI .xml files

Sunny .txt 5x5 point correction files

Han’s .crt files

This is not a stream-command, means its data may be applied immediately and independent from current 
stream state.

Parameters:

n

 – the 1-based board instance number as returned by 

E180X_set_connection()

filename

 – the full path to the correction file to be loaded from file system, when "" is specified here, a 

previously used correction file is flushed and no/neutral correction is used as long as no other correction table 

is given

tableNum

 – the 0-based correction table number these data have to be loaded for; it is possible to download 

up to 16 different correction tables and to switch between them during operation using function 

E180X_switch_correction()

Return: 

E180X_OK

 or an 

E180X_ERROR_

- or RTC-compatible return code in case of an error

100

background image

int E180X_switch_correction(unsigned char n, unsigned char tableNum)

Switches between up to 16 correction tables on the fly. When a table-number is given where no file was 

downloaded before using function 

E180X_load_correction()

, no correction is performed on all following 

vector data.
This is a stream-command, means the new correction is applied to vector data sent to the card after this 
command but NOT to already sent but not yet processed data. Thus on-the-fly switching between correction 
tables is possible.

Parameters:

n

 – the 1-based board instance number as returned by 

E180X_set_connection()

tableNum

 – the 0-based table number of the correction that has to be used for all following vector data

Return: 

E180X_OK

 or an 

E180X_ERROR_

-return code in case of an error

int E180X_set_xy_correction(const unsigned char n,const unsigned int flags const 
double gainX, const double gainY,const double rot,const int offsetX,const int 
offsetY,const double slantX,const double slantY)

Sets size correction factor and offset for X and Y direction of working area as well as a rotation.

This function will overwrite all corrections specified with 

E180X_set_matrix()

.

This is a stream-command, means its parameters are applied at a point in stream that is relative to the other 
stream commands.

Parameters:

n

 – the 1-based board instance number as returned by 

E180X_set_connection()

flags

 – an optional set of OR-concatenated flags which specify the correction/modification of the output 

further. 

E180X_COMMAND_FLAG_XYCORR_FLIPXY

 exchanges the X and Y coordinates and therefore flips the 

output, 

E180X_COMMAND_FLAG_XYCORR_MIRRORX

 mirrors the X-coordinates, 

E180X_COMMAND_FLAG_XYCORR_MIRRORY

 mirrors the output in Y-direction. If none of these additional 

corrections is required, set 

flags

 to 0.

gainX

 – scale factor in x-direction, 1.0 means no scaling

gainY

 – scale factor in y-direction, 1.0 means no scaling

rot

 – rotation of whole working area in unit degrees

offsetX

 – offset in x-direction in unit bits, 0 means no offset

offsetY

 – offset in y-direction in unit bits, 0 means no offset

slantX

 – trapezoidal correction along X-axis in range -45..45°

slantY

 – trapezoidal correction along Y-axis in range -45..45°

Return: 

E180X_OK

 or an 

E180X_ERROR_

-return code in case of an error

int E180X_set_z_correction(const unsigned char n,const int flags,const double 
gainZ,const int offsetZ,const unsigned int h,const double xy_to_z_ratio)

Set additional Z correction parameters.

This function may be used to adjust the Z-axis and in cases where third axis is used with a large Z working range 
for an additional Z-focus-correction. Here additional deviation occurs when no F-Theta lens is used caused by 
the fact that the beam is always sent from the centre of the scanhead – which causes some kind of projection 
resulting in larger or smaller X and Y positions depending on the real Z height. This deviation can be adjusted by 
an internal Z-focus-correction.
Beside of that, the Z-position can be adjusted via a gain factor and by using an offset, shifting it into a specific 
direction

This is a stream-command, means its parameters are applied at a point in stream that is relative to the other 
stream commands and changed values apply only to these vector data and coordinates, which are sent after 
calling this function.

Parameters:

n

 – the 1-based board instance number as returned by 

E180X_set_connection()

101

background image

flags

 – optionally set the flag 

E180X_COMMAND_FLAG_ZCORR_MIRRORZ

 to invert the orientation of the Z-

axis, for normal scanhead working in correct direction, this value can be left at 0

gainZ

 – scales the Z axis by the given factor, when set to 1.0, no scaling is applied to the Z-coordinates

offsetZ

 – shifts the Z-position into the given direction (using unit bits), when set to 0, no offset is applied to 

the Z-coordinates

h

 – the vertical height from last mirror of the scanhead to the working area (Z-position 0 of working area) in 

unit bits, when set to 0, the Z-focus-correction is disabled

xy_to_z_ratio

 – factor specifying the ratio between maximal horizontal working area size and maximal 

vertical movement size. As an example: when the working area has a size of 100 x 100 mm and the Z-axis has a 
maximum movement range of -20 mm .. 20 mm, the ratio to be set is 2,5 (100 mm horizontal divided by 40 mm 
vertical); when this value is set to a ratio equal or smaller than 0.0, the Z-focus-correction is disabled

For more details about the Z-focus correction applied by setting the parameters 

h

 and 

xy_to_z_ratio

please refer to the image below:

Here “h” is the height from the position where the beam hits the last mirror to the position of the working area 
at z=0 position (in unit bits). “xy” is the width of the working area to be used together with the “z” range from 
“z=min” to “z=max” to calculate the 

xy_to_z_ratio

. All working area parameters like its width “xy” and the 

“z”-range are expected to be the theoretical maximum of the full range, not the – possibly smaller – range used 
in a specific setup.

Return: 

E180X_OK

 or an 

E180X_ERROR_

-return code in case of an error

int E180X_set_speeds(unsigned char n, double jumpspeed,double markspeed)

Set scanner speed values to be used for all following vector data and until not replaced by other speed 

values.
This is a stream-command, means its parameters are applied at a point in stream that is relative to the other 
stream commands. So values set here apply only to these vector data that are sent after this command.

Parameters:

n

 – the 1-based board instance number as returned by 

E180X_set_connection()

jumpspeed

 – scanner movement speed during jumps (movements when laser is off) in unit bits/msec and 

range 1..4294960000

markspeed

 – scanner speed during mark (movements when laser is on) in unit bits/msec and range 

1..4294960000

Return: 

E180X_OK

 or an 

E180X_ERROR_

-return code in case of an error

int E180X_set_laser_delays(unsigned char n,double ondelay,double offdelay)

102

background image

Set laser delay values to be used for all following vector data and until not replaced by other delay 

values.
This is a stream-command, means its parameters are applied at a point in stream that is relative to the other 
stream commands. So values set here apply only to these vector data that are sent after this command.

Parameters:

n

 – the 1-based board instance number as returned by 

E180X_set_connection()

ondelay

 – laser on delay in unit microseconds, can be a negative or a positive value

offdelay

 – laser off delay in unit microseconds, must be a positive value

Return: 

E180X_OK

 or an 

E180X_ERROR_

-return code in case of an error

int E180X_set_scanner_delays(const unsigned char n,const unsigned int 
flags,const double jumpdelay,const double markdelay,const double polydelay)

Set scanner delays in unit microseconds. Smallest possible value and resolution is 0.5 microseconds.

This is a stream-command, means its parameters are applied at a point in stream that is relative to the other 
stream commands. So values set here apply only to these vector data that are sent after this command.

Parameters:

n

 – the 1-based board instance number as returned by 

E180X_set_connection()

flags

 – here some flags can be set which add some further functional specifications and features to this 

function. At the moment following flags are supported and can be OR-concatenated with each other:

E180X_COMMAND_FLAG_SCANNER_VAR_POLYDELAY

 – when this flag is set, the value set via 

polydelay

 is not applied statically to every point within a polygon, but it is set dynamically depending 

on the angle between two lines; no angle (a straight line) results in no delay while an 180 degree angle  
results in a full delay as set by value 

polydelay

; this flag requires firmware version 2 or newer

jumpdelay

 – the jump delay value in unit microseconds

markdelay

 – the mark delay value in unit microseconds

polydelay

 – the in-polygon delay value in unit microseconds

Return: 

E180X_OK

 or an 

E180X_ERROR_

-return code in case of an error

int E180X_set_scanner_mode(const unsigned char n, const unsigned int mode)

Sets the operation mode for the scanner, this function influences the communication mode with the 

scanhead.
This function requires firmware version 10 or newer.

Parameters:

n

 – the 1-based board instance number as returned by 

E180X_set_connection()

mode

 – one of the following values can be set:

E180X_SCANNERMODE_XY2_100

 – standard and default mode, output is normal XY2-100 with 16 bit 

resolution and normal 100 kHz output cycle clock

E180X_SCANNERMODE_XY2_200

 – output is XY2-200 with 16 bit resolution and 200 kHz output 

cycle clock

103

background image

E180X_SCANNERMODE_XY2_100E

 – output is extended XY2-100E with 18 bit resolution and normal 

100 kHz output cycle clock

E180X_SCANNERMODE_XY2_200E

 – output is extended XY2-200E with 18 bit resolution and 200 

kHz output cycle clock

E180X_SCANNERMODE_SL

 – requires the “ NX-02 Extension Board” and enables output of scanner 

control data using a two-wire serial protocol with 100 kHz output cycle clock; when this mode is 
enabled, the connector of the SL Extension Board is used while the main D-SUB25 connector is turned 
off

Return: 

E180X_OK

 or an 

E180X_ERROR_

-return code in case of an error

int E180X_set_laser_mode(unsigned char n, unsigned int mode)

Sets the laser mode to be used for all following operations, this value influences the signals emitted at 

the connectors of the card. This function has to be called prior to setting any other laser parameters (like 
frequency, standby-frequency, power).
This is a stream-command, means its parameters are applied at a point in stream that is relative to the other 
stream commands.

Parameters:

n

 – the 1-based board instance number as returned by 

E180X_set_connection()

mode

 – the laser mode, here one of the following values is possible:

E180X_LASERMODE_CO2

 – for controlling CO

2

 lasers, this mode supports stand-by frequency at 

LaserA output (to be set with function 

E180X_set_standby()

) and PWM-modulated frequencies 

during marking and for power control (to be set with function 

E180X_set_laser_timing()

)

E180X_LASERMODE_YAG1

 – for controlling YAG lasers, this mode supports stand-by and Q-Switch 

frequency at LaserA output (to be set with function 

E180X_set_standby()

) and a first pulse killer 

signal at output LaserB that is issued on beginning of a mark together with the Q-Switch frequency (to 
be set with function 

E180X_set_fpk()

):

Here Q-Switch signal is started together with laser gate and FPK pulse. At end of mark when laser gate 
is turned off stand-by frequency is emitted at LaserA.

E180X_LASERMODE_YAG2

 - for controlling YAG lasers, this mode supports stand-by and Q-Switch 

frequency at LaserA output (to be set with function 

E180X_set_standby()

) and a first pulse killer 

signal at output LaserB that is issued on beginning followed by Q-Switch frequency that starts when 
FPK pulse has finished:

104

background image

Here FPK and laser gate are started together. Q-Switch signal is started at end of FPK pulse. At end of 
mark when laser gate is turned off, stand-by frequency and pulse-width is emitted at LaserA instead of 
Q-Switch frequency.

E180X_LASERMODE_YAG3

– for controlling YAG lasers, this mode supports stand-by and Q-Switch 

frequency at LaserA output (to be set with function 

E180X_set_standby()

) and a first pulse killer 

signal at output LaserB that is issued on beginning followed by Q-Switch frequency that starts after a 
freely configurable time period “yag3QTime”:

Here FPK and laser gate are started together. Q-Switch signal is started after yag3QTime has elapsed 
according to the beginning of FPK pulse. This time value can be set using function 

E180X_set_fpk()

At end of mark when laser gate is turned off, stand-by frequency and pulse-width is emitted at LaserA 
instead of Q-Switch frequency.

E180X_LASERMODE_CRF

 – for controlling lasers that require a continuously running frequency (like 

fiber-lasers), this frequency is emitted at LaserA output and can be set and changed by calling function 

E180X_set_standby()

.

E180X_LASERMODE_DFREQ

 – for controlling special lasers that require two frequencies, the second, 

continuously running frequency is emitted at LaserB output and can be set with function 

E180X_set_laserb()

E180X_LASERMODE_MOPA

 – for fiber lasers which are driven by a main oscillator and power amplifier 

and that are power-controlled via LP8 digital port and latch bit

Return: 

E180X_OK

 or an 

E180X_ERROR_

-return code in case of an error

int E180X_set_laser(const unsigned char n,const unsigned int flags,const char 
on)

Switches the laser on or off independent fro many mark or jump commands.

Parameters:

n

 – the 1-based board instance number as returned by 

E180X_set_connection()

flags

 – handling flags specifying the behaviour of this command, 

E180X_COMMAND_FLAG_STREAM

 to use it 

as stream command, 

E180X_COMMAND_FLAG_DIRECT

 to execute it immediately and independent on current 

stream and execution state; in case 

E180X_COMMAND_FLAG_STREAM

 is used, please ensure this function call is 

followed by other stream commands, elsewhere the laser is turned off for security reasons as soon as no more 
data are available to process in order to not to let the laser fire while the card is waiting

on

 – set to 1 to turn the laser on or to 0 to turn it off

105

background image

Return: 

E180X_OK

 or an 

E180X_ERROR_

-return code in case of an error

int E180X_set_wobble(unsigned char n,unsigned int x,unsigned int y,double freq)

This function gives the possibility to not to let the laser beam follow the given path directly but to 

rotate around the specified path and lasers current position. Depending on chosen wobble-parameters and 
marking speed this results either in a thick or a sinusoidal line. This call sets wobble parameters to be used for 
all following vector data and until not replaced by other wobble values or by 0 which disables wobble mode.
This is a stream-command, means its parameters are applied at a point in stream that is relative to the other 
stream commands.

Parameters:

n

 – the 1-based board instance number as returned by 

E180X_set_connection()

x

 – wobble amplitude in x direction in units bits and range 1..10000000

y

 – wobble amplitude in y direction in units bits and range 1..10000000

freq – wobble frequency in Hz in range 1..25000

Return: 

E180X_OK

 or an 

E180X_ERROR_

-return code in case of an error

int E180X_jump_abs(unsigned char n,int x,int y,int z)

Perform a jump (movement with laser turned off) to the given position. This causes a galvo movement 

from current position to the one specified by this functions parameters using the jump speed and taking the 
jump delay into account:

When laser was turned on before this function is called, laser is turned off at the beginning with a delay 
specified by laser off delay (please refer to description of 

E180X_mark_abs()

 for a diagram showing laser off 

delay too).
This is a stream-command, means it is executed at a point in stream that is relative to the other stream 
commands. So values set here apply only to these vector data that are sent after this command.

Parameters:

n

 – the 1-based board instance number as returned by 

E180X_set_connection()

x

 – the x-coordinate in unit bits the scanner has to jump to (in range -33554431..33554432)

y

 – the y-coordinate in unit bits the scanner has to jump to (in range -33554431..33554432)

z

 – the z-coordinate in unit bits the scanner has to jump to (in range -33554431..33554432, requires a 

hardware that is equipped with Z- channel)

Return: 

E180X_OK

 or an 

E180X_ERROR_

-return code in case of an error

int E180X_jump_abs_list(const unsigned char n,int *x,int *y,int *z,const 
uint32_t length)

106

background image

This function is similar to 

E1803X_jump_abs()

 but it burst-transmits an array of jump positions to be 

used. For the parameters 

x

y

 and 

z

 same-length arrays are expected which contain the related coordinates. 

The additional parameter 

length

 specifies the number of indices the array consists of.

This function requires firmware version 22 or newer and software version 8.4 or newer.

int E180X_mark_abs(unsigned char n,int x,int y,int z)

Perform a mark (movement with laser turned on) to the given position. This causes a galvo movement 

from current position to the one specified by this functions parameters using the mark speed and taking the 
mark delay into account. When laser was turned off before this function is called, laser is turned on at the 
beginning with a delay specified by laser on delay:

This is a stream-command, means it is executed at a point in stream that is relative to the other stream 
commands.

Parameters:

n

 – the 1-based board instance number as returned by 

E180X_set_connection()

x

 – the x-coordinate in unit bits the scanner has to move to (in range -33554431..33554432)

y

 – the y-coordinate in unit bits the scanner has to move to (in range -33554431..33554432)

z

 – the z-coordinate in unit bits the scanner has to move to (in range -33554431..33554432, requires a 

hardware that is equipped with Z- channel)

Return: 

E180X_OK

 or an 

E180X_ERROR_

-return code in case of an error

int E180X_mark_abs_list(const unsigned char n,int *x,int *y,int *z,const 
uint32_t length)

This function is similar to 

E1803X_mark_abs()

 but it burst-transmits an array of mark positions to be 

used. For the parameters 

x

y

 and 

z

 same-length arrays are expected which contain the related coordinates. 

The additional parameter 

length

 specifies the number of indices the array consists of.

This function requires firmware version 22 or newer and software version 8.4 or newer.

int E180X_get_pos(const unsigned char n,int *x,int *y,int *z)

This function returns the last position of the scanner:

when an XY3-100 scanhead is connected, that provides its actual position, these values are returned

when no such scanhead is connected, the last nominal position sent to the head are returned

The function needs the controller to be in idle-mode, means no marking operation is allowed to run in order to 
get the position information.
Please note: when a correction file is set, and/or a matrix is set and/or an offset is set and/or any other function 
is used which modifies the position data, the coordinates returned here are 

not

 the values which have been sent 

with the last call to 

E180X_jump_abs()

 or 

E180X_mark_abs()

 or 

E180X_set_pos()

 as they have been 

107

background image

processed and modified by these correction functions. So while the jump/mark functions set position data 
according to the desired coordinate system, the values returned by 

E180X_get_abs()

 are the real-world 

coordinates at the hardware.
This function requires firmware version 16 or newer.

Return: 

E180X_OK

 or an 

E180X_ERROR_

-return code in case of an error

int E180X_set_pos(unsigned char n,int x,int y,int z,unsigned char laserOn)

Perform a raw, immediate movement to the given position.

HANDLE WITH CARE! This function causes galvo movement to the given position immediately, without 
respect to any mark or jump speed values, without micro-vectorisation or intermediate steps! This means it can 
result in a very heavy movement for the galvos and in worst case it may cause some damage! Since the resulting 
movement speed may be way too high for the used galvos, they may overshoot and need some time until the 
desired position is reached. So this function is mainly intended to be used for very small position changes in 
respect to the galvos current position.
This is a stream-command, means it is executed at a point in stream that is relative to the other stream 
commands.

Parameters:

n

 – the 1-based board instance number as returned by 

E180X_set_connection()

x

 – the x-coordinate in unit bits the scanner has to jump to (in range -33554431..33554432)

y

 – the y-coordinate in unit bits the scanner has to jump to (in range -33554431..33554432)

z

 – the z-coordinate in unit bits the scanner has to jump to (in range -33554431..33554432, requires a 

hardware that is equipped with Z- channel)

laserOn

 – specifies if the movement has to be done with laser turned on (1) or off (0)

Return: 

E180X_OK

 or an 

E180X_ERROR_

-return code in case of an error

int E180X_set_pixelmode(const unsigned char n,const unsigned int mode,const 
double powerThres,const unsigned int res)

Set the operational mode for 

E180X_mark_pixelline()

. This function influences the behaviour 

when marking a pixel line. This is a stream-command, means its parameters are applied at a point in stream that 
is relative to the other stream commands.

Parameters:

n

 – the 1-based board instance number as returned by 

E180X_set_connection()

mode

 – pixel marking mode, this parameter can be set to:

0 – default mode, while marking a pixel line the controller tries to perform jumps when power 
is below of the given threshold 

powerThres

 to save marking time

E180X_PIXELMODE_NO_JUMPS

 – no jumps are performed, the given power threshold is 

ignored and the full pixel line is done with marking speed; this mode is slower but can result in 
more accurate and more exact images

E180X_PIXELMODE_JUMP_N_SHOOT

 – marking of the line is no longer done with a 

continuous movement but with a sequence “jump to position   shoot   jump to next position 

 shoot   jump to next position   shoot...”; here the shoot-time is equal to the laser-off-delay 

minus laser-on-delay as set with function 

E180X_set_laser_delays()

E180X_PIXELMODE_HW_POWER_CONTROL

 – when this flag is set, the controller card takes 

care about setting the power for the pixels. This works only when a lasermode is chosen where 
the scanner card supports native power control. When this flag is set, a power-callback, 
handed over together with a call to 

E180X_mark_pixelline()

 is ignored.

E180X_PIXELMODE_GATE_POWER_CONTROL

 – this is a special bitmap marking mode where 

no real power control is supported. When this flag is set, the LaserGate output is toggled 
depending on the required output power. Since this output supports only states LOW and 
HIGH, this bitmap marking mode results in black and white images only

E180X_PIXELMODE_JUMP_LEAVE_POWER

 – during bitmap marking, when no flag 

E180X_PIXELMODE_NO_JUMPS

 is set, below of a specific power threshold a jump is 

performed. By default, prior to such a jump, the laser power is set to 0 to handle faultily lasers 

108

background image

that have spurious emissions even when LaserGate is at LOW. For laser types, which do not 
suffer from such emissions, this flag can be set. It leaves the last power value active also during 
jumps, which saves some marking time. So this flag can be used for speed-optimising bitmap-
marking.

powerThres

 – this value is used only in default mode, when the marking power for some pixels is below of the 

given value (in unit percent), a jump is performed to save marking time, during this jump the laser is off and no 
marking is done

res

 – reserved, set always to 0

Return: 

E180X_OK

 or an 

E180X_ERROR_

-return code in case of an error

int E180X_mark_pixelline(const unsigned char n,int x,int y,int z,const int 
pixWidth,const int pixHeight,const int pixDepth,unsigned int pixNum,const double 
*pixels,E180X_power_callback power_callback,void *userData)

This function can be used to mark a single line of a bitmap image. Here horizontal, vertical and even 3D 

bitmap lines (going into depth) can be marked. Direction and orientation of the line to be marked can be chosen 
freely. A full image can be created by concatenating several lines. Power control during marking of such a 
bitmap line is not limited to some specific power outputs, it can be fully customised via a callback function.

Parameters:

n

 – the 1-based board instance number as returned by 

E180X_set_connection()

x, y, z

 – the starting coordinates of the line in unit bits

pixWidth

 – the width of a single pixel (in unit bits), when this is set to a value greater or smaller than 0 while all 

the others are equal 0, a horizontal line is drawn; the sign of the value specifies the marking direction

pixHeight

 – the height of a single pixel (in unit bits), when this is set to a value greater or smaller than 0 while 

all the others are equal 0, a vertical line is drawn; the sign of the value specifies the marking direction

pixDepth

 – the depth of a single pixel  (in unit bits, requires a 3D-capable scanhead), when this is set to a value 

greater or smaller than 0 while all the others are equal 0, line goes into depth; the sign of the value specifies the 
marking direction

pixNum

 – the number of pixel data contained in the array of intensity values handed over with the following 

parameter

pixels

 – an array of double-values with a length equal the number of pixels specified with 

pixNum

 and with 

an allowed range of 0.0..100.0 specifying the intensity; every entry of this array is equal to one pixel of the 
bitmap, so a greyscale-pixelline with brightness values in range 0..255 has to be converted to values in range 
0.0..100.0

power_callback

 – this is a callback function of type 

int (*E180X_power_callback)(unsigned char n, double power, void *userData)

which is used to set the power for every pixel. There these 

E180X_

-functions have to be called that belong to 

the used laser type and set the power values according to it's hardware capabilities. Within the power callback 
function only stream commands are allowed to be called. It is not possible to use external devices that are not 
synchronous to E1803D command stream. The power callback has to return with 

E180X_OK

 when setting of 

power was successful. In case of an error the appropriate error code has to be returned, the pixel marking 
function will be cancelled in such a case too and does not finish marking of the line. Parameter 

n

 is the 1-based 

board instance number specifying the board the power has to be changed for, power is the power to be set in 
unit percent and 

userData

 are some free to use, custom data that can be handed over on call to 

E180X_mark_pixelline()

.

userData

 – here some custom data can be handed over which are forwarded on and handed over at every call 

of the power-callback

Return: 

E180X_OK

 or an 

E180X_ERROR_

-return code in case of an error

int E180X_set_matrix(unsigned char n, double m11, double m12, double m21, double 
m22)

109

background image

Specify a 2x2 matrix that contains scaling and rotation corrections for the output. When a given matrix 

element parameter has a value smaller or equal -10000000 it is ignored and the previous/default value is kept 
at this position in matrix.
This function will overwrite all corrections specified with 

E180X_set_xy_correction()

.

This is a stream-command, means its parameters are applied at a point in stream that is relative to the other 
stream commands.

Parameters:

n

 – the 1-based board instance number as returned by 

E180X_set_connection()

m11

 – first matrix element in first row

m12

 – second matrix element in first row

m21

 – first matrix element in second row

m22

 – second matrix element in second row

Return: 

E180X_OK

 or an 

E180X_ERROR_

-return code in case of an error

unsigned int E180X_get_head_state(const unsigned char n,const unsigned int 
flags)

Returns head status information in case the connected scanhead provides such data via STATUS signal 

of XY2-100 interface. When the head does not provide such information or returns invalid data or a proprietary 
data format, the function returns 0xFFFFFFFF. Otherwise the returned value can be AND-concatenated with 

HEAD_STATE_MASK

 to find out what kind of head is connected: a resulting value of 

HEAD_STATE_2D_HEAD

 

identifies a 2D scanhead, 

HEAD_STATE_3D_HEAD

 a 3D scanhead. Depending on this, the returned value 

contains the following state information:

Bit

HEAD_STATE_2D_HEAD

2D Head Remarks

HEAD_STATE_3D_HEAD

3D Head Remarks

19 / C2

0

Identification bit

0

Identification bit

18 / C1

1

Identification bit

0

Identification bit

17 / C0

1

Identification bit

1

Identification bit

16 / S15 Power state

X servo ready

15 / S14 Temperature state

X temperature state

14 / S13 In-field

X tracking error

13 / S12 X-position ACK

0

12 / S11 Y-position ACK

Y servo ready

11 / S10 1

Y temperature state

10 / S9

0

Y tracking error

9 / S8

1

0

8 / S7

Power state

Z servo ready

7 / S6

Temperature state

Z temperature state

6 / S5

In-field

Z tracking error

5 / S4

X-position ACK

0

4 / S3

Y-position ACK

X channel parity error

3 / S2

1

Y channel parity error

2 / S1

0

Z channel parity error

1 / S0

1

CLK channel error

0 / Par

x

Always 0

Parity bit (even)

The exact usage of these fields depends on the used head, so for further details please refer to the related 
scanhead manual.

110

background image

Parameters:

n

 – the 1-based board instance number as returned by 

E180X_set_connection()

flags

 – when flag 

E180X_COMMAND_FLAG_HEAD_STATE_RAW

 is set here, the state-information from the 

head are returned as they are received. When this flag is not used, the returned data are checked and filtered – 
only in case they fit to the bit patterns shown above, the received data are returned, elsewhere the error 
information 0xFFFFFFFF is given back.

Return: the received (filtered or raw) XY2-100 state data as received from the head or 0xFFFFFFFF in case of 
an error

int E180X_set_laser_timing(unsigned char n, double frequency, double pulse)

Set the frequency and pulse-width to be used during marking at LaserA output of laser connector.

This is a stream-command, means its parameters are applied at a point in stream that is relative to the other 
stream commands.

Parameters:

n

 – the 1-based board instance number as returned by 

E180X_set_connection()

frequency

 – emitted frequency in unit Hz and in range 25..20000000 Hz

pulse

 – pulse width in usec, this value has to be smaller than period length that results out of frequency

Return: 

E180X_OK

 or an 

E180X_ERROR_

-return code in case of an error

int E180X_set_standby(const unsigned char n,const double frequency,const double 
pulse, const bool force)

Set the frequency and pulse-width to be used during jumps, as stand-by frequency or as continuously 

running frequency at LaserA output of laser connector.
This is a stream-command, means its parameters are applied at a point in stream that is relative to the other 
stream commands.

Parameters:

n

 – the 1-based board instance number as returned by 

E180X_set_connection()

frequency

 – emitted frequency in unit Hz and in range 25..20000000 Hz. When a value of 0 is given, the 

frequency at LaserA output is turned off at end of mark.

pulse

 – pulse width in usec, this value has to be smaller than period length that results out of 

frequency

force

 – when set to true, the new stand-by frequency is not applied the next time the laser is turned off, but 

immediately

Return: 

E180X_OK

 or an 

E180X_ERROR_

-return code in case of an error

int E180X_set_laserb(const unsigned char n,const double frequency,const double 
pulse)

Set the frequency and pulse-width to be used at LaserB output of laser connector. To use LaserB as 

second frequency output, a laser mode with flag 

E180X_LASERMODE_DFREQ

 has to be configured.

This is a stream-command, means its parameters are applied at a point in stream that is relative to the other 
stream commands.

Parameters:

n

 – the 1-based board instance number as returned by 

E180X_set_connection()

frequency

 – emitted frequency in unit Hz and in range 25..20000000 Hz

pulse

 – pulse width in usec, this value has to be smaller than period length that results out of frequency

Return: 

E180X_OK

 or an 

E180X_ERROR_

-return code in case of an error

int E180X_set_fpk(unsigned char n, double fpk, double yag3QTime)

111

background image

Set the parameters for first pulse killer signal that is emitted via laser connector whenever the laser is 

turned on; this applies to YAG-modes only and is emitted as one single pulse at LaserB output.
This is a stream-command, means its parameters are applied at a point in stream that is relative to the other 
stream commands.

Parameters:

n

 – the 1-based board instance number as returned by 

E180X_set_connection()

fpk

 – the length of the first pulse killer signal in usec

yag3QTime

 – the length of the first pulse killer signal in usec, this value is used only when laser mode 

E180X_LASERMODE_YAG3

 is set, elsewhere it is ignored

Return: 

E180X_OK

 or an 

E180X_ERROR_

-return code in case of an error

int E180X_lp8_write(const unsigned char n,const unsigned int flags,const 
unsigned char value)

Sets the LP8_0..LP8_7 outputs of 8 bit laser port of laser interface connector without touching the 

related latch output. Total execution time of this command is 1 usec.
Depending on the value of parameter flags this is either a stream-command (means it is executed at a point in 
stream that is relative to the other stream commands) or a direct command (means it is executed immediately 
on calling).

Parameters:

n

 – the 1-based board instance number as returned by E180X_set_connection()

flags

 – handling flags specifying the behaviour of this command, 

E180X_COMMAND_FLAG_STREAM

 to use it 

as stream command, 

E180X_COMMAND_FLAG_DIRECT

 to execute it immediately and independent on current 

stream and execution state

value

 – the 8 bit value to be set at LP8 port

Return: 

E180X_OK

 or an 

E180X_ERROR_

-return code in case of an error

int E180X_lp8_write_latch(unsigned char n, unsigned char on, double 
delay1,unsigned char value, double delay2,double delay3)

Sets the LP8 8 bit laser port of laser interface connector with freely definable delays and toggles the 

related latch output automatically; calling this function causes the following sequence of commands:

turn latch bit on/off

wait for 

delay1

 usecs

set LP8

wait for 

delay2

 usecs

turn latch bit off/on

wait for 

delay3

 usecs

The whole execution time of this sequence is 1.5 usecs for setting LP8 outputs and toggling latch plus 

delay1

 

plus 

delay2

 plus 

delay3

.

This is a stream-command, means it is executed at a point in stream that is relative to the other stream 
commands.

Parameters:

n

 – the 1-based board instance number as returned by 

E180X_set_connection()

on

 – specifies if the latch bit has to be set to HIGH (on=1) or LOW (on=0) on first step, on second step it will 

toggle to value 

!=on

delay1

 – delay to be issued after setting/clearing the latch bit for the first time

value

 – the 8 bit value to be set at LP8 port

delay2

 – delay to be issued after setting LP8 output and before clearing/setting the latch bit

delay3

 – delay to be issued after clearing/setting the latch bit for the second time

Return: 

E180X_OK

 or an 

E180X_ERROR_

-return code in case of an error

112

background image

int E180X_lp8_write_mo(const unsigned char n, const unsigned int flags, const 
unsigned char on)

Sets the main oscillator output MO of laser interface connector to be used with e.g. fiber lasers.

Depending on the value of parameter 

flags

 this is either a stream-command (means it is executed at a point in 

stream that is relative to the other stream commands) or a direct command (means it is executed immediately 
on calling).

Parameters:

n

 – the 1-based board instance number as returned by 

E180X_set_connection()

flags

 – handling flags specifying the behaviour of this command, 

E180X_COMMAND_FLAG_STREAM

 to use it 

as stream command, 

E180X_COMMAND_FLAG_DIRECT

 to execute it immediately and independent on current 

stream and execution state

on

 – the state the MO output has to be switched to; PLEASE NOTE: the main oscillator depends on the current 

internal state of the laser. Thus turning it on is always possible but turning off the MO is possible only when the 
controller is not yet handling the laser-off delay, means it is not possible as long as the laser is turned on. In such 
a case this command is ignored.

Return: 

E180X_OK

 or an 

E180X_ERROR_

-return code in case of an error

int E180X_lp8_write_pilot(const unsigned char n, const unsigned int flags, const 
unsigned char on)

Sets the pilot laser output pin of the laser interface connector.

Depending on the value of parameter 

flags

 this is either a stream-command (means it is executed at a point in 

stream that is relative to the other stream commands) or a direct command (means it is executed immediately 
on calling).
This function requires hardware revision 1.8 or newer and firmware version 19 or newer.

Parameters:

n

 – the 1-based board instance number as returned by 

E180X_set_connection()

flags

 – handling flags specifying the behaviour of this command, 

E180X_COMMAND_FLAG_STREAM

 to use it 

as stream command, 

E180X_COMMAND_FLAG_DIRECT

 to execute it immediately and independent on current 

stream and execution state

on

 – the state the pilot laser output has to be switched to; PLEASE NOTE: the pilot laser signal may affect the 

internal state of the laser. Thus turning it on may prevent other functions of the laser being able to be used. For 
details about such dependencies, please check the manual of the used laser.

Return: 

E180X_OK

 or an 

E180X_ERROR_

-return code in case of an error

int E180X_ana_write(const unsigned char n,const unsigned int flags,const 
unsigned short a)

Write a value to one of the analogue outputs. Here the parameter 

flags

 decides which output has to 

be accessed in which way:

E180X_COMMAND_FLAG_ANA_AOUT0

 – send data to analogue output AOut0

E180X_COMMAND_FLAG_ANA_AOUT1

 – send data to analogue output AOut1

One of these flags can be combined with 

E180X_COMMAND_FLAG_STREAM

 to use it as stream command or 

with 

E180X_COMMAND_FLAG_DIRECT

 to execute it immediately and independent on current stream and 

execution state. Parameter 

a

 needs to be always a 16 bit value independent from the real resolution of the 

hardware.

Parameters:

n

 – the 1-based board instance number as returned by 

E180X_set_connection()

flags

 – flags specifying when the command has to be executed and which analogue output has to be set

a

 – value to be set at the analogue output, independent on the real resolution of the hardware, here always a 16 

bit value has to be given, means a value of 65535 would correspond to full output voltage of 10V
Return: 

E180X_OK

 or an 

E180X_ERROR_

-return code in case of an error

113

background image

18.1.3 Digital interface functions

The following section describes all functions which can be used to describe data at the digital interface as 
described in section „6.8 Digital Interface“ and section „6.8.1 Marking On-The-Fly Signals“.

int E180X_digi_write(const unsigned char n,const unsigned int flags,const 
unsigned int value,const unsigned int mask)

Sets the 8 bit digital output port.

Depending on the value of parameter 

flags

 this is either a stream-command (means it is executed at a point in 

stream that is relative to the other stream commands) or a direct command (means it is executed immediately 
on calling).
Parameters:

n

 – the 1-based board instance number as returned by 

E180X_set_connection()

flags

 – handling flags specifying the behaviour of this command, 

E180X_COMMAND_FLAG_STREAM

 to use it 

as stream command, 

E180X_COMMAND_FLAG_DIRECT

 to execute it immediately and independent on current 

stream and execution state

mask

 – specifies which of the bits in "value" have to be used for setting and clearing output data, only these bits 

that are set to 1 in 

mask

 are changed according to the given 

value

value

 – the 8 bit value to be set at digital out port

Return: 

E180X_OK

 or an 

E180X_ERROR_

 return code in case of an error

int E180X_digi_pulse(const unsigned char n, const unsigned int flags, const 
unsigned int in_value, const unsigned int mask, const unsigned int pulses, const 
double delayOn, const double delayOff)

Send a sequence of pulses to the 8 bit digital interface. When the controller works with a firmware 

version 5 or later, this operation causes nearly no data transmission load.
This command is available as stream-command only (means it is executed at a point in stream that is relative to 
the other stream commands).
Parameters:

n

 – the 1-based board instance number as returned by 

E180X_set_connection()

flags

 – currently only 

E180X_COMMAND_FLAG_STREAM

 is supported here

mask

 – specifies which of the bits in "value" have to be used for setting and clearing output data, only these bits 

that are set to 1 in 

mask

 are changed according to the given 

value

value

 – the 8 bit value to be set at digital out port

pulses

 – specifies how often the output has to be set/cleared

delayOn

 – the delay (in unit usec) which has to be issued every time after setting the output, the minimal 

resolution of this value is 0,5 usec

delayOff

 – the delay (in unit usec) which has to be issued every time after clearing the output, the minimal 

resolution of this value is 0,5 usec

Return: 

E180X_OK

 or an 

E180X_ERROR_

 return code in case of an error

int E180X_digi_read(const unsigned char n,const unsigned char flags,unsigned int 
*value)

Reads the 8 bit digital input port.

This is not a stream-command, means it is executed immediately and returns current state of the digital inputs.
When parameter 

flags

 is set to 0, the state of the digital inputs is requested actively which results in a 

separate data transmission to the controller card. On excessive use of this command, that may slow down 
communication with the controller dramatically. Alternatively 

flags

 can be set to 

E180X_COMMAND_FLAG_PASSIVE

 which does not cause such a request. Instead of this the last known state of 

the digital inputs is returned by this function based on the last regular feedback from the controller or based on 
the last call to this function with this passive-flag not set. So when this flags is used, the returned 

value

 may be 

several hundred milliseconds old.
When marking on the fly is enabled using function 

E180X_digi_set_motf()

, digital inputs 0 and 1 (and 

optionally also digital inputs 2 and 3 in case of 2D marking on-the-fly) are used for MOTF-encoder and 

114

background image

therefore not available as standard inputs. In such a case state of these bits is undefined and does not reflect 
the current input state caused by the external encoder.

Parameters:

n

 - the 1-based board instance number as returned by 

E180X_set_connection()

value

 – pointer to a variable where the current digital input state has to be written into.

When the function returns an error code instead of 

E180X_OK

, this value is undefined and can't be used.

Return: 

E180X_OK

 or an 

E180X_ERROR_

-return code in case of an error

int E180X_digi_wait(unsigned char n,unsigned long value,unsigned long mask)

Stop execution and output of data until the given bitpattern was detected at digital inputs of digital 

interface connector. Here parameter 

mask

 specifies which of the bits at the input have to be checked, they have 

to be set to 1. These bits within 

mask

 that need to be ignored have to be set to 0. Parameter 

value

 itself 

defines the states of the bits that has to be detected at the input to continue processing of data. All bits of value 
that correspond to bits of mask, that are 0, are ignored.

Parameters:

n

 - the 1-based board instance number as returned by 

E180X_set_connection()

value

 – the expected bitpattern at digital input

mask

 – specifies which of the input bits and value bits have to be used for comparison

Return: 

E180X_OK

 or an 

E180X_ERROR_

-return code in case of an error

int E180X_digi_set_motf(const unsigned char n,const unsigned int flags,const 
double motfX,const double motfY)

Disables or enables marking on-the-fly functionality and specifies factors for X- and Y-direction. When 

this function is called with values for 

motfX

 or 

motfY

 greater than 0, marking on-the-fly is enabled and digital 

inputs 0 and 1 of the digital interface are no longer available as general purpose inputs. Now they are used as 
decoder inputs for a 90 degree phase shifted encoder signal for marking on-the-fly functions. When both 
parameters 

motfX

 and 

motfY

 are set to 0, marking on-the-fly is disabled and inputs 0 and 1 no longer work as 

encoder inputs.
When tune flag “2” is set (for 2D marking on-the-fly, please refer to description of e1803.cfg parameters above), 
the two factors for X and Y are assigned to separate encoder inputs. Here factor for X applies to values received 
on digital inputs 0 and 1 and factor for Y applies to values received on digital inputs 2 and 3.
Depending on value of parameter 

flags

 this is or is not a stream-command, means it switches states of digital 

inputs 0 and 1 (plus optionally 2 and 3) and marking on-the-fly functionality at the related position in stream or 
immediately.
Parameters:

n

 – the 1-based board instance number as returned by 

E180X_set_connection()

flags

 – when flag 

E180X_COMMAND_FLAG_DIRECT

 is set, the new MOTF-factors are applied immediately, 

when flag 

E180X_COMMAND_FLAG_STREAM

 is used instead, the command acts as stream-command and sets 

the new MOTF-factors as soon as this command is due in current stream of command.

motfX

 – marking on-the-fly factor for X-direction in unit bits per encoder increment

motfY

 – marking on-the-fly factor for Y-direction in unit bits per encoder increment

Return: 

E180X_OK

 or an 

E180X_ERROR_

-return code in case of an error

int E180X_digi_set_motf_sim(unsigned char n, double motfX, double motfY)

Disables or enables simulated marking on-the-fly functionality and specifies factors for X- and Y-

direction. When this function is called with values for 

motfX

 or 

motfY

 greater than 0, simulated marking on-

the-fly is enabled and internal 100 kHz signal generator is used to create static marking on-the-fly pulses in 
positive direction. A possibly enabled on-the-fly operation using external signals on digital inputs 0 and 1 of 
digital interface connector is disabled. When both parameters 

motfX

 and 

motfY

 are set to 0, marking on-the-

fly is disabled completely.
This is not a stream-command, means it enables simulated marking on-the-fly functionality immediately.
Parameters:

115

background image

n

 – the 1-based board instance number as returned by 

E180X_set_connection()

motfX

 – marking on-the-fly factor for X-direction in unit bits suitable for to be simulated movement-speed on 

100 kHz encoder counting frequency

motfY

 – marking on-the-fly factor for Y-direction in unit bits suitable for to be simulated movement speed on 

100 kHz encoder counting frequency
Return: 

E180X_OK

 or an 

E180X_ERROR_

-return code in case of an error

int E180X_digi_wait_motf(const unsigned char n, const unsigned int flags, const 
double dist)

Halts the current marking operation for a given distance of the on-the-fly encoder. Different to 

E180X_delay()

 this function does not use a time to wait until marking is continued but a distance specified 

by parameter 

dist

 and measured by the connected encoder. To use this function marking on-the-fly has to be 

enabled by calling 

E180X_digi_set_motf()

 or 

E180X_digi_set_motf_sim()

 before.

This command is useful for applications where several vector data have to be marked which in total are larger 
than the available working area (e.g. marking long texts on a cable). For this the vector data to be marked have 
to be concatenated in suitable pieces where each is smaller than the available working area. Then these pieces 
can be marked consecutively with following sequence of commands:

1.

E180X_set_trigger_point()

 (used only once at the very beginning to define the starting point 

and to initialise internal MOTF counters). This trigger point later has to be released either by applying 
an ExtStart signal or by calling function 

E180X_release_trigger_point()

2.

E180X_digi_wait_motf()

 to wait for the beginning of the first piece of vector data to be marked, 

the given distance is equal to the distance from the starting point in 1)

3.

E180X_jump_abs()

/

E180X_mark_abs()

 for vector data of character to be marked; here one piece 

of the whole set of vector data has to be sent to the controller

4.

E180X_digi_wait_motf()

 to wait for the distance until next set of vector data; here the distance 

between the starting points of two pieces of vector data has to be given

5. continue at 3) until all pieces of vector data have been sent

This is a stream-command, means it is executed at a point in stream that is relative to the other stream 
commands.
Parameters:

n

 – the 1-based board instance number as returned by 

E180X_set_connection()

flags

 – specifies how the distance value is handed over, with 

E180X_COMMAND_FLAG_MOTF_WAIT_INCS

 a 

value in unit “encoder increments” is expected, with 

E180X_COMMAND_FLAG_MOTF_WAIT_BITS

 a distance in 

unit “bits” is expected. In second case the X-on-the-fly factor of a preceding call to 

E180X_digi_set_motf()

 

or 

E180X_digi_set_motf_sim()

 is used.

dist

 – the distance to wait for until marking has to be completed, the unit of this value is specified with 

preceding parameter 

flags

Return: 

E180X_OK

 or an 

E180X_ERROR_

-return code in case of an error

int E180X_digi_set_motf_powerctl(const unsigned char n,const unsigned int 
flags,const double motfSpeed,const double lowValue, const double highValue)

Perform a marking on-the-fly speed-dependent power adjustment. This function uses the currently set 

power as well as the handed over nominal speed to calculate the real power based on the real marking on the 
fly speed. So to use this functionalities, following sequence of commands is necessary:
- set the on-the-fly factors/enable marking on the fly by calling 

E180X_digi_set_motf()

- set the current power, here dependent on the used laser type the appropriate function has to be called
- call 

E180X_digi_set_motf_powerctl()

 to define automatic power adjustment parameters

This function requires firmware version 7 or newer.
Parameters:

n

 – the 1-based board instance number as returned by 

E180X_set_connection()

flags

 – specifies the method of power control/the power control output which has to be used. Here exactly 

one of the following flags can be used:

E180X_COMMAND_FLAG_ANA_AOUT0

 – to use analogue output A0 for power control

E180X_COMMAND_FLAG_ANA_AOUT1

 – to use analogue output A01for power control

116

background image

E180X_COMMAND_FLAG_FREQ_LASERA

 – this is not really a power control method but enables the option to 

change the frequency of LaserA output while the pulse-pause-ratio of the related waveform is kept constant

motfSpeed

 – nominal speed (in unit bits/sec) which corresponds to the current nominal power set in previous 

call, when the real, measured marking on-the-fly speed rises above this value, the related power output is 
adjusted to also ensure a higher power output, when the actual, measured MOTF-speed becomes lower than 
the nominal 

motfSpeed

, power is adjusted to lower values

lowValue

 – lower clipping value, the automatically adjusted power will never become smaller than this

highValue

 – upper clipping value, the automatically adjusted power will never become bigger than this

Return: 

E180X_OK

 or an 

E180X_ERROR_

-return code in case of an error

int E180X_digi_set_mip_output(unsigned char n,unsigned int value,unsigned int 
flags)

This function can be used to specify which of the digital outputs has to be used for signalling "marking 

in progress". When value is set to 0xFFFFFFFF, this function is disabled and scanner controller card does not 
provide this signal automatically. When the number of the digital output (in range 0..7) is given as value, the 
related digital output pin is used for "mark in progress" signal.
PLEASE NOTE: here the number (means the count) of one specific output pin has to be given, not a bitpattern 
specifying one or more pins!
During operation the selected "mark in progress" pin is HIGH as long as the scanner is moving and/or the laser 
is on and/or a delay is processed and when marking parameter are processed between these operations. It 
becomes LOW as soon as no more marking data are available and current operation is stopped or when scanner 
is waiting for an external trigger signal (ExtStart).
This is not a stream-command, when it is called it is applied to current configuration immediately.

Parameters:

n

 – the 1-based board instance number as returned by 

E180X_set_connection()

value

 – the number of the digital output to be used for this signal

flags

 - currently unused, set always to 0 for compatibility

Return: 

E180X_OK

 or an 

E180X_ERROR_

-return code in case of an error

int E180X_digi_set_wet_output(const unsigned char n,const unsigned int 
value,const unsigned int flags)

This function can be used to specify which of the digital outputs has to be used for signalling "waiting 

for external trigger". When 

value

 is set to 0xFFFFFFFF, this function is disabled and scanner controller card 

does not provide this signal automatically. When the number of the digital output (in range 0..7) is given as 
value, the related digital output pin is used for "waiting for external trigger" signal.
PLEASE NOTE: here the number (means the count) of one specific output pin has to be given, not a bitpattern 
specifying one or more pins!
During operation the selected "waiting for external trigger" pin is HIGH as long as the controller is waiting for 
an external trigger to be applied at ExtStart input. It becomes LOW as soon as this signal has been detected or 
when current operation is stopped.
This is not a stream-command, when it is called, it is applied to current configuration immediately.

Parameters:

n

 – the 1-based board instance number as returned by 

E180X_set_connection()

value

 – the number of the digital output to be used for this signal

flags

 – currently unused, set always to 0 for compatibility

Return: 

E180X_OK

 or an 

E180X_ERROR_

-return code in case of an error

18.1.4 Serial interface functions

Following functions are described which can be used to access the serial interface as described in section “6.9 
Serial Interface

117

background image

int E180X_uart_write(const unsigned char n,const unsigned int flags,const char 
*sendData,const unsigned int in_length,unsigned int *sentLength)

Send data to RS232/RS485 serial interface using the serial interface parameters which are configured 

in e1803.cfg configuration file. This command is executed depending on the given flags, means the data are sent 
to the serial interface independent from the context the function has to be called within or in context of the 
current stream.

Parameters:

n

 – the 1-based board instance number as returned by 

E180X_set_connection()

flags

 – here pairs of flags a) and b) have to be OR-concatenated with each other to specify how to transmit 

the data exactly:

a) 

E180X_COMMAND_FLAG_UART1

 – this flag specifies which UART interface has to be used for 

transmitting data, at the moment only one UART interface exists, so only this flag can be set and has 
always to be set

b) 

E180X_COMMAND_FLAG_STREAM

 – when this flag is combined with the flag from a), data are 

enqueued to the current stream and transmitted depending on its position within that stream

b) 

E180X_COMMAND_FLAG_DIRECT

 – when this flag is combined with the flag from a), data are 

transmitted immediately (means as fast as possible and not within the regular stream of data)

b) 

E180X_COMMAND_FLAG_ASYNC

 – when this flag is combined with the flag from a), data are 

transmitted asynchronously (means as soon as the next package of data is sent to the controller which 
either is done on 

E180X_execute()

 or when enough other data are handed over, on arrival at the 

controller these data are sent to the UART interface immediately and not within the regular stream of 
data); in other words, this is a specific variant of 

E180X_COMMAND_FLAG_DIRECT

 where data are 

transmitted immediately but the controller doe not wait for the response to arrive

sendData

 – pointer to byte-array which contains the data which have to be sent

in_length

 – length of the data in 

sendData

sentLength

 – pointer to a variable where the amount of data is returned which really has been sent by this 

function; when a different return code than 

E180X_OK

 is given back, this value is undefined.

Return: 

E180X_OK

 or an 

E180X_ERROR_

-return code in case of an error

int E180X_uart_read(const unsigned char n,const unsigned int flags,char 
*recvData,const unsigned int maxLength,unsigned int *receivedLength)

Receive data from RS232/RS485 serial interface using the serial interface parameters which are 

configured in e1803.cfg configuration file. This command is executed immediately, means it checks for data 
arrived at serial interface independent from the context the function has to be called within.

Parameters:

n

 – the 1-based board instance number as returned by 

E180X_set_connection()

flags

 – here pairs of flags a) and b) have to be OR-concatenated with each other to specify how to receive the 

data exactly:

a) 

E180X_COMMAND_FLAG_UART1

 – this flag specifies which UART interface has to be used for 

receiving of data, at the moment only one UART interface exists, so only this flag can be set
b) 

E180X_COMMAND_FLAG_DIRECT

 – when this flag is combined with the flag from a), data are 

tried to be read immediately, this means the function does not return until some data could be read 
from the serial interface or until a timeout occurred
b) 

E180X_COMMAND_FLAG_ASYNC

 – when this flag is combined with the flag from a), data are 

received asynchronously, this means when no data are available on call of the function, it returns 
immediately with 

E180X_OK

 and setting 

receivedLength

 to 0. In such a case the function has to be 

called later again in order to receive some data. As soon as some data have arrived, 

receivedLength

 

specifies the size of these data on return of the function

recvData

 – pointer to byte-array where received data have to be stored into, this buffer should have a size of 

at least 513 bytes

maxLength

 – maximum number of bytes the buffer specified by 

recvData

 is able to store

118

background image

receivedLength

 – pointer to a variable where the amount of data is returned which really has been received 

by this function; when a different return code than 

E180X_OK

 is given back, this value is undefined.

Return: 

E180X_OK

 or an 

E180X_ERROR_

-return code in case of an error

18.1.5 Intelli-IO extension functions (IO-mode)

Following functions require the Intelli-IO Extension Board as described in section “10.2 Intelli-IO Interface in 
IO mode”
. They can be used to access the digital IOs of this board. The analogue inputs of the Intelli-IO board 
are not directly subject to this extension and therefore can be read by general function 

E180X_ana_read()

 

as described above. All functions described here require firmware version 5 or newer.

int32_t E180X_motion_digi_write(const uint8_t n, const uint32_t flags, const 
uint32_t in_value, const uint32_t mask)

Sets the second 8 bit digital output port which is located on the Intelli-IO extension.

Depending on the value of parameter 

flags

 this is either a stream-command (means it is executed at a point in 

stream that is relative to the other stream commands) or a direct command (means it is executed immediately 
on calling).
Parameters:

n

 – the 1-based board instance number as returned by 

E180X_set_connection()

flags

 – handling flags specifying the behaviour of this command, 

E180X_COMMAND_FLAG_STREAM

 to use it 

as stream command, 

E180X_COMMAND_FLAG_DIRECT

 to execute it immediately and independent on current 

stream and execution state

mask

 – specifies which of the bits in "value" have to be used for setting and clearing output data, only these bits 

that are set to 1 in 

mask

 are changed according to the given 

value

; this parameter requires a firmware version 

12 or newer, elsewhere it is ignored and the function assumes a 

mask

-value of 0xFFFFFFFF which results in an 

output bitpattern which is exactly the given value with all bits set/cleared

value

 – the 8 bit value to be set at digital out port

Return: 

E180X_OK

 or an 

E180X_ERROR_

 return code in case of an error

int32_t E180X_motion_digi_read(const uint8_t n, const uint32_t flags, uint32_t 
*value)

Reads the second 8 bit digital input port which is located on the Intelli-IO extension. Since this 

extension board provides only six input bits, the upper two bits always will be 0.
This is not a stream-command, means it is executed immediately and returns current state of the digital inputs.
When parameter 

flags

 is set to 0, the state of the digital inputs is requested actively which results in a 

separate data transmission to the controller card. On excessive use of this command, that may slow down 
communication with the controller dramatically. Alternatively 

flags

 can be set to 

E180X_COMMAND_FLAG_PASSIVE

 which does not cause such a request. Instead of this the last known state of 

the digital inputs is returned by this function based on the last regular feedback from the controller or based on 
the last call to this function with this passive-flag not set. So when this flags is used, the returned 

value

 may be 

several hundred milliseconds old.

Parameters:

n

 – the 1-based board instance number as returned by 

E180X_set_connection()

value

 – pointer to a variable where the current digital input state has to be written into.

When the function returns an error code instead of 

E180X_OK

, this value is undefined and can't be used.

Return: 

E180X_OK

 or an 

E180X_ERROR_

-return code in case of an error

18.1.6 Intelli-IO extension functions (motion mode)

Following functions require a Intelli-IO Extension Board as described in section “10.3 Intelli-IO Interface in 
motion mode” and can be used to control motion oper
ations. Here command options that set a value or start a 

119

background image

motion are always available in two options: as stream (flag 

E180X_COMMAND_FLAG_STREAM

 is set) or as direct 

command (flag 

E180X_COMMAND_FLAG_DIRECT

 is set). Stream-commands are always executed in the order 

they are sent to the controller and the controller always waits until one motion has been finished before any 
other command in this stream is executed. Direct commands are executed immediately, here it is up to the user 
to wait until a motion operation has ended. This wait-operation is the same as for every other scanner 
operation: first one has to wait until operation started, next one has to wait until operation has ended. It is 
mandatory to always wait for both state changes.
All the functions described here require at least firmware version 6.

int E180X_motion_set_steps(const unsigned char n, const unsigned int flags,const 
double steps)

Set the factor which defines the relation between steps (increments) of the used stepper motor and the 

distance that it travels. This value needs to be specified prior to all other operations in order to allow correct 
calculation of all distances and speeds as expected by the other functions as described below. For the E1803 
motion extension no default value exists, so if no factor is set, motion operations are done with an undefined, 
random value which may lead to unexpected results.
The E1803 motion extension programming interface always makes use of real distances (mostly in unit mm) and 
does not expect the calling application to do the conversion from increments to mm.
Parameters:

n

 – the 1-based board instance number as returned by 

E180X_set_connection()

flags

 – command flags specifying the type of function call (

E180X_COMMAND_FLAG_STREAM

 or 

E180X_COMMAND_FLAG_DIRECT

) and for which axes the given values have to be applied 

(

E180X_COMMAND_FLAG_AXIS_0

E180X_COMMAND_FLAG_AXIS_1

E180X_COMMAND_FLAG_AXIS_2

E180X_COMMAND_FLAG_AXIS_3

)

steps

 – factor which defines relation between stepper motor steps and travel distance (in unit increments/mm 

for longitudinal movements or increments/degree for rotational movements)

Return: 

E180X_OK

 or an 

E180X_ERROR_

-return code in case of an error

int E180X_motion_set_pulsewidth(const unsigned char n, const unsigned char 
width)

Set the width of the setp-pulses to the given value in unit usec. By default this value is set to 10 usec which 
should fit for most applications. Setting it to smaller typically values does not make any sense, setting larger 
values may be necessary in case of some slo stepper motor drivers. In this case please note: larger pulse with 
values result in a smaller maximum step frequency as these large pulses may overlap each other in such cases 
and result in a permanent HIGH-signal instead of a step-frequency.
This function requires firmware version 11 or newer.
Parameters

n

 – the 1-based board instance number as returned by 

E180X_set_connection()

width

 – the new pulsewidth to be used in range 10..200 usec

Return: 

E180X_OK

 or an 

E180X_ERROR_

-return code in case of an error

int E180X_motion_set_limits(const unsigned char n,const unsigned int flags,const 
double llimit,const double hlimit,const unsigned double in_slimit)

Set motion limits for axis operations. When any follow-up command tries to set values beyond these 

limits, these values are clipped to the allowed range set with this function.

Parameters:

n

 – the 1-based board instance number as returned by 

E180X_set_connection()

flags

 – command flags specifying the type of function call (

E180X_COMMAND_FLAG_STREAM

 or 

E180X_COMMAND_FLAG_DIRECT

) and for which axes the given values have to be applied 

(

E180X_COMMAND_FLAG_AXIS_0

E180X_COMMAND_FLAG_AXIS_1

E180X_COMMAND_FLAG_AXIS_2

E180X_COMMAND_FLAG_AXIS_3

)

llimit

 – lower motion limit (in unit mm or degrees)

hlimit

 – upper motion limit (in unit mm or degrees)

in_slimit

 – speed limit (in unit mm/sec or degrees/sec)

Return: 

E180X_OK

 or an 

E180X_ERROR_

-return code in case of an error

120

background image

int E180X_motion_set_accel(const unsigned char n,const unsigned int flags,const 
double accel)

Set the acceleration to be used for start and stop for all motion operations and for the specified axes.

Parameters:

n

 – the 1-based board instance number as returned by 

E180X_set_connection()

flags

 – command flags specifying the type of function call (

E180X_COMMAND_FLAG_STREAM

 or 

E180X_COMMAND_FLAG_DIRECT

) and for which axes the given values have to be applied 

(

E180X_COMMAND_FLAG_AXIS_0

E180X_COMMAND_FLAG_AXIS_1

E180X_COMMAND_FLAG_AXIS_2

E180X_COMMAND_FLAG_AXIS_3

)

accel

 – acceleration (in unit mm/sec

2

 or degrees/sec

2

)

Return: 

E180X_OK

 or an 

E180X_ERROR_

-return code in case of an error

int E180X_motion_set_speed(const unsigned char n,const unsigned int flags,double 
speed)

Set the speed for the next motion operations and for the specified axes. Since all motions are combined 

movements where all axes start and stop at the same time, the speed value given here is some kind of 
recommendation which may not be used at the next motion operation. Here following rules apply:

a speed value given here is never exceeded

when only one axis is moved by a motion operation 

E180X_motion_move_abs()

 or 

E180X_motion_move_rel()

 at the same time, the speed value given here is used for this movement

when more than one axis is moved by a motion operation 

E180X_motion_move_abs()

 or 

E180X_motion_move_rel()

 at the same time, the controller calculates speeds for all axes which 

ensure they all start and stop their movements at the same time

Parameters:

n

 – the 1-based board instance number as returned by 

E180X_set_connection()

flags

 – command flags specifying the type of function call (

E180X_COMMAND_FLAG_STREAM

 or 

E180X_COMMAND_FLAG_DIRECT

) and for which axes the given values have to be applied 

(

E180X_COMMAND_FLAG_AXIS_0

E180X_COMMAND_FLAG_AXIS_1

E180X_COMMAND_FLAG_AXIS_2

E180X_COMMAND_FLAG_AXIS_3

)

speed

 – motion speed (in unit mm/sec or degrees/sec)

Return: 

E180X_OK

 or an 

E180X_ERROR_

-return code in case of an error

int E180X_motion_move_abs(const unsigned char n,const unsigned int flags,const 
double pos0,const double pos1,const double pos2,const double pos3)

Start a motion operation to the given absolute positions using at maximum the speeds specified with 

E180X_motion_set_speed()

.

Parameters:

n

 – the 1-based board instance number as returned by 

E180X_set_connection()

flags

 – command flags specifying the type of function call (

E180X_COMMAND_FLAG_STREAM

 or 

E180X_COMMAND_FLAG_DIRECT

) and for which axes the given values have to be applied 

(

E180X_COMMAND_FLAG_AXIS_0

E180X_COMMAND_FLAG_AXIS_1

E180X_COMMAND_FLAG_AXIS_2

E180X_COMMAND_FLAG_AXIS_3

); the additional flag 

E180X_COMMAND_FLAG_DONOTWAIT

 can be set to perform a movement parallel to other operations, for 

details please refer to description of function 

E180X_motion_stream_wait()

 below

pos0

 – absolute motion position for axis 0 (in unit mm or degrees); this value is used only when flag 

E180X_COMMAND_FLAG_AXIS_0

 is set

pos1

 – absolute motion position for axis 1 (in unit mm or degrees); this value is used only when flag 

E180X_COMMAND_FLAG_AXIS_1

 is set

pos2

 – absolute motion position for axis 2 (in unit mm or degrees); this value is used only when flag 

E180X_COMMAND_FLAG_AXIS_2

 is set

pos3

 – absolute motion position for axis 3 (in unit mm or degrees); this value is used only when flag 

E180X_COMMAND_FLAG_AXIS_3

 is set

121

background image

Return: 

E180X_OK

 or an 

E180X_ERROR_

-return code in case of an error

int E180X_motion_move_rel(const unsigned char n,const unsigned int flags,const 
double pos0,const double pos1,const double pos2,const double pos3)

Start a motion operation which changes the current axis position by the value specified here and by 

using at maximum the speeds specified with 

E180X_motion_set_speed()

.

Please note: in case of a direct operation it is mandatory to wait for the end of all previous motion operations 
before this function is called. Elsewhere the real current axis position is not known and a relative movement is 
not possible.

Parameters:

n

 – the 1-based board instance number as returned by 

E180X_set_connection()

flags

 – command flags specifying the type of function call (

E180X_COMMAND_FLAG_STREAM

 or 

E180X_COMMAND_FLAG_DIRECT

) and for which axes the given values have to be applied 

(

E180X_COMMAND_FLAG_AXIS_0

E180X_COMMAND_FLAG_AXIS_1

E180X_COMMAND_FLAG_AXIS_2

E180X_COMMAND_FLAG_AXIS_3

); the additional flag 

E180X_COMMAND_FLAG_DONOTWAIT

 can be set to perform a movement parallel to other operations, for 

details please refer to description of function 

E180X_motion_stream_wait()

 below

pos0

 – change the motion position for axis 0 (in unit mm or degrees) by the value given here; this value is used 

only when flag 

E180X_COMMAND_FLAG_AXIS_0

 is set

pos1

 – change the motion position for axis 1 (in unit mm or degrees) by the value given here; this value is used 

only when flag 

E180X_COMMAND_FLAG_AXIS_1

 is set

pos2

 – change the motion position for axis 2 (in unit mm or degrees) by the value given here; this value is used 

only when flag 

E180X_COMMAND_FLAG_AXIS_2

 is set

pos3

 – change the motion position for axis 3 (in unit mm or degrees) by the value given here; this value is used 

only when flag 

E180X_COMMAND_FLAG_AXIS_3

 is set

Return: 

E180X_OK

 or an 

E180X_ERROR_

-return code in case of an error

int E180X_motion_move_abs_async(const unsigned char n,const unsigned int 
flags,const double pos0,const double pos1,const double pos2,const double pos3)

Start an asynchronous motion operation to the given absolute positions using at maximum the speeds 

specified with 

E180X_motion_set_speed()

. Comparing to 

E180X_motion_move_abs()

, this function:

waits until a possibly running, previous motion operation at the same axes has completed

starts this motion operation

continues without waiting for the end of this motion, so other operations (except motions) can be 
executed in parallel

This command requires firmware version 15 or newer.

Parameters:

n

 – the 1-based board instance number as returned by 

E180X_set_connection()

flags

 – command flags specifying the type of function call (currently only 

E180X_COMMAND_FLAG_STREAM

 is 

supported) and for which axes the given values have to be applied (

E180X_COMMAND_FLAG_AXIS_0

E180X_COMMAND_FLAG_AXIS_1

E180X_COMMAND_FLAG_AXIS_2

E180X_COMMAND_FLAG_AXIS_3

); the 

additional flag 

E180X_COMMAND_FLAG_DONOTWAIT

 can be set to perform a movement parallel to other 

operations, 

for details please refer to description of function 

E180X_motion_stream_wait()

 below

pos0

 – absolute motion position for axis 0 (in unit mm or degrees); this value is used only when flag 

E180X_COMMAND_FLAG_AXIS_0

 is set

pos1

 – absolute motion position for axis 1 (in unit mm or degrees); this value is used only when flag 

E180X_COMMAND_FLAG_AXIS_1

 is set

pos2

 – absolute motion position for axis 2 (in unit mm or degrees); this value is used only when flag 

E180X_COMMAND_FLAG_AXIS_2

 is set

pos3

 – absolute motion position for axis 3 (in unit mm or degrees); this value is used only when flag 

E180X_COMMAND_FLAG_AXIS_3

 is set

Return: 

E180X_OK

 or an 

E180X_ERROR_

-return code in case of an error

122

background image

int E180X_motion_stream_wait(const unsigned char n)

The two motion functions 

E180X_motion_move_abs()

 and 

E180X_motion_move_rel()

 

described above can be called with the command flag 

E180X_COMMAND_FLAG_STREAM

 set to ensure 

sequential operation within the normal stream of commands. In this mode processing of further commands is 
halted until the related motion operation has finished. Since the motion extension board uses an own micro-
controller, here also parallel operations are possible: when for these motion functions the flag 

E180X_COMMAND_FLAG_DONOTWAIT

 is set together with 

E180X_COMMAND_FLAG_STREAM

, operation does 

not wait but continues to process other data in stream. In such a case motion is performed in parallel to these 
operations done on the main laser controller.
This is true only for non-motion operations, before the next motion operation is called, the application has to 
wait until the previous one has been finished. Within a stream this has to be done by calling function 

E180X_motion_stream_wait()

, it re-synchronises the stream with the parallel motion operation. So the 

rule is: as long as a motion operation was started with the combined flags 

E180X_COMMAND_FLAG_STREAM|

E180X_COMMAND_FLAG_DONOTWAIT

, a following call to 

E180X_motion_stream_wait()

 is mandatory 

before any other motion-function is used.

Parameters:

n

 – the 1-based board instance number as returned by 

E180X_set_connection()

Return: 

E180X_OK

 or an 

E180X_ERROR_

-return code in case of an error

int E180X_motion_stop(const unsigned char n)

Stop a currently running motion operation immediately. Since axes always perform a combined 

movement where all axes start and stop at the same time, the stop function always affects all axes which are 
moving. When 

E180X_stop_execution()

 is called instead, not only axis movements but also all other 

operations are stopped.

Parameters:

n

 – the 1-based board instance number as returned by 

E180X_set_connection()

Return: 

E180X_OK

 or an 

E180X_ERROR_

-return code in case of an error

int E180X_motion_get_pos(const unsigned char n,const unsigned char 
axisNum,double *pos)

Retrieves the current position of an axis. This command is always a direct command retrieving the 

current axis position. Thus it does not make use of command-flags.

Parameters:

n

 – the 1-based board instance number as returned by 

E180X_set_connection()

axisNum

 – the number of the axis (but not the axis-flags!) in range 0..3 where the current position has to be 

retrieved for

pos

 – pointer to a variable where the current position (in unit mm) of the axis with the number specified in 

axisNum

 has to be stored into; when the function does not return 

E180X_OK

, this value is undefined 

and can't be used

Return: 

E180X_OK

 or an 

E180X_ERROR_

-return code in case of an error

int E180X_motion_reference(const unsigned char n,const unsigned int flags,const 
unsigned int mode,const double leaveDist,double speedStep0,double speedStep1)

Starts a referencing operation (=homing sequence) to have a defined position for the axis. The 

referencing sequence consists of following steps:

move to reference switch (connected to reference-input) with first referencing speed 

speedStep0

leave the reference switch by the given distance 

leaveDist

move to reference switch (connected to reference-input) with second referencing speed 

speedStep1

set the position of the referenced axis to -1 – this value can be used to check if referencing was 
successful or not, when 

E180X_motion_get_pos()

 returns a different value than -1 for the 

referenced axis, something went wrong and referencing failed

Parameters:

123

background image

n

 – the 1-based board instance number as returned by 

E180X_set_connection()

flags

 – command flags specifying the type of function call (

E180X_COMMAND_FLAG_STREAM

 or 

E180X_COMMAND_FLAG_DIRECT

) and for which axes the given values have to be applied 

(

E180X_COMMAND_FLAG_AXIS_0

E180X_COMMAND_FLAG_AXIS_1

E180X_COMMAND_FLAG_AXIS_2

E180X_COMMAND_FLAG_AXIS_3

)

mode

 – specifies how referencing has to be done exactly, here a bunch of OR-concatenated flags can be handed 

over: one of the flags 

E180X_MOTION_REFSTEP_N

 (to search for the reference input in negative 

direction) or 

E180X_MOTION_REFSTEP_P

 (to search for the reference input in positive direction) 

which optionally can be combined with flag 

E180X_MOTION_REFSTEP_INV_SWITCH

 to have 

inverted logic on the reference input

leaveDist

 – distance (in unit mm or degrees) to move off the reference switch after the switch was found for 

the first time

speedStep0

 – referencing speed (in unit mm/sec or degrees/sec) to find the reference switch for the first time 

(this value can be larger than 

speedStep1

 but should be small enough to not to overrun the switch)

speedStep1

 – referencing speed (in unit mm/sec or degrees/sec) to find the reference switch for the second 

time (this value should be smaller than 

speedStep0

 and is responsible for the accuracy of the 

referenced 

position)

Return: 

E180X_OK

 or an 

E180X_ERROR_

-return code in case of an error

int E180X_motion_set_pos(const unsigned char n,const unsigned int flags,const 
double pos)

This function does not cause any movement but resets the current axis position(s) to a new value. It can 

be used e.g. after successful referencing to set the initial positions to some own values. All following movement 
operations then are done in respect to the position values given here.

Parameters:

n

 – the 1-based board instance number as returned by 

E180X_set_connection()

flags

 – command flags specifying the type of function call (

E180X_COMMAND_FLAG_STREAM

 or 

E180X_COMMAND_FLAG_DIRECT

) and for which axes the given values have to be applied 

(

E180X_COMMAND_FLAG_AXIS_0

E180X_COMMAND_FLAG_AXIS_1

E180X_COMMAND_FLAG_AXIS_2

E180X_COMMAND_FLAG_AXIS_3

)

pos

 – the new position value to be set for the specified axis/axes (in unit mm or degrees)

Return: 

E180X_OK

 or an 

E180X_ERROR_

-return code in case of an error

18.1.7 Miscellaneous functions

int E180X_write(unsigned char n, unsigned int flags, unsigned int value)

Writes some specific data to outputs at E1803D controller. Here 

flags

 decides which output to use 

and 

value

 specifies what has to be written to this output. Additionally 

flags

 decides weather this is a stream-

command (means it is executed at a point in stream that is relative to the other stream commands) or a direct 
command (means it is executed immediately on calling).

Parameters:

n

 – the 1-based board instance number as returned by 

E180X_set_connection()

flags

 – handling flags specifying the behaviour of this command, when 

E180X_COMMAND_FLAG_STREAM

 is 

set, it is used as stream command, 

E180X_COMMAND_FLAG_DIRECT

 specifies to execute it immediately and 

independent on current stream and execution state. Here exactly one of these flags can be used, it is not 
allowed to OR-concatenate them. Additionally exactly one of the following flags has to be set to specify which 
output need to be used to send the 

value

 to, this flag has to be OR-concatenated with one of the previously 

described ones:

E180X_COMMAND_FLAG_WRITE_LP8MO

 – set or unset MO-output of laser connector to a value of 1 or 0

E180X_COMMAND_FLAG_WRITE_LP8LATCH

 – set or unset latch-output of laser connector to a value of 1 or 0

E180X_COMMAND_FLAG_WRITE_LASERGATE

 – set or unset LaserGate-output to a value of 1 or 0, this 

functions should be used with jump or mark operations only since every switch from jump to mark (or vice 

124

background image

versa) still sets the LaserGate output automatically and therefore would overwrite own values set with this 
function

value

 – the value to be sent to the output specified by flags

Return: 

E180X_OK

 or an 

E180X_ERROR_

-return code in case of an error

18.1.8 Writing of stand-alone data

Using E1803D Easy Programming Interface it is also possible to write stand-alone data which are not marked 
immediately but are stored either locally or on scanner controller's micro-SD-card. In this mode sending of 
vector data, scanner- and laser parameters looks exactly the same as for direct operation mode where data are 
marked immediately. The difference can be found in initialisation (which tells the software to not to mark these 
data but to store them for later use) and when dynamic data are created.

E1803D supports two types of writing of stand-alone data:

sending them to the controller via Ethernet or USB connection where they are written to micro-SD-
card and

writing one or more files to the local file system which later have to be copied to the micro-SD-card of 
the controller manually.

The general procedure for sending stand-alone data to the controller's micro-SD-card has to look as follows:

1. The controller needs to be in idle-state, means it should not mark and should not have loaded an 

already existing .EPR file. This can be ensured by calling stand-alone command 

clepr

 with a filename 

for a file that does not exists on micro-SD-card. For more details please refer to “16.2 Stand-Alone 
Control Commands“

2. Configure the connection to E1803D controller by calling 

E180X_set_connection()

, the returned 

board instance number has to be used for all following function calls.

3. Enable stand-alone write mode and specify the filename of the .EPR file to be created on micro-SD-card 

by calling 

E180X_set_filepath()

 with mode 

E180X_FILEMODE_SEND

.

4. Send all laser- and scanner-parameters as well as vector data as usual.
5. Optionally: send information about dynamic contents of the .EPR file to be created by calling 

E180X_dynamic_data()

 optionally followed by some vector data followed by an other call to 

function 

E180X_dynamic_data()

 which ends this section of dynamic data (please refer function 

description below for details).

6. Wait until 

E180X_get_card_state()

 returns “busy”

7. Wait until 

E180X_get_card_state()

 returns “idle” or an error

8. End data transmission and finish created file by calling 

E180X_close()

.

The general procedure for writing stand-alone data to the local filesystem has to look as follows:

1. Since writing of local data does not require a working connection to the controller card, it does not 

need to be configured and the special board instance number 0 has to be used for all following function 
calls.

2. Enable stand-alone write mode and specify the filename of the .EPR file to be created by calling 

E180X_set_filepath()

 with mode 

E180X_FILEMODE_LOCAL

.

3. Send all laser- and scanner-parameters as well as vector data as usual.
4. Optionally: send information about dynamic contents of the .EPR file to be created by calling 

E180X_dynamic_data()

 optionally followed by some vector data followed by an other call to 

function 

E180X_dynamic_data()

 which ends this section of dynamic data (please refer function 

description below for details).

5. End data transmission and finish created file by calling 

E180X_close()

.

The functions which are specific to writing of stand-alone data have to be used as follows:

int E180X_set_filepath(unsigned char n,const char *fname,unsigned int mode)

This function enables operation mode where all following data are not marked immediately but written 

into an .EPR stand-alone file. This mode stays active until next call of 

E180X_close()

. It has to be called prior 

to 

E180X_load_correction()

. Valid parameters and their meaning depends on the usage scenario:

125

background image

when sending stand-alone data to a connected controller which writes the .EPR file to the micro-SD-
card directly:

n

 – the 1-based board instance number as returned by 

E180X_set_connection()

fname

 – name of the file as it has to appear on micro-SD-card of the controller in style 

“0:/filename.epr” where “0:/” is a fixed prefix specifying the micro-SD-card, “filename” is a free to 
choose name with recommended 8 characters at max and “.epr” is a fixed, mandatory file extension 
specifying an E1803 stand-alone file

mode

 – set to 

E180X_FILEMODE_SEND

 to specify the data have to be sent to the controller

when writing stand-alone data to the local filesystem (no controller card directly involved):

n

 – board instance number, has to be set to 0 (as well as for all other function calls in this mode)

fname

 – name of the file to be written, this has to be a valid path to a location on a local filesystem 

which is writeable and needs to have file extension “.epr”

mode

 – set to 

E180X_FILEMODE_LOCAL

 to specify the data have to be written locally

Return: 

E180X_OK

 or an 

E180X_ERROR_

-return code in case of an error

int E180X_dynamic_data(unsigned char n,struct oapc_bin_struct_dyn_data2 
*dynData)

This function can be used to write dynamic data such as texts, serial numbers, barcodes which later can 

be changed during operation in stand-alone mode.
This function always has to be called in fixed sequences:

1. jump to the start position of the dynamic element by calling 

E180X_jump_abs()

2. first call of 

E180X_dynamic_data(n,dynData)

 with a valid 

dynData

 parameter describing the 

dynamic content and its capabilities

3. optionally and dependent on type of dynamic data that have to be created: some vector data which 

belong to the dynamic content and are required to build it up

4. second call of 

E180X_dynamic_data(n,NULL)

 with NULL handed over for parameter 

dynData

 to 

finish this element

A stand-alone file can contain up to ten dynamic data elements. So this function can be called up to ten times to 
create a new element on each call.

When this function is called, beside the .EPR-file an additional .DAT file is created which contains some specific 
data. During operation in stand-alone mode an other file with the same name and with extension .SER may be 
created which contains counting information of an included serial number. All these files belong together and 
deleting one or more of them may lead to unexpected results. When writing the data to local filesystem it also 
has to be ensured both, the .EPR and the .DAT file are copied to the controller later.

The structure 

oapc_bin_struct_dyn_data2

 is defined in file “oapc_libio.h” which is part of the OpenSDK. 

The general usage is described in OpenSDK manual, both are available for download at 

https://halaser.systems/download.php

.

For E1803 scanner controller card following specific parameters and features of this structure can to be used:

Independent from what kind of dynamic element has to be created, following members of structure 

oapc_bin_struct_dyn_data2

 

always have to be filled

 with data:

UID – and unique identifier which can be created out of a plain, human readable text which should be unique 

too and later can be used to access this specific element via stand-alone control commands; this 
identifier has to created out of the 8 bit ASCII character using following CRC-function:

#define

 

POLY

 0x82f63b78

/* CRC-32 (Ethernet, ZIP, etc.) polynomial in reversed bit order. */

unsigned

 

int

 

crc32b

(

const

 

char

 *

buf

)

{
   

int

          

k

;

   

unsigned

 

int

 

crc

=0xFFFFFFFF;

   

size_t

       

len

=

strlen

(

buf

);

   

while

 (

len

--) 

126

background image

   {
      

crc

^=*

buf

++;

      

for

 (

k

=0; 

k

<8; 

k

++)

       

crc

=

crc

&1 ? (

crc

>>1)^

POLY

 : 

crc

>>1;

   }
   

return

 ~

crc

;

}

uScaleX

 – scaling factor in X-direction in unit 1/1000000

uScaleY

 – scaling factor in Y-direction in unit 1/1000000

res1a

res1b

res2

res3

res4

res5

res6

res7

 – these members are reserved for later use and all have

to be set to 0

Every dynamic element can be a 

serial number

. In such a case the serial number part of structure 

oapc_bin_struct_dyn_data2

 has to be filled with data:

fmtString

 – an ASCII text with a maximum length of 

DYN_DATA_MAX_STRING_LENGTH

 describing the 

format of the serial number/date/time in the dynamic element, here the same notation has to be used 
as it is known from the serial number input element of BeamConstruct (please refer to the related 
manual)

snBeatCount

 – specifies how much numbers of mark operations have to elapse before the serial number has 

to be incremented, here a value of 1 has to be given to increment on every operation

snBeatOffset

 – specifies a counting offset for the beat count parameter

snIncrement

 – specifies the step width by which a serial number has to be incremented

snNumericBase

 – the numeric base of the serial numbers to be displayed, default is 10 for decimal numbers

snResetAtTime

 – the time value at which the serial number has to be reset to it's initial value; set to a 

timestamp (in unit day of week/date/seconds) when it has to be reset at a given time

snResetAtValue

 – the numeric value at which the serial number has to be reset to it's initial value

snFlags

 – a set of OR-concatenated flags which further specifies handling of the serial number:

0x0002 – reset the serial number at a specific counting value specified by 

snResetAtValue

0x0004 – reset the serial number at a specific day of the week specified by 

snResetAtTime

0x0008 – reset the serial number at a specific date specified by 

snResetAtTime

0x0010 – reset the serial number at a specific time of the day specified by 

snResetAtTime

snStartValue

 – the initial- and reset-to-value of the serial number

snMinDigits

 – the minimum number of digits the serial number has to consist of

timeOffset

 – a static offset (in unit seconds) to be added to the time-part of the current element

Dynamic 

text elements

 additionally need to fill following parts of the same structure 

oapc_bin_struct_dyn_data2

:

fmtString

 – an ASCII text with a maximum length of 

DYN_DATA_MAX_STRING_LENGTH

 which contains the

text to be shown and which can be changed by appropriate stand-alone commands later; when used in
combination with serial number data, here a format-string has to be given as described above

type

 – a number which specifies the font to be used for creating the dynamic texts, here one of following 

values can be used:

0x01000000

 – use “Rect Single” laser font

0x02000000

 – use “Rect Double” laser font

0x03000000

 – use “Roman Simple” laser font

0x04000000

 – use “Roman Double” laser font

0x05000000

 – use “Script Simple” laser font

0x06000000

 – use “Script Double” laser font

0x07000000

 – use “Script Complex” laser font

0x08000000

 – use “Times Simple” laser font

0x09000000

 – use “Times Bold” laser font

0x0A000000

 – use “Times Italic” laser font

0x0B000000

 – use “Times Italic Bold” laser font

127

background image

flags

 – some OR-concatenated flags which specify orientation, alignment and style of the text to be

generated, here no two flags of same type are allowed to be combined which would conflict with each 
other:

0x00000000

 – orient text left to right

0x00010000

 – orient text right to left

0x00020000

 – orient text top to bottom

0x00030000

 – orient text bottom to top

0x00000000

 – horizontally align to the left

0x00000100

 – centre-align horizontally

0x00000200

 – horizontally align to the right

0x00000001

 – style fixed char-size – all characters are forced to have same distance

param1

 – kerning value in unit 1/1000%

param2

 – reserved for future use, set to 0

param3

 – spacing in unit 1/1000%

Dynamic 

DataMatrix barcode elements

 require vector data to be sent between two calls of function 

E180X_dynamic_data()

, these vector data describe the pattern which has to be marked to create one single 

element (means square) of the DataMatrix barcode. Such an element needs to incorporate all that is needed 
including laser- and scannerdata as well as vector data for outline and possible hatches. During stand-alone 
operation the barcode itself is created by combining these single elements at these positions, where a bit 
(=square) has to be set).
Additionally following data of the structure 

oapc_bin_struct_dyn_data2

 need to be filled for this type of 

element:

fmtString

 – an ASCII text with a maximum length of 

DYN_DATA_MAX_STRING_LENGTH

 which contains the

text to be encoded as DataMatrix barcode and which can be changed by appropriate stand-alone
commands later; when used in combination with serial number data, here a format-string has to be
given as described above

type

 – set to 71 for DataMatrix barcode

flags

 – some OR-concatenated flags which further specify how the barcode has to be created, currently only 

one flag is supported:
0x0001 – create a square-shaped DataMatrix barcode instead of a rectangular one

param1

 – set to 0

param2

 – set to -1

param3

 – specifies the size to be generated (in range 2..30) and implicitly the error correction level

quietZone

 – zone the barcode has to be surrounded with, the value given here is the multiple of the width of a 

single token multiplied with 1000

18.1.8.1 Example

Following a (simplified) example in some pseudo-code is given which demonstrates the correct usage of the 

programming interface to write stand-alone data. The laser- and scanner-parameters are dropped in this 
example since they are not specific to this operation mode and always have to be set.

Example: A serial number in format “000/hh/mm” where “000” is a continuously increased number, “hh” is the 
current hour and “mm” is the current minute has to be encoded into a DataMatrix barcode which has a size of 
25x25 mm and is positioned at -30x30 mm within a 100x100 mm working area that itself is aligned to 
coordinates -50,50

1. not shown here: initialisation of libE1803 (with evaluation of parameter 

boardIdx

), sending of default 

scanner and laser data as usual

2.

E180X_jump_abs(boardIdx, -20132659, 20132659, 0)

 // jump to the starting position of 

the DataMatrix barcode to be created

3.

E180X_dynamic_data(boardIdx, dynData)

 // initiate the dynamic data sequence, here the 

members of dynData are set to following values:

128

background image

UID 

  = 2340633892

 – CRC-value of element name “Barcode 1”

fmtString    = "$S/%I/%M"

 – display serial number, hour and minute

type 

  = 71

 – DataMatrix barcode

flags 

  = 1

 – barcode forced to square

param2 

  = 4294967295

param3 

  = 2

uScaleX 

  = 1029654

uScaleY 

  = 1029654

snIncrement   = 1
snNumericBase = 10
snMinDigits   = 3

all other values are set to 0

4.

E180X_jump_abs(boardIdx, 0, 0, 0)
E180X_mark_abs(boardIdx, 1197222, 0, 0)
E180X_mark_abs(boardIdx, 1197222, -1197222, 0)
E180X_mark_abs(boardIdx, 0, -1197222, 0)
E180X_mark_abs(boardIdx, 0, 0, 0)

 // draw a single rectangle which describes one 

DataMatrix cell (in this example only the outline without any hatching is done, hatches would have to 
be added here too

5.

E180X_dynamic_data(boardIdx, NULL)

 // end the sequence of dynamic data

6.

E180X_execute(boardIdx)

7. Not shown here: waiting for card being busy, waiting for card being idle (which means writing of the Epr 

file to the microSD card has been finished), closing the connection to the controller

18.1.9 Error Codes

Most of the functions described above can return an error code in case an operation could not be completed 
successfully for any reason. So when it does not return with 

E180X_OK

 the error code informs about the 

reason for failure:

E180X_ERROR_INVALID_CARD

 – a wrong or illegal card number was specified with function 

parameter 

n

E180X_ERROR_NO_CONNECTION

 – a connection to card could not be established

E180X_ERROR_NO_MEMORY

 – there is not enough memory available on the host

E180X_ERROR_UNKNOWN_FW

 – card is running an unknown and/or incompatible firmware version

E180X_ERROR_TRANSMISSION

 – data transmission to card failed

E180X_ERROR_FILEOPEN

 – opening of a file failed

E180X_ERROR_FILEWRITE

 – writing of data into a file failed

E180X_ERROR_INVALID_DATA

 – data or parameters handed over to a function are invalid, out of 

range or illegal in current context

E180X_ERROR_UNKNOWN_BOARD

 – trying to access a controller board that is not a motion controller

E180X_ERROR_FILENAME

 – a file name handed over to a function was illegal, it is either too long, has 

an illegal or too long file extension, comes with too much sub-directories or contains illegal characters

E180X_ERROR_NOT_SUPPORTED

 – the requested feature or function is not supported by the current 

firmware version

E180X_ERROR

 – an other, unspecified error occurred

E180X_ERROR_STILL_IN_PROGRESS

 – the requested function could not be executed because the 

controller is still busy, this happens e.g. in cases where a stand-alone operation is running on the 
controller which is not under control of the programming interface

18.2 RTC4 Compatibility Functions

Beside the easy programming interface described above, a bunch of additional functions is provided that are 
compatible to the ones known from RTC4 scanner controller card. So to use E1803D scanner card with existing 
code that supports the RTC4 scanner controller, following few steps have to be done:

129

background image

insert a call to 

E180X_set_connection()

 into existing code as very first in order to specify the 

communication connection for E1803D card (this is the only exception where an E1803D Easy 
Interface Function should be used together with an RTC4 Compatibility Function)

recompile the existing RTC4-application so that it uses e1803inter.DLL/libe1803inter.so instead of 
RTC4DLL.dll/libslrtc4.so

In case E1803D card has to be operated with default connection settings, no recompilation is necessary, here 
e1803inter.dll/libe1803inter.so just has to be renamed to RTC4DLL.dll/libslrtc4.so.

Since most relevant RTC4 functions are already provided, majority of existing applications should work now 
without any further modifications. Due to the completely different concept of E1803D scanner controller, 

there are some differences to the original RTC4 programming interface which should be checked in case of 
some errors:

all RTC4 functions that exist as list- and non-list-commands are treated like a list command

list switch commands are ignored since E1803D does not make use of separated lists internally

output of already sent marking data is started on calls to 

n_execute_list()

execute_list()

n_set_end_of_list()

 or 

set_end_of_list()

some functions are not implemented or always return a default value (please refer below for a list of 
not implemented RTC4 functions)

Following functions are specific to RTC4 hardware or do not make sense when E1803D scanner card is used 
and therefore aren't supported:

n_load_z_table()
load_z_table()
n_set_defocus_list()
set_defocus_list()
n_set_offset_list()
set_offset_list()
n_laser_on_list()
laser_on_list()
n_set_list_jump()
set_list_jump()
n_set_input_pointer()
set_input_pointer()
n_list_call()
list_call()
n_list_return()
list_return()
n_z_out_list()
z_out_list()
n_timed_jump_abs()
timed_jump_abs()
n_timed_mark_abs()
timed_mark_abs()
n_timed_jump_rel()
timed_jump_rel()
n_timed_mark_rel()
timed_mark_rel()
n_set_fly_rot()
set_fly_rot()
n_fly_return()
fly_return()
n_calculate_fly()
calculate_fly()
n_select_cor_table_list()
select_cor_table_list()
n_set_wait()
set_wait()
n_simulate_ext_start()
simulate_ext_start()
n_set_pixel_line()
set_pixel_line()

130

background image

n_set_pixel()
set_pixel()
n_set_extstartpos_list()
set_extstartpos_list()
n_laser_signal_on_list()
laser_signal_on_list()
n_laser_signal_off_list()
laser_signal_off_list()
n_set_io_cond_list()
set_io_cond_list()
n_clear_io_cond_list()
clear_io_cond_list()
n_list_jump_cond()
list_jump_cond()
n_list_call_cond()
list_call_cond()
n_save_and_restart_timer()
save_and_restart_timer()
n_set_ext_start_delay_list()
set_ext_start_delay_list()
n_set_trigger()
set_trigger()
n_arc_rel()
arc_rel()
n_arc_abs()
arc_abs()
drilling()
regulation()
flyline()
n_get_input_pointer()
get_input_pointer()
n_get_marking_info()
get_marking_info()
n_auto_change_pos()
auto_change_pos()
aut_change()
n_start_loop()
start_loop()
n_quit_loop()
quit_loop()
n_write_da_2()
write_da_2()
n_set_max_counts()
set_max_counts()
n_set_offset()
set_offset()
n_disable_laser()
disable_laser()
n_enable_laser()
enable_laser()
n_stop_list()
stop_list()
n_restart_list()
restart_list()
n_get_xyz_pos()
get_xyz_pos()
n_get_xy_pos()
get_xy_pos()
n_select_list()
select_list()
n_z_out()
z_out()
n_laser_signal_on()

131

background image

laser_signal_on()
n_laser_signal_off()
laser_signal_off()
n_set_delay_mode()
set_delay_mode()
n_set_piso_control()
set_piso_control()
n_select_status()
select_status()
n_get_encoder()
get_encoder()
n_select_cor_table()
select_cor_table()
n_execute_at_pointer()
execute_at_pointer()
n_get_head_status()
get_head_status()
n_simulate_encoder()
simulate_encoder()
n_set_hi()
set_hi()
n_release_wait()
release_wait()
n_get_wait_status()
get_wait_status()
n_set_ext_start_delay()
set_ext_start_delay()
n_home_position()
home_position()
n_set_rot_center()
set_rot_center()
n_read_ad_x()
read_ad_x()
n_read_pixel_ad()
read_pixel_ad()
n_get_z_distance()
get_z_distance()
n_get_time()
get_time()
n_set_defocus()
set_defocus()
n_set_softstart_mode()
set_softstart_mode()
n_set_softstart_level()
set_softstart_level()
n_control_command()
control_command()
load_cor()
load_pro()
n_get_serial_number()
get_serial_number()
n_get_serial_number_32()
get_serial_number_32()
get_hi_data()
n_auto_cal()
auto_cal()
n_get_list_space()
get_list_space()
teachin()
n_get_value()
get_value()
set_duty_cycle_table()
n_move_to()

132

background image

move_to()
getmemory()
n_get_waveform()
get_waveform()
n_measurement_status()
measurement_status()
n_load_varpolydelay()
load_varpolydelay()
n_write_da_2_list()
write_da_2_list()

18.3 USC1/2 Compatibility Functions (SCI interface)

Beside the easy programming interface described above a bunch of additional functions is provided that are 
compatible to the ones known from SCI programming interface used for USC1/2 scanner controller card. So to 
use E1803D scanner card with existing code that supports the USC1 or USC2 scanner controller, following 
steps have to be done:

insert a call to 

E180X_set_connection() 

into existing code as very first in order to specify the 

communication connection for E1803D card (this is the only exception where an E1803D Easy 
Interface Function should be used together with an USC1/2 Compatibility Function)

recompile the existing SCI-application so that it uses e1803inter.DLL instead of sc_optic.dll

In case E1803D card has to be operated with default connection settings, no recompilation is necessary, here 
e1803inter.dll just has to be renamed to sc_optic.dll.

Since most relevant SCI functions are already provided, majority of existing applications should work now 
without any further modifications. Due to the different concept of E1803D scanner controller, there are some 
differences to the original SCI programming interface which should be checked in case of troubles:

all USC1/2 functions/types that exist as stream- and non-stream-variants are treated like a stream 
command

output of already sent marking data is started on call to 

ScSCIFlush()

 latest

some functions are not implemented or always return a default value (please refer below of a list of not 
implemented SCI functions)

Following functions are specific to USC1/2 hardware or do not make sense in relation to E1803D scanner card 
and therefore aren't supported:

long ScSCISetContinuousMode()
long ScSCIGetContinuousMode()
long ScSCIDevicePixelLine()
long ScSCIRasterPixelLine()
long ScSCIRasterStart()
long ScSCIRasterEnd()
long ScSCIGetDeviceName()
long ScSCIGetDeviceCaps()
long ScSCIGetDeviceData()
long ScSCISetDeviceData()
long ScSCIGetExternalTrigger()
long ScSCISetExternalTriggerCount()
long ScSCIGetExternalTriggerCount()
long ScSCISetEnableHead()
long ScSCIGetEnableHead()
long ScSCISetZField()
long ScSCIGetZField()
long ScSCIGetZGain()
long ScSCISetZGain()
long ScSCIGetHomePosition()
long ScSCIGetZHomePosition()
long ScSCISetHomePosition()
long ScSCISetZHomePosition()
long ScSCIGetZOffset()
long ScSCISetZOffset()

133

background image

long ScSCISetZWorkingArea()
long ScSCIGetZWorkingArea()
long ScSCIGetHomeJump()
long ScSCISetHomeJump()
long ScSCIMaxExternalTriggerCount()
long ScSCIResetExternalTriggerCount()
long ScSCISetDeviceEnableFlags()
long ScSCIGetDeviceEnableFlags()
long ScSCIGetDevicePath()
long ScSCISetDeviceMiscValueD()
long ScSCIGetDeviceMiscValueD()
long ScSCISetHeadCount()
long ScSCIStreamInfo()
long ScSCIGetSpeed()
long ScSCISetSpeed()
long ScSCIGetStyleSet()
long ScSCISetStyleSet()
long ScSCISetLoopMode()
long ScSCIGetLoopMode()
long ScSCISetLoop()
long ScSCIGetLoop()
long ScSCISetMessageWindow()
long ScSCISetAxisState()
long ScSCIGetAxisState()
long ScSCISaveSettings()
long ScSCILoadSettings()
long ScSCIEditSettings()
long ScSCIUpdateDeviceStyle()
long ScSCIGetInterfaceVersion()
long ScSCIGetDebugMode()
long ScSCISetDebugMode()
long ScSCIGetIdentString()
long ScSCIGetDeviceMapLaserPort()
long ScSCISetDeviceMapLaserPort()
long ScSCIGetUSCInfoLong()

134

background image

APPENDIX A – Wiring between E1803D and specific laser 
types

This appendix describes the wiring between the controller card and specific laser models when an E1803dock 
(as described in “13 E1803dock Extension Board”) is not used or when it can’t be used because the laser comes 
with a non-standard, proprietary control interface.

Wiring between E1803D and IPG YLP Series Type B, B1 and B2, GZTech 

YFPN series fiber laser

PLEASE NOTE: this wiring scheme is a non-binding policy, it may be incorrect due to changes in connected 
hardware. So in every case please check this table against specification and wiring documentation of the used 
laser!

Signal Name

E1803D Connector

E1803D Connector / Pin

IPG Pin

LP0

Laser signal connector

Pin 1

Pin 1

LP1

Pin 3

Pin 2

LP2

Pin 5

Pin 3

LP3

Pin 7

Pin 4

LP4

Pin 9

Pin 5

LP5

Pin 11

Pin 6

LP6

Pin 13

Pin 7

LP7

Pin 15

Pin 8

MO / Main Oscillator

Pin 8

Pin 18

LP8 Latch

Pin 17

Pin 9

LaserA / Frequency

Pin 22

Pin 20

Laser Gate / Modulation

26 pin connector, pin 26

Pin 19

Alarm, one of DIn0…DIn7

Digital interface connector

Pin 4, 6, 8, 10, 12, 14, 16 or 18

Pin 16

Alarm, one of DIn0…DIn7

Pin 4, 6, 8, 10, 12, 14, 16 or 18

Pin 21

Pilot Laser, one of DOut0…DOut7

Pin 3, 5, 7, 9, 11, 13, 15 or 17

Pin 22 *)

*) may require additional power driver since some laser variants consume a current at this input which is higher 
than the maximum output allowed

In this wiring-scheme no GND-connections are listed, they have to be added in order to get valid and working 
connections.

135

background image

Wiring between E1803D and JPT YDFLP series fiber laser (“MOPA”) or IPG 

YLP Series Type D fiber laser or Raycus RFL PMX/PQB Series fiber laser

PLEASE NOTE: this wiring scheme is a non-binding policy, it may be incorrect due to changes in connected 
hardware. So in every case please check this table against specification and wiring documentation of the used 
laser!

Signal Name

E1803D Connector

E1803D Connector / Pin

JPT

D-SUB25

LP0

Laser signal connector

Pin 1

Pin 1

LP1 / serial data

Pin 3

Pin 2

LP2 / serial clock

Pin 5

Pin 3

LP3

Pin 7

Pin 4

LP4

Pin 9

Pin 5

LP5

Pin 11

Pin 6

LP6

Pin 13

Pin 7

LP7

Pin 15

Pin 8

MO / Main Oscillator

Pin 8

Pin 18

LP8 Latch

Pin 17

Pin 9

LaserA / Frequency

Pin 22

Pin 20

Laser Gate / Modulation

26 pin connector, pin 26

Pin 19

LaserB / serial enable

Pin 19

Pin 22 *)

GND

Pin 2 or 23

Pin 10-15

Alarm, one of DIn0…DIn7

Digital interface 
connector

Pin 4, 6, 8, 10, 12, 14, 16 or 18

Pin 16

Alarm, one of DIn0…DIn7

Pin 4, 6, 8, 10, 12, 14, 16 or 18

Pin 21

Pilot Laser: in software choose 
LaserB as output

*) for details regarding double-usage of this pin, please refer to the manual of the laser

136

background image

Wiring between E1803D and IPG YLP Series Type E fiber laser

PLEASE NOTE: this wiring scheme is a non-binding policy, it may be incorrect due to changes in connected 
hardware. So in every case please check this table against specification and wiring documentation of the used 
laser!

Variant using E1803D with support for APD index setting via DB-25 serial data interface

Signal Name

E1803D Connector

Connector / Pin

IPG Pin

LP0

Laser signal connector

Pin 1

Pin 1

LP1

Pin 3

Pin 2

LP2

Pin 5

Pin 3

LP3

Pin 7

Pin 4

LP4

Pin 9

Pin 5

LP5

Pin 11

Pin 6

LP6

Pin 13

Pin 7

LP7

Pin 15

Pin 8

MO / Main 
Oscillator

Pin 8

Pin 18

LP8 Latch

Pin 17

Pin 9

LaserA / Frequency

Pin 22

Pin 20

Laser Gate / 
Modulation

26 pin connector, pin 26

Pin 19

Alarm,
one of DIn0..DIn7

Digital interface connector

Pin 4, 6, 8, 10, 12, 14, 16 or 18

Pin 16

Alarm,
one of DIn0..DIn7

Pin 4, 6, 8, 10, 12, 14, 16 or 18

Pin 21

Pilot Laser,
one of DOut0, 
DOut1, 
DOut5..DOut7

Pin 3, 5, 13, 15 or 17

Pin 22 

1

)

Serial Enable

Pin 7

Pin 24 

2

)

Serial Clock

Pin 9

Pin 13 

2

)

Serial Data

Pin 11

Pin 10 

2

)

1

) may require additional power driver since some laser variants consume a current at this input which is higher 

than the maximum output allowed

2

) serial data transmission requires firmware version 2 or newer

In this wiring-scheme no GND-connections are listed, they have to be added in order to get valid and working 
connections.

137

background image

Wiring between E1803D and IPG YLP Series Type G fiber laser

PLEASE NOTE: this wiring scheme is a non-binding policy, it may be incorrect due to changes in connected 
hardware. So in every case please check this table against specification and wiring documentation of the used 
laser!

Signal Name

E1803D Connector

E1803D Connector / Pin

D-SUB25

LP0

Laser signal connector

Pin 1

Pin 1

LP1

Pin 3

Pin 2

LP2

Pin 5

Pin 3

LP3

Pin 7

Pin 4

LP4

Pin 9

Pin 5

LP5

Pin 11

Pin 6

LP6

Pin 13

Pin 7

LP7

Pin 15

Pin 8

MO / Main Oscillator

Pin 8

Pin 18

LP8 Latch

Pin 17

Pin 9

LaserA / Frequency

Pin 22

Pin 20

Laser Gate / Modulation

26 pin connector, pin 26

Pin 19

LaserB

Pin 19

Pin 22

GND

Pin 2 or 23

Pin 14

Alarm, one of DIn0…DIn7

Digital interface 
connector

Pin 4, 6, 8, 10, 12, 14, 16 or 18

Pin 11

Alarm, one of DIn0…DIn7

Pin 4, 6, 8, 10, 12, 14, 16 or 18

Pin 16

Alarm, one of DIn0…DIn7

Pin 4, 6, 8, 10, 12, 14, 16 or 18

Pin 21

Pilot Laser: in software choose 
LaserB as output

138

background image

Wiring between E1803D and IPG YLR Series laser

PLEASE NOTE: this wiring scheme is a non-binding policy, it may be incorrect due to changes in connected 
hardware. So in every case please check this table against specification and wiring documentation of the used 
laser!

Signal Name

Board

Connector / Pin

IPG Pin

AOut0 or AOut1

Laser signal connector

Pin 12 or pin 14

Pin 12

MO / Main 
Oscillator

Pin 8

Pin 18

Laser Gate / 
Modulation

Pin 26

Pin 15

Pilot Laser,
one of 
DOut0..DOut7

Digital interface connector

Pin 3, 5, 7, 9, 11, 13, 15 or 17

Pin 17

In this wiring-scheme no GND-connections are listed, they have to be added in order to get valid and working 
connections.

139

background image

Wiring between E1803D and IPG YLM Series laser

PLEASE NOTE: this wiring scheme is a non-binding policy, it may be incorrect due to changes in connected 
hardware. So in every case please check this table against specification and wiring documentation of the used 
laser!

Signal Name

Board

Connector / Pin

IPG Pin

AOut0 or AOut1

Laser signal connector

Pin 12 or pin 14

Pin 8 

1

)

MO / Main 
Oscillator

Pin 8

Pin 7

Laser Gate / 
Modulation

Pin 26

Pin 17

Pilot Laser,
one of 
DOut0..DOut7

Digital interface connector

Pin 3, 5, 7, 9, 11, 13, 15 or 17

Pin 21

Laser ready,
one of DIn0..DIn7

Pin 4, 6, 8,10, 12, 14, 16 or 18

Pin 19

RS232 serial 
interface

Serial interface connector

Pins 1, 2 and 3

RS232 
interface

1

) The E1803D analogue output provides signals in range 0..10 V while the IPG YLM laser input expects signals 

in range 0..4 V. To avoid hardware damage the signal level has to be limited by additional hardware measures, 
e.g. by a voltage divider

In this wiring-scheme no GND-connections are listed, they have to be added in order to get valid and working 
connections.

140

background image

Wiring between E1803D and MaxPhotonics MFP fiber laser

PLEASE NOTE: this wiring scheme is a non-binding policy, it may be incorrect due to changes in connected 
hardware. So in every case please check this table against specification and wiring documentation of the used 
laser!

Signal Name

E1803D Connector

E1803D Connector / Pin

MaxPhot

onics

D-SUB25

LP0

Laser signal connector

Pin 1

Pin 1

LP1

Pin 3

Pin 2

LP2

Pin 5

Pin 3

LP3

Pin 7

Pin 4

LP4

Pin 9

Pin 5

LP5

Pin 11

Pin 6

LP6

Pin 13

Pin 7

LP7

Pin 15

Pin 8

LP8 Latch

Pin 17

Pin 9

MO / Main Oscillator

Pin 8

Pin 18

LaserA / Frequency

Pin 22

Pin 20

Laser Gate / Modulation

26 pin connector, pin 26

Pin 19

GND

Pin 2 or 23

Pin 10-15

Alarm, one of DIn0…DIn7

Digital interface 
connector

Pin 4, 6, 8, 10, 12, 14, 16 or 
18

Pin 16

Alarm, one of DIn0…DIn7

Pin 4, 6, 8, 10, 12, 14, 16 or 
18

Pin 21

Pilot Laser, one of DOut0…DOut7

Pin 3, 5, 7, 9, 11, 13, 15 or 17

Pin 22

141

background image

Wiring between E1803D and SPI G4 Pulsed Fibre Laser / TRUMPF TruPulse 

nano series

PLEASE NOTE: this wiring scheme is a non-binding policy, it may be incorrect due to changes in connected 
hardware. So in every case please check this table against specification and wiring documentation of the used 
laser!

Signal Name

E1803D Connector

E1803D Connector / Pin

SPI Pin

LP0

Laser signal connector

Pin 1

Pin 17

LP1

Pin 3

Pin 18

LP2

Pin 5

Pin 19

LP3

Pin 7

Pin 20

LP4

Pin 9

Pin 51

LP5

Pin 11

Pin 52

LP6

Pin 13

Pin 53

LP7

Pin 15

Pin 54

MO / Laser Enable

Pin 8

Pin 7

LP8 Latch

Pin 17

Pin 23

LaserA / Pulse Trigger

Pin 22

Pin 13

AOut0 / Power

Pin 12

Pin 65

AOut1 / Simmer

Pin 14

Pin 64

LaserGate / Modulation

Pin 26

Pin 5

Alarm, one of DIn0…DIn7

Digital interface connector

Pin 4, 6, 8, 10, 12, 14, 16 or 18

Pin 9

Pilot Laser, one of DOut0…DOut7

Pin 3, 5, 7, 9, 11, 13, 15 or 17

Pin 6

In these wiring-schemes no GND-connections are listed, they have to be added in order to get valid and 
working connections.

142

background image

Wiring between E1803D and Raycus fiber laser

PLEASE NOTE: this wiring scheme is a non-binding policy, it may be incorrect due to changes in connected 
hardware. So in every case please check this table against specification and wiring documentation of the used 
laser!

Signal Name

E1803D Connector

E1803D Pin

Raycus Pin

LP0

Laser signal connector

Pin 1

Pin 1

LP1

Pin 3

Pin 2

LP2

Pin 5

Pin 3

LP3

Pin 7

Pin 4

LP4

Pin 9

Pin 5

LP5

Pin 11

Pin 6

LP6

Pin 13

Pin 7

LP7

Pin 15

Pin 8

MO / Main Oscillator

Pin 8

Pin 18

LaserA / Frequency

Pin 22

Pin 20

Laser Gate / Modulation

Pin 26

Pin 19

Alarm, one of DIn0…DIn7

Digital interface connector

Pin 4, 6, 8, 10, 12, 14, 16 or 18

Pin 16

Alarm, one of DIn0…DIn7

Pin 4, 6, 8, 10, 12, 14, 16 or 18

Pin 21

In this wiring-scheme no GND-connections are listed, they have to be added in order to get valid and working 
connections.

143

background image

Wiring between E1803D and Raycus C500 Series laser

PLEASE NOTE: this wiring scheme is a non-binding policy, it may be incorrect due to changes in connected 
hardware. So in every case please check this table against specification and wiring documentation of the used 
laser!

Signal Name

E1803D Connector

E1803D Pin

Raycus Pin

AOut0 or AOut1

Laser signal connector

12 or 14

22

GND

2 or 23

25

LaserA

22

BNC

144

background image

Wiring between E1803 and DAVI D-Series RF CO

2

 Laser

PLEASE NOTE: this wiring scheme is a non-binding policy, it may be incorrect due to changes in connected 
hardware. So in every case please check this table against specification and wiring documentation of the used 
laser!

Signal Name

E1803D Connector

E1803D Pin

DAVI RJ45 Pin

DAVI RJ45 

Wire Colour

LaserA / Frequency

Laser signal connector

22

1

orange/white

GND

2 or 23

8

brown

Laser Ready input, one of 
DIn0…DIn7

Digital interface 
connector

Pin 4, 6, 8, 10, 
12, 14, 16 or 18

3

green/white

GND

2

6

green

145

background image

Wiring between E1803 and Raycus RFL-C Series 24V Control CW Laser

PLEASE NOTE: this wiring description is a non-binding policy, it may be incorrect due to changes in connected 
hardware. So in every case please check this table against specification and wiring documentation of the used 
laser!

Laser models that require control signals with higher voltage levels than 5V (typically 16..24V) can’t be 
connected directly and require additional hard- and software configuration steps. Following hardware 
configuration is required to operate such a laser model with the E1803D:

configure the digital interface to operate in opto-insulated mode (opto-mode 0) and with external 
power supply (as described in section “6.8.2 Opto-Configuration Jumpers”)

connect one of the DOut-pins of the digital interface with the “MOD+” input (pin 15) of the laser

add the “

lasergate

” parameter to the e1803.cfg to specify this specific DOut to be used as LaserGate 

(as described in section “6.5 microSD-Card”)

connect an other of the DOut-pins of the digital interface with the “Red Laser” input (pin 18) of the 
laser

connect AOut0 or AOut1 of the Laser Interface with the “Analog” input (pin 12) of the laser

Based on this, following software configuration is required:

configure the DOut line that is used for the pilot laser (aka “Red Laser”) to be used for preview (e.g. in 
BeamConstruct at menu “Project”   “Project settings”   tab-pane “Scanner”   section “Pilot laser”)

configure the used analogue output to be used for power control (e.g. in BeamConstruct when E1803D 
is configured to be used as scanner card at menu “Project”   “Project settings”   tab-pane “Scanner” 

 

button “Configure”   parameter “Additional power output”)

the laser-mode does not matter for this configuration as for all types of lasers that may be set for the 
E1803D the LaserGate signal is switched

In this wiring-description no GND-connections are listed separately, they have to be added in order to get valid 
and working connections.

146

background image

Wiring between E1803D and GZTECH S355 series DPSS Laser

PLEASE NOTE: this wiring scheme is a non-binding policy, it may be incorrect due to changes in connected 
hardware. So in every case please check this table against specification and wiring documentation of the used 
laser!

Signal Name

E1803D Connector

E1803D Pin

GZTECH DB9 

connector Pin

GZTECH Signal Name

LaserA / Frequency

Laser signal 
connector

22

3

PWM

GND

2 or 3

5

GND

LaserGate

26

2

Gate

Within BeamConstruct following settings have to be done in order to control the laser:

menu “Project”   “Project settings”   tab-pane “Scanner”   button “Configure”   parameter “Laser 

type” has to be set to value “YAG1”

menu “Project”   “Pen settings”   tab-pane “General”: the “Frequency” slider has to be set to an 

appropriate value (typically 30..50 kHz, please refer to the manual of the laser for further details), the 
“Power” slider has no effect as no additional power output was configured in scanner controller 
settings

menu “Project”   “Pen settings”   tab-pane “Laser”: the parameter “Pulse length” has to be set to an 

appropriate value (such as 1 usec, please refer to the manual of the laser for further details)

To use this laser model with BeamConstruct, HALsetup software package version 8.2-07 or newer is required.

147

background image

APPENDIX B – XY2-100 / XY2-200 protocol description

Depending on the actual configuration, the data submitted at 26 pin or D-SUB25 connector of E1803D are 
conform to XY2-100 specification:

CLK+

SYNC+

X+, Y+, Z+ Data

In standard 16 bit operating mode first three bits are set to 001, then 16 bit position data followed by a parity 
bit (even parity) are transmitted:

19

18

17

16

15

14

13

12

11

10

9

8

7

6

5

4

3

2

1

0

0

0

1

D15..D0 position data

Pe

In enhanced XY2-100E 18 bit operating mode first bit is set to 1, then 18 bit position data followed by a parity 
bit (odd parity) are transmitted:

19

18

17

16

15

14

13

12

11

10

9

8

7

6

5

4

3

2

1

0

1

D17..D0 position data

Po

To use this mode, the related tune-value has to be set in configuration file (please refer to section “6.5 microSD-
Card
”)

In XY2-100 and XY2-100E mode one frame with 20 bits has a length of 10 usec which is similar to 100 kHz 
output clock.
For the XY2-200 and XY2-200E modes a frame with 20 bits has a length of 5 usec which is similar to 200 kHz 
output frequency.

148

background image

APPENDIX C – XY3-100 protocol description

Depending on the actual configuration, the data submitted at 26 pin or D-SUB25 connector of E1803D are 
conform to XY3-100 specification. For details about the XY3-100 protocol, please refer to information given 
online at 

https://halaser.systems/compare.php#XY3

149

background image

APPENDIX D – SL2-100 protocol description

For information about the SL2-100 scanner protocol, please refer to information given online at 

https://halaser.systems/compare.php#XY3

150

background image

APPENDIX E – RL3-100 protocol description

For information about the RL3-100 scanner protocol, please refer to information given online at 

https://halaser.systems/compare.php#XY3

151

background image

APPENDIX F – IDC connector pin numbering

Pin numbering of the IDC connectors (according to pinout-tables shown in hardware description sections 
above) can be seen in below image:

The first pin is marked by a small arrow in connector. Second pin is below of it, counting continues column-wise.

152

background image

APPENDIX G – Mechanical Dimensions

Mechanical dimensions, positions of connectors and holes of E1803D, all values are given in unit mm:

153

background image

Mechanical dimensions and positions of connectors of E1803dock, all values are given in unit mm:

Mechanical dimensions, positions of mounting points and holes of E1803base, all values are given in unit mm:

154

background image

Index

1

1:1............................................................................................................................................................................................................................1
16-bit IO port...................................................................................................................................................................................................27
180X_mark_abs_list....................................................................................................................................................................................107

2

24V....................................................................................................................................................................................................................146
2D marking on-the-fly.................................................................................................................................................................................35

8

8.3.........................................................................................................................................................................................................................38
80X_execute.....................................................................................................................................................................................................95

A

A/E................................................................................................................................................................................................................17, 21
ADC.....................................................................................................................................................................................................................19
adcfreq...............................................................................................................................................................................................................19
Alive.............................................................................................................................................................................................................17, 68
AOut0........................................................................................................................................................................................16, 32, 70, 146
AOut1........................................................................................................................................................................................16, 32, 70, 146
auto......................................................................................................................................................................................................................39
autofile................................................................................................................................................................................................................21

B

barcode..............................................................................................................................................................................................................39
barcodes..........................................................................................................................................................................................................75f.
BeamConstruct................................................................................................................................................................................11, 38, 68
bitmap..............................................................................................................................................................................................................109
bitmap lines....................................................................................................................................................................................................109
BNC...................................................................................................................................................................................................................62f.
boot......................................................................................................................................................................................................................27
busid.....................................................................................................................................................................................................23, 69, 79

C

C45 rail...............................................................................................................................................................................................................67
C45 rail adapter..............................................................................................................................................................................................67
C45 rail lock......................................................................................................................................................................................................67
cdepr....................................................................................................................................................................................................................74
cdser....................................................................................................................................................................................................................76
cdtl0.............................................................................................................................................................................................................45, 77
cdtl1.............................................................................................................................................................................................................45, 77
cecho............................................................................................................................................................................................................23, 69
cfror.....................................................................................................................................................................................................................70
cftim.....................................................................................................................................................................................................................77
cgana...................................................................................................................................................................................................................71
cgbsr....................................................................................................................................................................................................................70
cgbuf....................................................................................................................................................................................................................75
cgcor....................................................................................................................................................................................................................73
cgepr....................................................................................................................................................................................................................74
cginp....................................................................................................................................................................................................................69
cglog.....................................................................................................................................................................................................................78
cgmtx...................................................................................................................................................................................................................70
cgser....................................................................................................................................................................................................................76
cgsta.....................................................................................................................................................................................................................77
cgtim....................................................................................................................................................................................................................76
cgtin.....................................................................................................................................................................................................................73
cgtxt.....................................................................................................................................................................................................................75
chalt.....................................................................................................................................................................................................................71
ciser......................................................................................................................................................................................................................76

155

background image

cjsor..............................................................................................................................................................................................................20, 70
clepr...................................................................................................................................................................................................41, 73, 125
CLK..........................................................................................................................................................................................................29f., 46f.
cmsor...........................................................................................................................................................................................................20, 70
CNC.....................................................................................................................................................................................................................73
CO2....................................................................................................................................................................................................31, 62, 104
commands.........................................................................................................................................................................................................69
configuration.....................................................................................................................................................................................18, 39, 43
continuous wave.............................................................................................................................................................................................61
continuously running frequency...........................................................................................................................................................105
control commands.........................................................................................................................................................................................69
correction table..............................................................................................................................................................................................19
corrtable.....................................................................................................................................................................................................19, 73
corrtable0.........................................................................................................................................................................................................19
cpuor...................................................................................................................................................................................................................70
cpwor...........................................................................................................................................................................................................20, 70
crrrr......................................................................................................................................................................................................................78
crser.....................................................................................................................................................................................................................76
crtim....................................................................................................................................................................................................................76
csbuf....................................................................................................................................................................................................................75
cscnc.............................................................................................................................................................................................................72, 87
cscor.............................................................................................................................................................................................................19, 73
cslgt......................................................................................................................................................................................................................78
cslmo...................................................................................................................................................................................................................78
cslp8.....................................................................................................................................................................................................................78
csmtx..............................................................................................................................................................................................................7, 71
csout....................................................................................................................................................................................................................78
cspof....................................................................................................................................................................................................................71
csser.....................................................................................................................................................................................................................75
cssta.....................................................................................................................................................................................................................77
cstat..............................................................................................................................................................................................................72, 92
cstdy....................................................................................................................................................................................................................77
csthr.....................................................................................................................................................................................................................77
cstim....................................................................................................................................................................................................................76
cstmi....................................................................................................................................................................................................................77
cstmo...................................................................................................................................................................................................................77
cstop....................................................................................................................................................................................................................71
cstrt......................................................................................................................................................................................................................72
cstsc.....................................................................................................................................................................................................................77
cstxt..............................................................................................................................................................................................................39, 75
cstyr.....................................................................................................................................................................................................................77
cswaf............................................................................................................................................................................................................28, 71
ctlxy.....................................................................................................................................................................................................................74
ctrig......................................................................................................................................................................................................................72
current................................................................................................................................................................................................................49
cvers....................................................................................................................................................................................................................69
CW.....................................................................................................................................................................................................................60f.
cxcnc..............................................................................................................................................................................................28, 72, 87, 91

D

DataMatrix...................................................................................................................................................................................39, 75f., 128
DAVI....................................................................................................................................................................................................................65
DAVI D-Series RF CO2.............................................................................................................................................................................145
digidebc..............................................................................................................................................................................................................22
digiinit.................................................................................................................................................................................................................21
digimask.............................................................................................................................................................................................................22
Digital interface......................................................................................................................................................................................12, 33
DIn........................................................................................................................................................................................................................33
DIN rail...............................................................................................................................................................................................................67
DIN/C45 rail adapter....................................................................................................................................................................................67

156

background image

DIN/C45 rail lock...........................................................................................................................................................................................67
Dot.......................................................................................................................................................................................................................44
dot marker.................................................................................................................................................................................................18, 43
dot marking......................................................................................................................................................................................................28
Dot Mode..............................................................................................................................................................................................44f., 77f.
dot peen.............................................................................................................................................................................................................43
dotdist.................................................................................................................................................................................................................43
dotfont0.............................................................................................................................................................................................................43
dotfont1.....................................................................................................................................................................................................43, 45
dotfont1y...........................................................................................................................................................................................................43
dotmark......................................................................................................................................................................................................39, 43
dottime...............................................................................................................................................................................................................44
DOut.................................................................................................................................................................................................................33f.
DOut0.................................................................................................................................................................................................................33
DOut7.................................................................................................................................................................................................................33
Download new firmware............................................................................................................................................................................85
DYN_DATA_MAX_STRING_LENGTH..............................................................................................................................................127f.

E

E1803base.....................................................................................................................................................................................................154
E1803dock.....................................................................................................................................................................................................154
E180X_ana_read..........................................................................................................................................................................................100
E180X_ana_read().......................................................................................................................................................................................119
E180X_ana_write........................................................................................................................................................................................113
E180X_close.....................................................................................................................................................................................................94
E180X_close()........................................................................................................................................................................................94, 125
E180X_COMMAND_FLAG_ANA_AOUT0.......................................................................................................................................116
E180X_COMMAND_FLAG_ANA_AOUT1.......................................................................................................................................116
E180X_COMMAND_FLAG_ASYNC...................................................................................................................................................118
E180X_COMMAND_FLAG_DIRECT.........................................................................................................105, 113, 115, 118, 120
E180X_COMMAND_FLAG_DONOTWAIT.....................................................................................................................................123
E180X_COMMAND_FLAG_FREQ_LASERA...................................................................................................................................117
E180X_COMMAND_FLAG_HEAD_STATE_RAW..........................................................................................................................111
E180X_COMMAND_FLAG_PASSIVE......................................................................................................................................114, 119
E180X_COMMAND_FLAG_SCANNER_VAR_POLYDELAY......................................................................................................103
E180X_COMMAND_FLAG_STREAM...................................................................................................105, 113ff., 118, 120, 123
E180X_COMMAND_FLAG_SYNC.........................................................................................................................................................96
E180X_COMMAND_FLAG_UART1....................................................................................................................................................118
E180X_COMMAND_FLAG_XYCORR_FLIPXY..............................................................................................................................101
E180X_COMMAND_FLAG_XYCORR_MIRRORX........................................................................................................................101
E180X_COMMAND_FLAG_XYCORR_MIRRORY........................................................................................................................101
E180X_COMMAND_FLAG_ZCORR_MIRRORZ...........................................................................................................................102
E180X_CSTATE_FILE_WRITE_ERROR.................................................................................................................................................98
E180X_CSTATE_HALTED...........................................................................................................................................................................98
E180X_CSTATE_MARKING..........................................................................................................................................................93f., 97f.
E180X_CSTATE_MARKING|E180X_CSTATE_PROCESSING.....................................................................................................97
E180X_CSTATE_PROCESSING...................................................................................................................................................93f., 97f.
E180X_CSTATE_SAC_CTLXY............................................................................................................................................................74, 98
E180X_CSTATE_SAC_MARKING....................................................................................................................................................74, 98
E180X_CSTATE_SAC_READY...........................................................................................................................................................74, 98
E180X_CSTATE_WAIT_EXTTRIGGER..................................................................................................................................................98
E180X_CSTATE_WAIT_INPUT.................................................................................................................................................................98
E180X_CSTATE_WAS_START_PRESSED.............................................................................................................................................98
E180X_CSTATE_WAS_STOP_PRESSED...............................................................................................................................................98
E180X_CSTATE_WRITING_DATA..........................................................................................................................................................85
E180X_CSTATE_WRITING_DATA_ERROR.........................................................................................................................................85
E180X_delay....................................................................................................................................................................................................98
E180X_digi_pulse().....................................................................................................................................................................................114
E180X_digi_read..........................................................................................................................................................................................114
E180X_digi_read().......................................................................................................................................................................................114

157

background image

E180X_digi_set_mip_output...................................................................................................................................................................117
E180X_digi_set_mip_output()...................................................................................................................................................................21
E180X_digi_set_motf_powerctl()..........................................................................................................................................................116
E180X_digi_set_motf_sim().....................................................................................................................................................................115
E180X_digi_set_motf(................................................................................................................................................................................115
E180X_digi_set_motf()............................................................................................................................................................................115f.
E180X_digi_set_wet_output...................................................................................................................................................................117
E180X_digi_set_wet_output()...................................................................................................................................................................21
E180X_digi_wait..........................................................................................................................................................................................115
E180X_digi_wait_motf..............................................................................................................................................................................116
E180X_digi_wait_motf()............................................................................................................................................................................116
E180X_digi_wait().......................................................................................................................................................................................115
E180X_digi_write........................................................................................................................................................................................114
E180X_dynamic_data()...........................................................................................................................................................................125f.
E180X_ERROR_FILENAME....................................................................................................................................................................129
E180X_ERROR_FILEOPEN.....................................................................................................................................................................129
E180X_ERROR_FILEWRITE...................................................................................................................................................................129
E180X_ERROR_INVALID_CARD.........................................................................................................................................................129
E180X_ERROR_INVALID_DATA..........................................................................................................................................................129
E180X_ERROR_NO_CONNECTION..................................................................................................................................................129
E180X_ERROR_NO_MEMORY.............................................................................................................................................................129
E180X_ERROR_TRANSMISSION........................................................................................................................................................129
E180X_ERROR_UNKNOWN_BOARD..............................................................................................................................................129
E180X_ERROR_UNKNOWN_FW........................................................................................................................................................129
E180X_execute...............................................................................................................................................................................................93
E180X_execute()...........................................................................................................................................................................20, 93, 95f.
E180X_FILEMODE_LOCAL..................................................................................................................................................................125f.
E180X_FILEMODE_SEND....................................................................................................................................................................125f.
E180X_get_card_state.................................................................................................................................................................................97
E180X_get_card_state()..........................................................................................................................................................................93ff.
E180X_get_free_space.................................................................................................................................................................................98
E180X_get_head_state.............................................................................................................................................................................110
E180X_get_library_version........................................................................................................................................................................99
E180X_get_library_version().....................................................................................................................................................................99
E180X_get_pos()..........................................................................................................................................................................................107
E180X_get_serial_number().......................................................................................................................................................................99
E180X_get_startstop_state.......................................................................................................................................................................97
E180X_get_sync()...........................................................................................................................................................................................95
E180X_get_version........................................................................................................................................................................................99
E180X_get_version().....................................................................................................................................................................................99
E180X_halt_execution.................................................................................................................................................................................96
E180X_halt_execution()..............................................................................................................................................................................98
E180X_jump_abs.........................................................................................................................................................................................106
E180X_jump_abs_list.................................................................................................................................................................................106
E180X_jump_abs_list()..............................................................................................................................................................................106
E180X_jump_abs()...............................................................................................................................................................................93, 116
E180X_LASERMODE_CO2....................................................................................................................................................................104
E180X_LASERMODE_CRF.....................................................................................................................................................................105
E180X_LASERMODE_DFREQ..............................................................................................................................................................105
E180X_LASERMODE_MOPA.........................................................................................................................................................90, 105
E180X_LASERMODE_YAG........................................................................................................................................................................90
E180X_LASERMODE_YAG1..................................................................................................................................................................104
E180X_LASERMODE_YAG2..................................................................................................................................................................104
E180X_LASERMODE_YAG3..................................................................................................................................................................105

E180X_load_correction............................................................................................................................................................................100
E180X_load_correction()..................................................................................................................................................................93, 125
E180X_lp8_write.........................................................................................................................................................................................112
E180X_lp8_write_latch.............................................................................................................................................................................112
E180X_lp8_write_latch()..........................................................................................................................................................................112
E180X_lp8_write_mo.................................................................................................................................................................................113

158

background image

E180X_lp8_write_mo()..............................................................................................................................................................................113
E180X_lp8_write_pilot..............................................................................................................................................................................113
E180X_lp8_write()......................................................................................................................................................................................112
E180X_mark_abs.......................................................................................................................................................................................106f.
E180X_mark_abs_list()..............................................................................................................................................................................107
E180X_mark_abs()...............................................................................................................................................................................93, 116
E180X_mark_pixelline...............................................................................................................................................................................109
E180X_motion_digi_read()......................................................................................................................................................................119
E180X_motion_digi_write().....................................................................................................................................................................119
E180X_motion_get_pos().........................................................................................................................................................................123
E180X_motion_move_abs_async().......................................................................................................................................................122
E180X_motion_move_abs()...........................................................................................................................................................121, 123
E180X_motion_move_rel()....................................................................................................................................................................122f.
E180X_motion_reference().....................................................................................................................................................................123
E180X_MOTION_REFSTEP_INV_SWITCH.....................................................................................................................................124
E180X_MOTION_REFSTEP_N..............................................................................................................................................................124
E180X_MOTION_REFSTEP_P...............................................................................................................................................................124
E180X_motion_set_accel()......................................................................................................................................................................121
E180X_motion_set_limits()......................................................................................................................................................................120
E180X_motion_set_pos()..........................................................................................................................................................................124
E180X_motion_set_pulsewidth()..........................................................................................................................................................120
E180X_motion_set_speed().....................................................................................................................................................................121
E180X_motion_stop()................................................................................................................................................................................123
E180X_motion_stream_wait()............................................................................................................................................................121ff.
E180X_PIXELMODE_GATE_POWER_CONTROL........................................................................................................................108
E180X_PIXELMODE_HW_POWER_CONTROL...........................................................................................................................108
E180X_PIXELMODE_JUMP_LEAVE_POWER...............................................................................................................................108
E180X_PIXELMODE_JUMP_N_SHOOT...........................................................................................................................................108
E180X_PIXELMODE_NO_JUMPS.......................................................................................................................................................108
E180X_release_trigger_point..........................................................................................................................................................93, 96f.
E180X_release_trigger_point()..............................................................................................................................................................116
E180X_SCANNERMODE_SL.................................................................................................................................................................104
E180X_SCANNERMODE_XY2_100...................................................................................................................................................103
E180X_SCANNERMODE_XY2_100E................................................................................................................................................104
E180X_SCANNERMODE_XY2_200...................................................................................................................................................103
E180X_SCANNERMODE_XY2_200E................................................................................................................................................104
E180X_set_connection................................................................................................................................................................................94
E180X_set_connection().................................................................................................................................................................93, 125f.
E180X_set_debug_logfile............................................................................................................................................................................95
E180X_set_filepath()..................................................................................................................................................................................125
E180X_set_fpk....................................................................................................................................................................................104, 111
E180X_set_laser..........................................................................................................................................................................................105
E180X_set_laser_delays...........................................................................................................................................................................102
E180X_set_laser_mode.............................................................................................................................................................................104
E180X_set_laser_mode()..........................................................................................................................................................................104
E180X_set_laser_timing...........................................................................................................................................................................111
E180X_set_laserb.............................................................................................................................................................................105, 111
E180X_set_matrix.......................................................................................................................................................................................109
E180X_set_matrix()....................................................................................................................................................................................101
E180X_set_password...................................................................................................................................................................................94
E180X_set_pixelmode...............................................................................................................................................................................108
E180X_set_pos.............................................................................................................................................................................................108
E180X_set_pos()..........................................................................................................................................................................................108
E180X_set_scanner_delays.....................................................................................................................................................................103

E180X_set_scanner_delays()..................................................................................................................................................................103
E180X_set_scanner_mode()....................................................................................................................................................................103
E180X_set_speeds......................................................................................................................................................................................102
E180X_set_standby..........................................................................................................................................................................105, 111
E180X_set_standby().................................................................................................................................................................................111
E180X_set_sync()...........................................................................................................................................................................................95

159

background image

E180X_set_trigger_point.....................................................................................................................................................................93, 96
E180X_set_trigger_point()...............................................................................................................................................................95, 116
E180X_set_wobble.....................................................................................................................................................................................106
E180X_set_xy_correction........................................................................................................................................................................101
E180X_set_xy_correction()...........................................................................................................................................................101, 110
E180X_set_z_correction...........................................................................................................................................................................101
E180X_set_z_correction()........................................................................................................................................................................101
E180X_stop_execution................................................................................................................................................................................96
E180X_stop_execution().........................................................................................................................................................................7, 96
E180X_switch_correction........................................................................................................................................................................101
E180X_switch_correction().....................................................................................................................................................................101
E180X_uart_read.........................................................................................................................................................................................118
E180X_uart_write.......................................................................................................................................................................................118
E180X_write..................................................................................................................................................................................................124
E180X_write()...............................................................................................................................................................................................124
electrostatic sensitive device......................................................................................................................................................................9
encoder..............................................................................................................................................................................................................35
EPR.............................................................................................................................................................................................................38, 73f.
Error.............................................................................................................................................................................................................17, 68
errout..................................................................................................................................................................................................................21
ESD.........................................................................................................................................................................................................................9
eth.........................................................................................................................................................................................................................27
Ethernet...........................................................................................................................................................................11ff., 19, 27, 69, 94
extension connector.....................................................................................................................................................................................37
ExtStart..............................................................................................................................................................32, 44f., 72ff., 77f., 96, 117
ExtStop...............................................................................................................................................................................32, 44, 73, 77f., 96

F

fiber......................................................................................................................................................................................................................31
fiber laser..............................................................................................................................................................................................32, 135f.
fiber-laser.......................................................................................................................................................................................................105
file extension....................................................................................................................................................................................................38
filename..............................................................................................................................................................................................................38
firmware..............................................................................................................................................................................................18, 28, 99
font.......................................................................................................................................................................................................................38
fonts.............................................................................................................................................................................................................18, 43
FPK............................................................................................................................................................................................................63, 104

G

G-Code.............................................................................................................................................................................................................72f.
G0..................................................................................................................................................................................................................88, 90
G1..................................................................................................................................................................................................................88, 90
G2.........................................................................................................................................................................................................................88
G3.........................................................................................................................................................................................................................88
G4.........................................................................................................................................................................................................................88
G70......................................................................................................................................................................................................................90
G71......................................................................................................................................................................................................................90
galvos...........................................................................................................................................................................................................29, 47
gateway......................................................................................................................................................................................................26, 76
GNDext.......................................................................................................................................................................................................33, 36
GRBL...................................................................................................................................................................................................................91
gw0.......................................................................................................................................................................................................................26
GZTECH S355 series DPSS....................................................................................................................................................................147
GZTech YFPN........................................................................................................................................................................................53, 135

H

HALdrive...........................................................................................................................................................................56, 58, 61, 64, 66f.
HALnode Compact Ethernet IO..............................................................................................................................................................27
haltedloop..........................................................................................................................................................................................20, 40, 42
haltedlooptimeout.................................................................................................................................................................................20, 40
homing......................................................................................................................................................................................................49, 123

160

background image

I

idxselect............................................................................................................................................................................................21, 41, 74f.
in-polygon delay..........................................................................................................................................................................................103
Intelli-IO Extension Board...............................................................................................................................................................48, 119
iobuff....................................................................................................................................................................................................21, 41, 75
iohaltedloop..................................................................................................................................................................................20, 40ff., 74
iolatch..........................................................................................................................................................................................................20, 41
ioselect....................................................................................................................................................................................21, 38, 40f., 74f.
iothres.................................................................................................................................................................................................................20
IP..........................................................................................................................................................................................................12f., 19, 94

ip0.........................................................................................................................................................................................................................19
IPG......................................................................................................................................................................................................31, 53, 135
IPG YLM...........................................................................................................................................................................................53, 56, 140
IPG YLP................................................................................................................................................................................................53, 136ff.
IPG YLR...........................................................................................................................................................................................................139

J

JPT........................................................................................................................................................................................................................53
JPT YDFLP..............................................................................................................................................................................................53, 136
jump..................................................................................................................................................................................................................106
jump delay............................................................................................................................................................................................103, 106
jump speed.....................................................................................................................................................................................................106
jumpspeed......................................................................................................................................................................................................102

L

laser off delay......................................................................................................................................................................................103, 106
laser on delay......................................................................................................................................................................................103, 107
Laser signals..............................................................................................................................................................................................12, 31
LaserA.......................................................................................................................................................................................................32, 104
LaserB.......................................................................................................................................................................................................32, 104
lasergate.................................................................................................................................................................18, 22, 32, 71, 124, 146
lasers...................................................................................................................................................................................................................31
Latch..........................................................................................................................................................................................................32, 124
LED.......................................................................................................................................................................................................................17
libslrtc4.so......................................................................................................................................................................................................130
Linux....................................................................................................................................................................................................................14
loop......................................................................................................................................................................................................................39
LP8................................................................................................................................................................................................................25, 32

M

M2.................................................................................................................................................................................................................72, 89
M3........................................................................................................................................................................................................................89
M5........................................................................................................................................................................................................................89
M704...................................................................................................................................................................................................................88
M705...................................................................................................................................................................................................................90
M707...................................................................................................................................................................................................................90
M709................................................................................................................................................................................................................89f.
M715...................................................................................................................................................................................................................90
M718...................................................................................................................................................................................................................90
machine network...........................................................................................................................................................................................12
Main Oscillator................................................................................................................................................................................18, 25, 32
mark..................................................................................................................................................................................................................107
mark delay............................................................................................................................................................................................103, 107
mark speed.....................................................................................................................................................................................................107
Marking Active................................................................................................................................................................................................18
marking data....................................................................................................................................................................................................79
marking in progress....................................................................................................................................................................................117
Marking On-The-Fly...................................................................................................................................................................................34f.
markspeed......................................................................................................................................................................................................102
matrix laser...............................................................................................................................................................................................28, 43
matrix marking................................................................................................................................................................................................43

161

background image

matrix printing................................................................................................................................................................................................43
MaxPhotonics.......................................................................................................................................................................................53, 141
MaxPhotonics MFP............................................................................................................................................................................53, 141
MFP.....................................................................................................................................................................................................................53
microSD.......................................................................................................................................................................................12, 18, 38, 68
microUSB..........................................................................................................................................................................................................15
mipout.................................................................................................................................................................................................................21
MO......................................................................................................................................................................................................25, 32, 124
MOPA.......................................................................................................................................................................................................53, 136
motion.................................................................................................................................................................................................................49
motout................................................................................................................................................................................................................21
Multi-IO Extension Board..........................................................................................................................................................................48

N

NCC.....................................................................................................................................................................................................................65
netmask......................................................................................................................................................................................................27, 76
nm0......................................................................................................................................................................................................................27
node0..................................................................................................................................................................................................................27
node1..................................................................................................................................................................................................................27
NX-02..........................................................................................................................................................................................................50, 52
NX-02 Extension Board...............................................................................................................................................................................50

O

open collector..................................................................................................................................................................................................34
opto-insulated.................................................................................................................................................................................................33

opto-mode 0..................................................................................................................................................................................................146

P

passwd................................................................................................................................................................................................................19
pethd...................................................................................................................................................................................................................27
pixel line..........................................................................................................................................................................................................108
polydelay.........................................................................................................................................................................................................103
position encoder.............................................................................................................................................................................................34
power driver.....................................................................................................................................................................................................49
power supply.................................................................................................................................................................................12, 15, 29ff.
PRO license...............................................................................................................................................................................................11, 15
programming interface................................................................................................................................................................................93
PWM.........................................................................................................................................................................................................63, 104

Q

Q-Switch.........................................................................................................................................................................................................104
QR...............................................................................................................................................................................................................39, 75f.
Quick Start........................................................................................................................................................................................................68

R

Raycus.......................................................................................................................................................................................................53, 143
Raycus RFL-C Series 24V Control CW...............................................................................................................................................146
Raycus RFL-PMX............................................................................................................................................................................................53
Raycus RFL-PQB.............................................................................................................................................................................................53
Raycus RFL-QCW...................................................................................................................................................................................53, 56
reboot.................................................................................................................................................................................................................78
reference...........................................................................................................................................................................................................49
referencing.....................................................................................................................................................................................................123
RFL-PMX............................................................................................................................................................................................................53
RFL-PQB............................................................................................................................................................................................................53

RJ45.....................................................................................................................................................................................................................12
RL3-100..........................................................................................................................................................................................................151
rotation............................................................................................................................................................................................................110
RS232.......................................................................................................................................................................................22f., 37, 46f., 57
RS485..............................................................................................................................................................................................22f., 37, 46f.
RTC4...............................................................................................................................................................................................................129f.
RTC4DLL.dll..................................................................................................................................................................................................130

162

background image

RX0.......................................................................................................................................................................................................................37
RX0-.....................................................................................................................................................................................................................37
RX0+....................................................................................................................................................................................................................37
RX1.......................................................................................................................................................................................................................46
RX1-.....................................................................................................................................................................................................................46
RX1+....................................................................................................................................................................................................................46

S

sc_optic.dll......................................................................................................................................................................................................133
scaling..............................................................................................................................................................................................................110

scanhead...............................................................................................................................................................................16, 29ff., 47, 110
scanner movement.....................................................................................................................................................................................102
Scanner signals........................................................................................................................................................................................12, 29
scanner speed...............................................................................................................................................................................................102
SCI.....................................................................................................................................................................................................................133
SDP Extension Board...................................................................................................................................................................................52
Serial interface.......................................................................................................................................................................12, 22f., 37, 94
serial number.................................................................................................................................................................................................75f.
SL Extension Board....................................................................................................................................................................................104
SL2-100...........................................................................................................................................................................................................150
SNTP....................................................................................................................................................................................................................76
SNTP time server...........................................................................................................................................................................................26
sntp0....................................................................................................................................................................................................................26
sntp0offset.......................................................................................................................................................................................................26
SPI...............................................................................................................................................................................................31, 59, 65, 142
SPI G4.................................................................................................................................................................................................................59
stand-alone........................................................................................................................................................................................38, 43, 71
standalone..........................................................................................................................................................................................20, 39, 43
STATUS..................................................................................................................................................................................................29f., 110
step/direction..................................................................................................................................................................................................49
stepper...............................................................................................................................................................................................................49
stepper motor..................................................................................................................................................................................................49
SYNC.......................................................................................................................................................................................................29f., 46f.

T

T1..................................................................................................................................................................................................................89, 91
Telnet...................................................................................................................................................................................................................69
time......................................................................................................................................................................................................................76
truePulse nano................................................................................................................................................................................................65
TRUMPF.....................................................................................................................................................................................................59, 65
TruPulse nano..................................................................................................................................................................................................59
tune..............................................................................................................................................................................................................23, 45
tunemarkout.............................................................................................................................................................................................23, 42
tunereadyout............................................................................................................................................................................................23, 41
tunexy3..............................................................................................................................................................................................................26
turn on laser.....................................................................................................................................................................................................74
TX0.......................................................................................................................................................................................................................37
TX0-.....................................................................................................................................................................................................................37
TX0+....................................................................................................................................................................................................................37
TX1.......................................................................................................................................................................................................................46
TX1-.....................................................................................................................................................................................................................46
TX1+....................................................................................................................................................................................................................46
Type B...............................................................................................................................................................................................................135
Type D..............................................................................................................................................................................................................136
Type E...............................................................................................................................................................................................................137
Type G..............................................................................................................................................................................................................138

U

u0bits..................................................................................................................................................................................................................22
u0brate...............................................................................................................................................................................................................22
u0bypass.............................................................................................................................................................................................22, 69, 79

163

background image

u0parity..............................................................................................................................................................................................................22
u0stop.................................................................................................................................................................................................................22
u1bits..................................................................................................................................................................................................................23
u1brate...............................................................................................................................................................................................................23
u1parity..............................................................................................................................................................................................................23
UART0................................................................................................................................................................................................................37
UART1..............................................................................................................................................................................................................46f.
USB......................................................................................................................................................................................11f., 15, 27, 68, 94
USC1.................................................................................................................................................................................................................133
USC2.................................................................................................................................................................................................................133
User LED............................................................................................................................................................................................................12

V

Vext...............................................................................................................................................................................................................33, 36
Vext).....................................................................................................................................................................................................................36

W

waiting for external trigger.....................................................................................................................................................................117
waveform...........................................................................................................................................................................................................32
wetout................................................................................................................................................................................................................21
Windows.........................................................................................................................................................................................................13f.

X

X................................................................................................................................................................................................................29f., 46f.
XY2-100......................................................................................................................................................................................103, 110, 148
XY2-100E.............................................................................................................................................................................................104, 148
XY2-200................................................................................................................................................................................................103, 148
XY2-200E.......................................................................................................................................................................................................104
XY3-100..................................................................................................................................................................................................30, 149

Y

Y................................................................................................................................................................................................................29f., 46f.
YAG.....................................................................................................................................................................................................31, 62, 104
YDFLP.................................................................................................................................................................................................................53
YLM......................................................................................................................................................................................................................56
YLP.......................................................................................................................................................................................................................53

Z

Z..........................................................................................................................................................................................................................29f.

 Extension Board.........................................................................................................................................................................................119

.

.bco....................................................................................................................................................................................................................100
.bco,......................................................................................................................................................................................................................19
.crt..............................................................................................................................................................................................................19, 100
.ct5.............................................................................................................................................................................................................19, 100
.ctb..............................................................................................................................................................................................................19, 100
.fcr......................................................................................................................................................................................................................100
.gcd.............................................................................................................................................................................................................19, 100
.txt..............................................................................................................................................................................................................19, 100
.ucf..............................................................................................................................................................................................................19, 100
.xml.............................................................................................................................................................................................................19, 100

164